![]()
SINGLE DISHDRAWER™ DISHWASHER
______
INTEGRATED
DD60SHTI9
INSTALLATION GUIDE
CN
SAFETY AND WARNINGS
![]() | Electric Shock Hazard Failure to follow this advice may result in electrical shock or death.
|
![]() | Electric Shock Hazard Failure to follow this advice may result in electrical shock or death.
|
![]() | Cut Hazard Failure to use caution could result in injury.
|
WARNING!
To reduce the risk of fire, injury to persons or damage when using the appliance, follow the important safety instructions listed below. Read all the guidance before using the appliance.
Servicing
- Do not repair or replace any part of the appliance unless specifically recommended in this guide. All other servicing should be undertaken be a Fisher & Paykel trained and supported service technician or qualified person.
Installation
- Ensure all water connections are turned OFF. It is the responsibility of the plumber and electrician to ensure that each installation complies with all Codes and Regulations.
- The dishwasher MUST be installed to allow for future removal from the enclosure if service is required.
- The switched power outlet must be outside the dishwasher cavity, so that it is accessible after installation.
- This dishwasher is manufactured for indoor use only.
- Care should be taken when the appliance is installed or removed to reduce the likelihood of damage to the power supply cord and hoses.
- If the dishwasher is to be relocated from one installation to another it must be kept upright to avoid damage from water spillage.
- Make sure only new hoses are used for connection (supplied with the dishwasher). Old hoses should not be reused.
- Failure to install the dishwasher correctly could invalidate any warranty or liability claims.
- Ensure the dishwasher is placed between cabinetry. Failure to do so may result in an unstable product, which may cause damage or injury.
- Do not operate this appliance if it is damaged, malfunctioning, partially disassembled or has missing or broken parts, including a damaged power supply cord or plug.
- Do not store or use petrol, or other flammable vapours and liquids in the vicinity of the dishwasher.
- Connect to a properly rated, protected and sized power supply circuit to avoid electrical overload.
- Make sure that the power supply cord is located so that it will not be stepped on, tripped over or otherwise subject to damage or stress.
- Do not install or store the dishwasher where it will be exposed to temperatures below freezing or exposed to weather.
- Do not use an extension cord or a portable electrical outlet device (e.g. multi-socket outlet box) to connect the dishwasher to the power supply.
- This appliance must be earthed. In the event of a malfunction or breakdown, earthing will reduce the risk of electric shock by providing a path of least resistance for electric current.
- This appliance is equipped with a cord having an equipment-earthing conductor and a earthing plug. The plug must be plugged into an appropriate outlet that is installed and earthed in accordance with all local codes and ordinances.
- EARTHING INSTRUCTIONS – This appliance must be connected to a earthed metal, permanent wiring system, or an equipment-earthing conductor must be run with the circuit conductors and connected to the equipment-earthing terminal or lead on the appliance.
- Ensure the product is not plugged in when fitting custom panels.
- Installation of custom panels requires basic mechanical and electrical skills.
- Installation must comply with your local building and electricity regulations.
- Failure to install the custom panels correctly could invalidate any warranty or liability claims.
- Installation of this dishwasher requires basic mechanical and electrical skills.
- Be sure to leave these Instructions with the Customer.
- Installation must comply with your local building and electricity regulations.
- At the completion of the dishwasher installation, the Installer must perform the Final Checklist.
- Remove all packaging materials supplied with the dishwasher.
- If the product is installed in a motor vehicle, boat or similar mobile facility, you must bring the vehicle, boat or mobile facility containing the product to the service shop at your expense or pay the service technician’s travel to the location of the product.
SAVE THESE INSTRUCTIONS
The models shown in this installation guide may not be available in all markets and are subject to change at any time. For current details about model and specification availability in your country, please go to our website www.fisherpaykel.com or contact your local Fisher & Paykel dealer.
TOOLS AND COMPONENTS
PARTS SUPPLIED
- Keep all packing materials until the unit has been inspected.
- Inspect the product to ensure there is no shipping damage. If any damage is detected contact the dealer or retailer you bought the product from to report the damage.
- Fisher & Paykel is not responsible for shipping damage.
Supplied

Side mounting bracket kits (2)* Moisture protection tape (1)

16mm Phillips screws (16) 38mm bottom fixing screws and washers (2)

Inlet hose rubber washer (1)** Drain hose support (1)

Drain hose joiner (1) Panel bracket kits (1)**

Wire clip (1) Clamp (1)

External venting kit (1) Trim bracket*
*Optional | **Comes fitted to the product
TOOLS REQUIRED
Not supplied

Flat-blade screwdriver Powered driver Box cutter Pencil



Level Pliers Phillips screwdriver
INSTALL VIDEO
This video provides an overview of what is needed to install a DishDrawer™ Dishwasher. It is intended as an overview only of the installation process and is not intended to be used as a standalone guide on how to install a DishDrawer™ Dishwasher yourself. Installation should be undertaken by a Fisher & Paykel trained and supported service technician or qualified person.
To access installation videos
Scan the QR code with your smartphone or watch online at: fisherpaykel.com/dishdrawer-install
PRODUCT DIMENSIONS – DD60SI MODELS

PLAN ISOMETRIC

FRONT PROFILE
| PRODUCT DIMENSIONS | DD60STI |
MM | |
| (A) Overall height | 454 |
| (B) Overall width | 599 |
| (C) Overall depth* | 571 |
| (D) Depth of chassis | 553 |
| (E) Front panel depth** | 16 – 20 |
| (F) Max. drawer extension*** | 527 |
*based on front panel thickness of 18mm
**refer to ‘Custom panel dimensions’ for more information
***excluding custom panel and handle
Actual product dimensions may vary by ± 2 mm
CUSTOM PANEL DIMENSIONS
Material specifications
- Maximum weight of panel must not exceed 9kg (including handle)
- The panel should be adequately sealed to withstand moisture (50°C @ 80% RH). The back and sides of the panel should be completely sealed with a waterproof vapour barrier, such as polyurethane, to prevent damage.
- The back of the panel should be completely flush so that the seal between the panel and the rubber trim is maintained. The door panel should not rest on the surrounding cabinetry.
- Installation outside these specifications may result in condensation on cabinetry surfaces.

ISO PROFILE
| CUSTOM PANEL CONSIDERATIONS | MM |
| (A) Minimum panel height | 452 |
| (B) Minimum panel width | 596 |
| (C) Panel depth | 16 – 20 |
| (D) Minimum clearance between base of door panel and cabinetry | 2 |
| (E) Minimum clearance between top of door panel and countertop | 2 |
| Maximum weight of each drawer panel (including handle) | 9kg |
*Core panel dimension. Panel can be extended or lowered to suit installation
CABINETRY
DIMENSIONS

ISOMETRIC
- Connections can be located in an adjacent cabinet on either side of the DishDrawer™ Dishwasher***
| CABINETRY DIMENSIONS | TALL MODELS |
MM | |
| (A) Minimum inside height | min. 456 |
| (B) Inside width | 600 |
| (C) Minimum overall depth* | 579 |
| (D) Minimum toe kick height** | 100 |
*including 19mm door panels on adjacent cabinetry
**when venting through the same or adjacent cabinet. Refer to ‘External venting preparation’ for more information.
***for more information on service requirements, refer to ‘Plumbing & electrical considerations’ and ‘Cabinetry preparation’.
CLEARANCES

PLAN
| CABINETRY CLEARANCES | MM |
| (A) Minimum clearance to adjacent cupboard door | 2 |
| (B) Minimum clearance to corner cupboard | 13 |
PLUMBING & ELECTRICAL CONSIDERATIONS
Hose and cord lengths
- Your services can be installed to either the left-hand or right-hand side of the product in an adjacent cabinet. Refer to ‘Cabinetry preparation’ for service access requirements.
- If the drain hoses supplied are not long enough to reach your services, you may purchase a Fisher & Paykel drain hose extension kit which will extend the drain hoses by 3.6m (part number 525798).
Water connection
- Recommended water temperature: Cold (maximum 60°C)
- 3/4″ BSP (GB20) to suit flat washer
- Ensure water connection complies with local plumbing regulations.
Water pressure
- Water softener models: max. 1 MPa (145 psi), min. 0.1 MPa (14.5 psi)
- Non-water softener models: max. 1 MPa (145 psi), min. 0.03 MPa (4.3 psi)
Electrical requirements
- 220-240V min 4.8A

| SERVICE DIMENSION | LEFT SIDE* | RIGHT SIDE* |
MM | MM | |
| (A) Length of drain hoses | 2000 | 1800 |
| (B) Length of power cord** | 1650 | 1650 |
| (C) Length of inlet hose | 1650 | 1250 |
| (D) Distance from floor to top of hose support | 750 – 883 | 750 – 883 |
| (E) Minimum distance from floor to end of drain hoses*** | 500 | 500 |
| (F) Minimum inlet hose radius | 200 | 200 |
| (G) Maximum distance from cabinetry centre of electrical outlet | 450 | 450 |
*dimensions taken from the chassis edge where applicable
**excluding plug
***standpipe install illustrated. Distance is the same for all plumbing installs.
CABINETRY PREPARATION
SERVICE ACCESS
- Service holes can be created on either side of the DishDrawer™ Dishwasher cavity as shown below.
- If the hole is created through wood, ensure the edges are smooth and rounded.
- If the hole is created through metal, ensure the edge protector is fitted.

- SHELF*
- REAR WALL
- PROFILE
| SERVICE HOLE DIMENSIONS | MM |
| (A) Maximum distance between rear of cavity and service hole | 5 |
| (B) Maximum distance between shelf* and service hole | 10 |
| (C) Minimum diameter of service hole | 57 |
| (D) If venting through the adjacent cabinetry, the rear edge of the service hole should be enlarged by cutting out the bottom corner | |
*For assisted opening installations, maximum distance should be referenced from the top of the spacer blocks
MOISTURE PROTECTION
(1)
Align the supplied moisture protection tape to the cabinetry as illustrated
Ensure this area is free of debris before carefully applying the tape to the surface.
SIDE PARTITION
(1)
If securing via the drawer removal method, ensure the marked locations provide adequate support.
If there are no side partitions, construct timber bracing to secure the fixings to.
SELECT CABINETRY SECURING METHOD
METHOD A
Secure to cabinetry via brackets
Recommended method*

METHOD B
Secure via drawer removal

*Frameless cabinetry only
EXTERNAL VENTING PREPARATION
To prevent the build up of condensation produced by your DishDrawer™ Dishwasher, the external venting kit must be installed via one of the following options:
THROUGH SAME CABINET
FRAMELESS FRAMED

- custom framed edge

ISO*
- A toe kick height of at least 100mm is required.
- A Ø57mm service hole should be created through the side wall following the guidance under ‘Cabinetry preparation’. In addition to this, a second Ø57mm service hole must be also be created through the shelf and the base of the cavity to route the venting hose through.
- Frameless cabinetry: A 100mm x 200mm cutout must be created at the front of the cabinetry base to secure the duct to.
- Framed cabinetry: A toe kick depth of at least 60mm is required. In addition, a 100mm x 200mm cutout must be created within the adjacent cabinetry base to secure the duct to. This cutout should be set back a minimum of 25mm from the frame edge for optimal venting.
*Frameless install illustrated
THROUGH ADJACENT CABINET
FRAMELESS FRAMED

- custom framed edge

ISO*
- A toe kick height of at least 100mm is required.
- A notched-out Ø57mm service hole should be created through the side wall following the guidance under ‘Cabinetry preparation’.
- Frameless cabinetry: A 100mm x 200mm cutout must be created in the base of the adjacent cabinetry to secure the duct to.
- Framed cabinetry: A toe kick depth of at least 60mm is required. In addition, a 100mm x 200mm cutout must be created within the adjacent cabinetry base to secure the duct to. This cutout should be set back a minimum of 25mm from the frame edge for optimal venting.
*Frameless install illustrated
THROUGH FLOOR
FRAMED & FRAMELESS


ISO
- There is no minimum toe kick height for venting the DishDrawer™ Dishwasher through the floor below the cabinetry, the space below the floor however, must be a sub-area of the house and have adequate airflow.
- A Ø57mm service hole should be created through the side wall following the guidance under ‘Cabinetry preparation’. In addition to this, a Ø57mm service hole must be also be created through the shelf, the base of the cavity and the floor to route the venting hose through.
- The duct is not required for this venting method.
- Ensure all cutout edges are smooth and rounded and the supplied edge protector is fitted if required.
- Ensure cutout in the floor is sealed adequately.
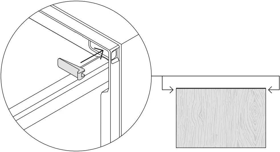
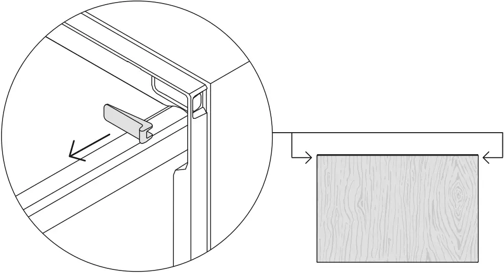
FIT THE TRIM BRACKET
We recommend fitting the trim bracket when installing your DishDrawer™ Dishwasher into a 480mm cavity to conceal any visible gap left between the countertop and chassis.
(1)
Align the bracket to the chassis ensuring the arrow is facing forward and firmly slot the tabs into place to secure.
Ensure the ends of the tabs are not pushed into the chassis.
(2)
Check the trim seal is facing forward and sitting flat under the bracket.
PREPARE EXTERNAL VENTING
FIT THE VENTING HOSE TO THE DISHDRAWER™ DISHWASHER
(1)
Rotate the elbow at the rear of the product to either the left or right depending on your venting location.
- elbow
(2)
Push the vent hose onto the elbow firmly to secure.
TRIM THE DUCT
Framed cabinetry only
(1)
Unscrew the top cover from the vent and set aside.
(2)
On a protected surface, carefully cut and remove the clips from the vent as shown. Refit the top cover.
PUSH THE PRODUCT INTO THE CAVITY
(1)
If securing via bracket method:
Secure all four side brackets to the DishDrawer™ Dishwasher, aligning bracket A with slot A and bracket B with slot B.
Ensure the ends of the brackets are not pushed into the chassis.
(2)
Push the product into the cavity, pulling the hoses through as you push to avoid crushing or twisting them.
SECURE THE VENTING HOSE TO CABINETRY
VENTING THROUGH CABINETRY
Unframed cabinetry
Route the venting hose to the cutout and push onto the duct firmly to secure.
Push the duct onto the cabinetry and secure using the four provided screws.
Framed cabinetry
Route the venting hose to the cutout and push onto the duct firmly to secure.
Place duct into cutout and insert the bracket into vent slot. Secure using the five provided screws.
VENTING THROUGH FLOOR
Route the venting hose through the floor. Ensure any excess hose is removed.
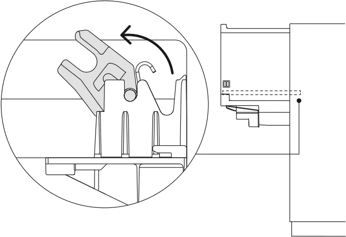
FIT THE CUSTOM PANEL
(1)
Remove both side pins.
(2)
Carefully pull the bracket down and out from DishDrawer™ Dishwasher and unplug the Knock-to-Pause module and earth wire.
Remove the Knock-to-Pause module from the back of the bracket.
(3)
On the back of the panel, mark the centre and align the base of the bracket with the base of the panel.
(4)
Secure the bracket to the panel using a minimum of 3 screws on either side.
(5)
Attach the Knock-to-Pause module to the panel as shown.
Ensure the Knock-to-Pause module is oriented correctly and is not in contact with the bracket before securing.
(6)
Electric shock hazard:
To earth the panel bracket, connect the earth wire from the product to one of the tabs. Any custom metal components (e.g. handle) that extend past the rubber seal must be earthed also.
Reconnect the Knock-to-Pause module to the UI 1 slot on the wash controller as shown. Reconnect the earth wire to the panel bracket before fitting the panel to the product.
(7)
Re-insert both side pins to each drawer.
(8)
Insert a Phillips screwdriver into the hole above the side pin and rotate to adjust the panel alignment. There is a maximum travel distance of ± 2mm.
Repeat on the other side if required.
Ensure the minimum clearance gap of 2mm is maintained and that the door panel does not rest on the surrounding cabinetry when closed.
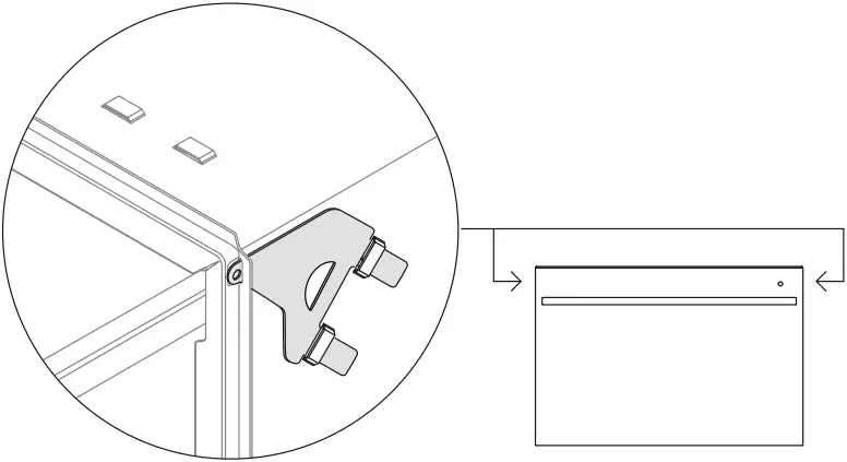
SECURE TO CABINETRY VIA BRACKETS (METHOD A)
(1)
Partially open the drawer and remove the first screw cover from the trim moulding.
(2)
Secure to cabinetry via the brackets. Pre-drilling a pilot hole may be required depending on the cabinetry material.
(3)
Replace the trim cover and repeat for the remaining brackets.
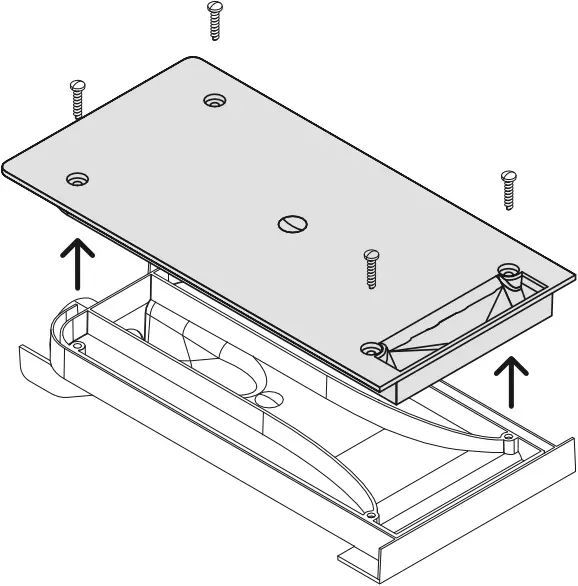
SECURE TO CABINETRY VIA DRAWER REMOVAL (METHOD B)
(1)
Open the drawer and press both locking tabs back to release.
(2)
Lift the drawer off the runners and carefully set aside on a protected surface. Push runners back in.
Take care not to pull drawer out too far to prevent any strain on the hoses. Where possible, protect the base of the tub to prevent damage.
(3)
Secure to cabinetry via all three fixing locations in the chassis.
Ensure sound insulation is replaced correctly.
- 38mm screw and large washer
(4)
Before refitting the drawer, ensure the hoses are not twisted.
Refit the drawer to the runners and clip into place via both locking tabs.
PLUMBING & ELECTRICAL CONNECTION
Ø38MM STANDPIPE INSTALLATION
(1)
Install the drain hose support to the back wall, as close to the underside of the countertop as possible. Refer to ‘Plumbing & electrical considerations’ for minimum install heights.
(2)
Pull the hose through the support guide and rest in standpipe.
Ensure the drain hose does not extend into water retained in the trap; an air gap is required to prevent waste water from siphoning back into the tub.
(3)
Ensure the supplied rubber washer is fitted to the coupling before connecting the inlet hose to tap. Hand-tighten into place.
Using a spanner or pliers, turn a further 180° to secure. Avoiding over-tightening.
Do not turn water supply on. The DishDrawer™ Dishwasher must be powered on for the flood protection feature to be enabled.
(4)
Plug product in.
SINK TRAP/WASTE TEE INSTALLATION
(1)
Install the drain hose support to the back wall, as close to the underside of the countertop as possible. Refer to ‘Plumbing & electrical considerations’ for minimum install heights.
(2)
Pull the hose through the drain hose support before threading the wire clip on to the hose and fitting to the supplied hose joiner. Secure using the wire clips.
Ensure hose is routed straight to the joiner, removing excess drain hose if necessary. Do not shorten the inlet hose.
Unplug or drill out the waste tee before securing joiner to sink trap or waste tee.
(3)
Ensure the supplied rubber washer is fitted to the coupling before connecting the inlet hose to tap. Hand-tighten into place.
Using a spanner or pliers, turn a further 180° to secure. Avoiding over-tightening.
Do not turn water supply on. The DishDrawer™ Dishwasher must be powered on for the flood protection feature to be enabled.
(4)
Plug product in.
INSTALLER CHECKLIST
TO BE COMPLETED BY THE INSTALLER
Installation
Check all parts are installed correctly and are secure.
Ensure DishDrawer™ Dishwasher is securely fastened to the cabinetry and drawer opens and closes freely with no resistance.
Ensure panel is fitted correctly to the DishDrawer™ Dishwasher
Ensure any packaging or tape securing the racks and spray arm is removed.
Check the spray arm is in place, mounted correctly and rotate freely.
Ensure knock-to-pause module is fitted securely and operating correctly.
Plumbing
Ensure any knock-outs or plugs in drain connection have been drilled out and drain connection has been made.
The drain hose joiner must not support the weight of excess hose material. Keep drain hose as fully extended as possible to prevent sagging. Any excess length of drain hose should be kept on the dishwasher side of the highloop.
Ensure inlet hose has supplied rubber washer fitted, and that it’s tightened.
If connecting the drain hose to the sink trap, ensure the highloop is a minimum 150mm higher than the drain hose joiner.
Water softener models: adjust the water softener setting from the default setting to suit the water hardness of the area. Refer to your user guide.
Ensure water supply is turned off until power is connected and turned on. The DishDrawer™ Dishwasher must be powered on for the flood protection feature to be enabled.
Electrical
Ensure all electrical tests have been conducted in accordance with local regulations.
Test operation
Turn on the power and water supplies, then open the drawer. You should hear a beep and see a program indicator light up on the control panel.
Add three cups of water into the drawer.
Navigate to RINSE and start the program.
Repeat for the other drawer.
After the Rinse cycle has finished, ensure the dishwasher has run and drained correctly.
Check the water supply has been shut off correctly.
Check drainage connections for leaks.
If site is left without power after installation is complete, ensure water supply is turned off to prevent flooding.
TROUBLESHOOTING
| DISPLAY | POSSIBLE CAUSE | WHAT TO DO |
![]() RINSE + all modifiers | A1: Water Supply fault. | (1) Ensure the water supply is turned on. (2) Press (3) Press |
![]() DELICATE, RINSE + all modifiers | A3: Drawer cannot drain. The drainage hose may be blocked or kinked, or the connection to drainage pipe may be blocked. | (1) Ensure the drainage hose and connection to pipes are not blocked. (2) Press (3) Press |
![]() FAST, DELICATE + all modifiers | A6: The spray arm has loosened or come off its mounting, or water pressure is too low, or a combination of low water pressure and excessive foaming. | (1) Open the drawer and check the spray arm. (2) If the spray arm has loosened or come off its mounting, re-fit it. Check that it is firmly seated and turns freely. Refer to ‘Maintenance’ in your user guide. (3) Press (4) Press wash program. |
The DishDrawer is beeping continuously
- Refer to the ‘Fault codes’ section of your User guide
No program indicator lights up when the drawer is opened
- Ensure power is connected and is switched on.
- AUTO POWER-ON may need to be activated. Refer to your User guide for details.
Drawer doesn’t close properly
- Ensure nothing is obstructing the drawer from closing such as hoses or drawer latches.
Water appears around water supply and drain connections
- Check hoses, connections and existing plumbing for leaks.
- Check rubber washer and hose clamp are correctly fitted.
Product is tipping
- Ensure the product is secured to the cabinetry.
Front panels are misaligned to surrounding cabinetry
- Check the cabinetry is square. Check and relevel product. Unscrew the product from the cabinetry. Adjust the feet to level the product, then re-secure to the cabinetry.
- If a problem occurs that is not listed, refer to your user guide for additional troubleshooting
If after checking these points, you still need assistance, please refer to the Service & Warranty book for warranty details or contact us through our website fisherpaykel.com
© Fisher & Paykel Appliances 2021. All rights reserved.
The models shown in this guide may not be available in all markets and are subject to change at any time.
The product specifications in this guide apply to the specific products and models described at the date of issue. Under our policy of continuous product improvement, these specifications may change at any time.
For current details about model and specification availability in your country, please go to our website or contact your local Fisher & Paykel dealer.
592775A 11.21
























