FISHER PAYKEL DD24STX6PX1 Single Dishdrawer Dishwasher

SAFETY AND WARNINGS
WARNING!
Electric Shock Hazard
Failure to follow this advice may result in electrical shock or death.
- Before installing the DishDrawer™ Dishwasher, remove the house fuse or open the circuit breaker.
- This appliance must be earthed. In the event of a malfunction or breakdown, earthing will reduce the risk of electric shock by providing a path of least resistance for electric current. This appliance is equipped with a cord having an equipment-earthing conductor and an earthing plug.
- The plug must be plugged into an appropriate outlet that is installed and earthed in accordance with all local codes and ordinances.
- WARNING – Improper connection of the equipment-earthing conductor can result in a risk of electric shock. Check with a qualified electrician or service representative if you are in doubt as to whether the appliance is properly earthed.
- Do not modify the power supply plug provided with the appliance – if it will not fit the outlet, have a proper outlet installed by a qualified electrician. Do not use an extension cord, adapter plug or multiple outlet box.
WARNING!
Cut Hazard
Failure to use caution could result in injury.
- Take care – panel edges are sharp.
WARNING!
To reduce the risk of fire, injury to persons or damage when using the appliance, follow the important safety instructions listed below. Read all the guidance before using the appliance. Servicing
- Do not repair or replace any part of the appliance unless specifically recommended in this guide. All other servicing should be undertaken be a Fisher & Paykel trained and supported service technician or qualified person.
Installation
- Installation of this DishDrawer™ Dishwasher requires basic mechanical and
electrical skills. - Installation must comply with your local building and electricity regulations.
- Be sure to leave these Instructions with the Customer.
- At the completion of the installation, the Installer must perform the Final Checklist.
- This dishwasher is manufactured for indoor use only.
- Ensure all water connections are turned OFF. It is the responsibility of the plumber and electrician to ensure that each installation complies with all Codes and Regulations.
- The DishDrawer™ Dishwasher MUST be installed to allow for future removal from the enclosure if service is required.
- The switched power outlet must be outside the dishwasher cavity, so that it is accessible after installation.
- Care should be taken when the appliance is installed or removed to reduce the likelihood of damage to the power supply cord and hoses.
- If the DishDrawer™ Dishwasher is relocated from one installation site to another it must be kept upright to avoid damage from water spillage.
- Ensure only supplied hoses are used for connection. Old hoses should not be reused.
- Failure to install correctly could invalidate any warranty or liability claims.
- If the product is installed in a motor vehicle, boat or similar mobile facility, you must bring the vehicle, boat or mobile facility containing the product to the service shop at your expense or pay the service technician’s travel to the location of the product.
SAVE THESE INSTRUCTIONS
The models shown in this installation guide may not be available in all markets and are subject to change at any time. For current details about model and specification availability in your country, please go to our website www.fisherpaykel.com or contact your local Fisher & Paykel dealer.
TOOLS AND COMPONENTS
TOOLS AND COMPONENTS
- Keep all packing materials until the unit has been inspected.
- Inspect the product to ensure there is no shipping damage. If any damage is detected contact the dealer or retailer you bought the product from to report the damage.
- Fisher & Paykel is not responsible for shipping damage.
Supplied 
- Side mounting bracket kits (1)*

- Top mounting bracket kit (1)*

- Moisture protection tape (1)

- 5/8″ (16mm) Phillips screws (7)

- 1 1/2″ (38mm) bottom fixing screws and washers (2)

- Rubber washer (1)**

- Drain hose support (1)

- Drain hose joiner (1)

- Wire clip (1)

- Clamp (1)
TOOLS REQUIRED
Not supplied

- Flat-blade screwdriver

- Powered driver

- Box cutter

- Pencil

- Level

- Pliers
INSTALL VIDEO
This video provides an overview of what is needed to install a DishDrawer™ Dishwasher. It is intended as an overview only of the installation process and is not intended to be used as a standalone guide on how to install a DishDrawer™ Dishwasher yourself. Installation should be undertaken by a Fisher & Paykel trained and supported service technician or qualified person.
To access installation videos
Scan the QR code with your smartphone or watch online at: fisherpaykel.com/dishdrawer-install
PRODUCT DIMENSIONS

PLAN
FRONT

ISOMETRIC

PROFILE
- PRODUCT DIMENSIONS INCHES MM
- A Overall height 17 7/8 454
- B Overall width 23 5/8 600
- C Overall depth 22 9/16 573
- D Depth of chassis 21 3/4 553
- E Height of door panel 17 3/8 442
- F Depth of door panel 13/16 19
- G Ventilation gap below door panel 5/16 8
- H Height from top of drawer panel to top of chassis 1/16 2
- I Max. drawer extension from drawer front 21 9/16 547
CABINETRY
DIMENSIONS

ISOMETRIC
CLEARANCES

PLAN
| ISOMETRIC | |||||||
| CABINETRY DIMENSIONS | INCHES | MM | CABINETRY CLEARANCES | INCHES | MM | ||
| A Minimum inside height | 17 15/16 | 456 | A Minimum clearance to adjacent cupboard door | 1/16 | 2 | ||
| B Inside width | 23 5/8 | 600 | B Minimum clearance to corner cupboard | 1/2 | 13 | ||
| C Minimum inside depth* | 22 3/4 | 578 | |||||
| *including 11/16″ (18mm) door panels on adjacent cabinetry **for more information on service requirements, refer to ‘Plumbing & electrical considerations’ and ‘Cabinetry preparation’. | |||||||
PLUMBING & ELECTRICAL CONSIDERATIONS
Hose and cord lengths
- Your services can be installed to either the left-hand or right-hand side of the product in an adjacent cabinet. Refer to ‘Cabinetry preparation’ for service access requirements.
- If the drain hoses supplied are not long enough to reach your services, you may purchase a Fisher & Paykel drain hose extension kit which will extend the drain hoses by 3.6m (part number 525798).
Water connection
- Recommended water temperature: hot (Maximum 140°F/60°C).
- Supplied hose to suit 3/8″ (9 mm) male compression fitting.
- Ensure water connection complies with local plumbing regulations.
Water pressure
- Water softener models: max. 1 MPa (145 psi), min. 0.1 MPa (14.5 psi)
- Non-water softener models: max. 1 MPa (145 psi), min. 0.03 MPa (4.3 psi)
Electrical requirements
- 110-120 VAC max. 15 A

| SERVICE DIMENSION | INCHES | MM | INCHES | MM |
| A Length of drain hoses | 78 1/2 | 2000 | 70 7/8 | 1800 |
| B Length of power cord** | 78 1/2 | 2000 | 78 1/2 | 2000 |
| C Length of inlet hose | 64 3/4 | 1650 | 49 3/16 | 1250 |
| D Distance from floor to top of 29 1/2 – hose support 34 3/4 | 750 – 883 | 29 1/2 – 34 3/4 | 750 – 883 | |
| E Minimum distance from floor to end of 19 11/16 | 500 | 19 11/16 | 500 |
| F Minimum distance from floor to inlet 7 7/8 | 200 | 7 7/8 | 200 |
| G Maximum distance from cabinetry 17 11/16 | 450 | 17 11/16 | 450 |
| H Maximum distance from floor to top of 37 3/8 | 950 | 37 3/8 | 950 |
- dimensions taken from the chassis edge where applicable
- excluding plug
- standpipe install illustrated. Distance is the same for sink trap installations.
HARD-WIRING (OPTIONAL)
You have the option to hard-wire your DishDrawer™ Dishwasher. To do this, we recommend to remove the supplied power cord and do the hardwiring installation as close to the cavity as possible.

- Open the drawer and press both locking tabs back to release.

- Lift the drawer off the runners and carefully set aside on a protected surface. Push runners back in. Take care not to pull drawer out too far to prevent any strain on the hoses. Where possible, protect the base of the tub to prevent damage.

- Remove the screw securing the cover. Set aside.

- Push the upper latch back to unlock using your hand. Release the remaining locking clips using a flat-bladed screwdriver.

- Unscrew the Live, Neutral and Earth wires as illustrated. Ensure the upper Earth wire is not removed.

- Carefully remove the cord from the product. Set toroid aside to for later use.

- Fit a suitable cable clamp for the conduit through the metal knock-out. Route wiring behind the tab and through the toroid removed earlier. Ensure only copper conductors are used.

HARD-WIRING (OPTIONAL)

- Fix the Live and Neutral wires to the terminal block and the Earth wire to the chassis.

- Position the cover fill valve into place before lowering the rest of the cover into position. Lower the cover back into place ensuring the locking clips are aligned, the rear hook is positioned over the slot and the L rib is cleared.

- Lock clips back into place by pressing down on the cover firmly. Ensure all illustrated areas are engaged.

- Refit screw to secure cover.

- Ensure the hoses are not twisted before refitting the drawer to the runners and clipping into place via both locking tabs.
CABINETRY PREPARATION
SERVICE ACCESS
- We recommend locating the service holes on either side of the DishDrawer as shown below.
- If the hole is created through wood, ensure the edges are smooth and rounded
- If the holes is created through metal, ensure the edge protector is fitted.

- SERVICE HOLE DIMENSIONS INCHES MM
- Maximum distance between rear of cavity and service hole 3/16 5
- Maximum distance between shelf and service hole 3/8 10
- Minimum diameter of service hole 2 1/4 57
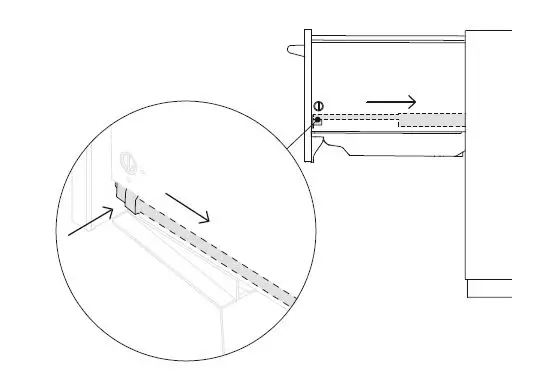
MOISTURE PROTECTION

- Align the supplied moisture protection tape to the cabinetry as illustrated Ensure this area is free of debris before carefully applying the tape to the surface.
SIDE PARTITION

- If securing via the drawer removal method, ensure the marked locations provide adequate support. If there are no side partitions, construct timber bracing to secure the fixings to.
SELECT CABINETRY SECURING METHOD
METHOD A
Secure to cabinetry via brackets Recommended method*

METHOD B
Secure via drawer removal

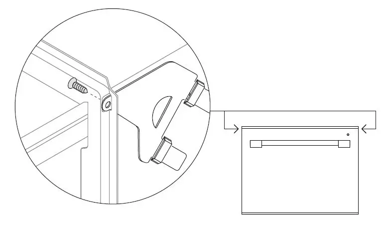
SECURE TO CABINETRY VIA BRACKETS (METHOD A)

- Secure all four side brackets to the DishDrawer™ Dishwasher, aligning bracket A with slot A and bracket B with slot B. Ensure the ends of the brackets are not pushed into the chassis.

- Push the product into the cavity, pulling the hoses through as you push to avoid crushing or twisting them and taking care not to bend the legs. Push the product in the positions illustrated to avoid denting the door.

- Partially open the drawer and remove the first screw cover from the trim molding.

- Secure to cabinetry via the brackets. Pre-drilling a pilot hole may be required depending on the cabinetry material.

- Replace the trim cover and repeat for the remaining brackets.
SECURE TO CABINETRY VIA DRAWER REMOVAL (METHOD B)

- Push the product into the cavity, pulling the hoses through as you push to avoid crushing or twisting them and taking care not to bend the legs. Push the product in the positions illustrated to avoid denting the door.

- Open the drawer and press both locking tabs back to release.

- Lift the drawer off the runners and set aside on a protected surface. Push runners back in. Take care not to pull drawer out too far to prevent any strain on the hoses.

- Secure to cabinetry via all three fixing locations in the tub. Ensure sound insulation is replaced correctly.

- Before refitting the drawer, ensure the hoses are not twisted and the latches at the rear of the drawer are both facing forward.

- Refit the drawer to the runners and clip into place via both locking tabs.
PLUMBING & ELECTRICAL CONNECTION
Ø38MM STANDPIPE INSTALLATION

- Install the drain hose support to the back wall, as close to the underside of the countertop as possible. Refer to ‘Plumbing & electrical considerations’ for minimum install heights.

- Pull the hose through the support guide and rest in standpipe. Ensure the drain hose does not extend into water retained in the trap; an air gap is required to prevent waste water from siphoning back into the tub.

- Ensure the supplied rubber washer is fitted to the coupling before connecting the inlet hose to tap. Hand-tighten into place. Using a spanner or pliers, turn a further 180° to secure. Avoiding over-tightening. Do not turn water supply on. The DishDrawer™ Dishwasher must be powered on for the flood protection feature to be enabled.

- Plug product in.

- Install the drain hose support to the back wall, as close to the underside of the countertop as possible. Refer to ‘Plumbing & electrical considerations’ for minimum install heights.

- Pull the hose through the drain hose support before threading the wire clip on to the hose and fitting to the supplied hose joiner. Secure using the wire clips. Ensure hose is routed straight to the
joiner, removing excess drain hose if necessary. Do not shorten the inlet hose. Unplug or drill out the waste tee before securing joiner to sink trap or waste tee.

- Ensure the supplied rubber washer is fitted to the coupling before connecting the inlet hose to tap. Hand-tighten into place. Using a spanner or pliers, turn a further 180° to secure. Avoiding over-tightening. Do not turn water supply on. The DishDrawer™ Dishwasher must be powered on for the flood protection feature to be enabled.

- Plug product in.
PLUMBING & ELECTRICAL CONNECTION
SINGLE AIR GAP INSTALLATION

- Install your single Air Gap Kit to the benchtop like shown. Refer to ‘Plumbing & electrical considerations’ for minimum install heights.

- Secure the drain hose to the supplied hose joiner and fit to the Air Gap Kit. Ensure hose is routed straight to the joiner, removing excess drain hose if necessary. Unplug or drill out the waste tee before securing to sink trap or waste tee.

- Ensure the supplied rubber washer is fitted to the coupling before connecting the inlet hose to tap. Tighten using a spanner or pliers, avoiding over-tightening. Do not turn water supply on. The
DishDrawer™ Dishwasher must be powered on for the flood protection feature to be enabled.

- Plug product in.
INSTALLER CHECKLIST
INSTALLER CHECKLIST
TO BE COMPLETED BY THE INSTALLER
- Check all parts are installed correctly and are secure.
- Ensure all clearance gaps have been maintained.
- Ensure DishDrawer™ Dishwasher is secure and drawer opens and closes freely with no resistance.
- Ensure any packaging or tape securing the racks and spray arm is removed.
- Check the spray arm is in place, mounted correctly and rotate freely.
- Ensure knock-to-pause module is fitted securely and operating correctly. Installation
Plumbing - Ensure any knock-outs or plugs in drain connection have been drilled out and drain connection has been made.
- The drain hose joiner must not support the weight of excess hose material. Keep drain hose as fully extended as possible to prevent sagging. Any excess length of drain hose should be kept on the dishwasher side of the high-low.
- Ensure inlet hose has supplied rubber washer fitted, and that it’s tightened.
- If connecting the drain hose to the sink trap, ensure the high-low is a minimum 5 7/8″ (150mm) higher than the drain hose joiner.
- Water softener models: adjust the water softener setting from the default setting to suit the water hardness of the area. Refer to your user guide.
- Ensure water supply is turned off until power is connected and turned on. The DishDrawer™ Dishwasher must be powered on for the flood protection feature to be enabled.
Electrical - Ensure all electrical tests have been conducted in accordance with local regulations.
Test operation - Turn on the power and water supplies, then open the drawer. You should hear a beep and see a program indicator light up on the control panel.
- Add three cups of water into the drawer.
- Navigate to RINSE and start the program.
- Repeat for the other drawer.
- After the Rinse cycle has finished, ensure the dishwasher has run and drained correctly.
- Check the water supply has been shut off correctly.
- Check drainage connections for leaks.
- If site is left without power after installation is complete, ensure water supply is turned off to prevent flooding.
TROUBLESHOOTING
FISHERPAYKEL.COM

© Fisher & Paykel Appliances 2022 All rights reserved. The models shown in this guide may not be available in all markets and are subject to change at any time. The product specifications in this guide apply to the specific products and models described at the date of issue. Under our policy of continuous product improvement, these specifications may change at any time. For current details about model and specification availability in your country, please go to our website or contact your local Fisher & Paykel dealer.



















