STAHL 9731/110-1 Coax Bushing

PRODUCT FEATURES
- Connection of standard antennas in Zones 1, 2, 21 and 22 (in conjunction with 9730/26-11)
- Quick and easy installation
- Suitable for extreme industrial environments – IP66 degree of protection, temperature range -60 to +150 °C
WebCode 9731A
The 9731 series coaxial bushing perfectly complements our HF isolator (9730/26-11), as it enables standard antennas to be connected in Zone 1, 2, 21 and 22 hazardous areas with its standard type N plug connector. It can be installed quickly and easily, is compact and robust, and can also be used for offshore applications.
Technical Data
| Explosion Protection | |
| Application range (zones) | 1 2 21 22 |
| IECEx gas certificate | IECEx TRC 15.0001X |
| IECEx gas explosion protection | Ex d IIC Gb |
| IECEx dust certificate | IECEx TRC 15.0001X |
| IECEx dust explosion protection | Ex tb IIIC Db |
| IECEX firedamp certificate | IECEx TRC 15.0001X |
| IECEx firedamp protection | Ex d I Mb |
| ATEX gas certificate | TRAC 15 ATEX 0001 X |
| ATEX gas explosion protection | E II 2 G Ex d IIC Gb |
| ATEX dust certificate | TRAC 15 ATEX 0001 X |
| ATEX dust explosion protection | E II 2 D Ex tb IIIC Db |
| ATEX firedamp certificate | TRAC 15 ATEX 0001 X |
| ATEX firedamp protection | E I M2 Ex d I Mb |
| ATEX firedamp protection 2 | E I M2 Ex I Mb |
| cMETus certificate | E114097 |
| Marking cMETus | Class I, II, III, Div. 1, Groups A, B, C, D, E, F; |
| Certificates | ATEX (TRC), Canada / USA (MET), IECEx (TRC) |
| Electrical Data | |
| Frequency | 150 MHz to 8 GHz |
| Frequency band | Universal |
| Insertion loss | 2.4 GHz/0.8 dB 900 Mhz/0.25 dB 5 GHz/0.8 dB |
| Electrical Data | |
| Insertion loss | Frequency band Universal Frequency 150 MHz 0.1 dB 450 MHz 0.22 dB 900 MHz 0.25 dB 2.4 GHz 0.5 dB 5 GHz 0.8 dB |
| Internal plug connector | SMA female |
| External plug connector | N-type socket |
| Ambient Conditions | |
| Ambient temperature | -60 °C … +150 °C |
| Ambient temperature | -76 °F … +302 °F |
| Storage temperature | -60 °C … +150 °C |
| Storage temperature | -76 °F … +302 °F |
| Maximum relative humidity | 0 to 95%, non-condensing |
| Mechanical Data | |
| Degree of protection (IP) | IP65 |
| Material | Stainless steel |
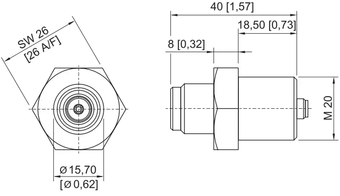
| Thread size | M20 |
| Weight | 0.4 kg |
| Weight | 0.88 lb |
Dimensional Drawings
(All Dimensions in mm [inches]) – Subject to Alterations

Accessories

We reserve the right to make alterations to the technical data, dimensions, weights, designs and products available without notice. The
illustrations cannot be considered binding.
ABOUT COMPANY
- R. STAHL Schaltgeräte GmbH
- Am Bahnhof 30
- 74638 WALDENBURG
- Tel. +49 7942 943 1700
- +49 7942 943 1777
- Email: [email protected]
- r-stahl.com



















