Whammy digitech dt pedal

Caution
These symbols are internationally accepted symbols that warn of potential hazards with electrical products. The lightning flash means that there are dangerous voltages present within the unit. The exclamation point indi-cates that it is necessary for the user to refer to the owner’s manual. These symbols warn that there are no user serviceable parts inside the unit. Do not open the unit. Do not attempt to service the unit yourself. Refer all servicing to qualified personnel. Opening the chassis for any reason will void the manufacturer’s warranty. Do no get the unit wet. If liquid is spilled on the unit, shut it off immediately and take it to a dealer for service. Disconnect the unit during storms to prevent damage.
ELECTROMAGNETIC COMPATIBILITY
This device complies with part 15 of the FCC Rules and the Product Specifications noted on the Declaration of Conformity. Operation is subject to the following two conditions:
- this device may not cause harmful interference, and
- this device must accept any interference received, including interference that may cause undesired operation.
Operation of this unit within significant electromagnetic fields should be avoided.
- use only shielded interconnecting cables.
If you want to dispose this product, do not mix it with general household waste. There is a separate collection system for used electronic products in accordance with legislation that requires proper treatment, recovery and recycling.
Private household in the 25 member states of the EU, in Switzerland and Norway may return their used electronic products free of charge to designated collection facilities or to a retailer (if you purchase a similar new one). For Countries not mentioned above, please contact your local authorities for a correct method of disposal. By doing so you will ensure that your disposed product undergoes the necessary treatment, recovery and recycling and thus prevent potential negative effects on the environment and human health.
Warning
For your protection, please read the following:
Important Safety Instructions
- Read these instructions.
- Keep these instructions.
- Heed all warnings.
- Do not use this apparatus near water.
- Clean only with dry cloth.
- Do not block any ventilation openings. Install in accor-dance with the manufacturer’s instructions.
- Do not install near any heat sources such as radiators, heat registers, stoves, or other apparatus (including amplifiers) that produce heat.
- Protect the power cord from being walked on or pinched particularly at plugs, convenience receptacles, and the point where they exit from the apparatus.
- Unplug this apparatus during lightning storms or when unused for long periods of time.
- No user serviceable parts inside. Refer all servicing to qualified service personnel. Servicing is required when the apparatus has been damaged in any way, such as power-supply cord or plug is damaged, liquid has been spilled or objects have fallen into the apparatus, the apparatus has been exposed to rain or moisture, does not operate normally, or has been dropped.
- WARNING: To reduce the risk of fire or electric shock, do not expose this apparatus to rain or mois-ture.
- Refer to labels on the unit, including bottom cover, or other markings and pertinent information.
DECLARATION OF CONFORMITY
- Manufacturer’s Name: DigiTech
- Manufacturer’s Address: 59 Hwagok-ro 61gil, Gangseo-gu Seoul 07590, Republic of Korea
declares that the product:
- Product name:Whammy
- Product option: all (requires Class II power adapter that conforms to the requirements of EN60065, EN60742, or equivalent.)
conforms to the following Product Specifications:
- Safety: IEC 60065 -01+Amd 1
- EMC: EN 55022:2006
EN 55024:1998
FCC Part 15
Supplementary Information
The product herewith complies with the requirements of the:
- Low Voltage Directive 2006/95/EC
- EMC Directive 2004/108/EC.
- RoHS Directive 2002/95/EC
- WEEE Directive 2002/96/EC
- EC Regulation 278/2009
With regard to Directive 2005/32/EC and EC Regulation 1275/2008 of 17 December 2008, this product is designed, produced, and classified as Professional Audio Equipment and thus is exempt from this Directive.
Contact: Your local DigiTech Sales and Service Office or
CORTEK Corp.
59 Hwagok-ro 61gil, Gangseo-gu Seoul 07590, Republic of Korea [email protected]
Warranty
We at DigiTech® are very proud of our products and back-up each one we sell with the following warranty:
- Please register online at www.digitech.com within ten days of purchase to validate this warranty.
This warranty is valid only in the United States. - DigiTech warrants this product, when purchased new from an authorized U.S. DigiTech dealer and used solely within the U.S., to be free from defects in materials and workmanship under normal use and service. This warranty is valid to the original purchaser only and is non-transferable.
- DigiTech liability under this warranty is limited to repairing or replacing defective materials that show evidence of defect, provided the product is returned to DigiTech WITH RETURN AUTHORIZATION, where all parts and labor will be covered up to a period of one year. A Return Authorization number may be obtained from DigiTech by telephone. The company shall not be liable for any consequential damage as a result of the product’s use in any circuit or assembly.
- Proof-of-purchase is considered to be the responsibility of the consumer. A copy of the original purchase receipt must be provided for any warranty service.
- DigiTech reserves the right to make changes in design, or make additions to, or improvements upon this product without incurring any obligation to install the same on products previously manufactured.
- The consumer forfeits the benefits of this warranty if the product’s main assembly is opened and tampered with by anyone other than a certified DigiTech technician or, if the product is used with AC voltages outside of the range suggested by the manufacturer.
- The foregoing is in lieu of all other warranties, expressed or implied, and DigiTech neither assumes nor authorizes any person to assume any obligation or liability in connection with the sale of this product. In no event shall DigiTech or its dealers be liable for special or consequential damages or from any delay in the performance of this warranty due to causes beyond their control.
NOTE: The information contained in this manual is subject to change at any time without notification. Some information contained in this manual may also be inaccurate due to undocumented changes in the product or operating system since this version of the manual was completed. The information contained in this version of the owner’s manual supersedes all previous versions.
Congratulations on the purchase of your new Whammy™ Pedal. The 5th generation Whammy offers DigiTech’s latest pitch shifting technology, classic Whammy pitch bending effects, and true bypass operation for both guitar and bass. The added Classic/Chords switch toggles between single note and chordal Whammy modes, providing rock solid pitch shifting effects. The Whammy interface features the same legacy Whammy pitch bending options you’re accustomed to along with some additional pitch bend settings from the Whammy DT.
Features
- Whammy Pitch Bending Effects
- Classic Whammy Interface
- Classic/Chords Switch
- True Bypass Operation
- MIDI In for Remote Control of Whammy Effects
- Included Power Supply
Included Items
- Whammy Pedal
- Power Supply
- Owner’s Manual
- Warranty Registration Information Card
If anything is missing, please contact the factory at once.
Guided Tour
Detailed Description
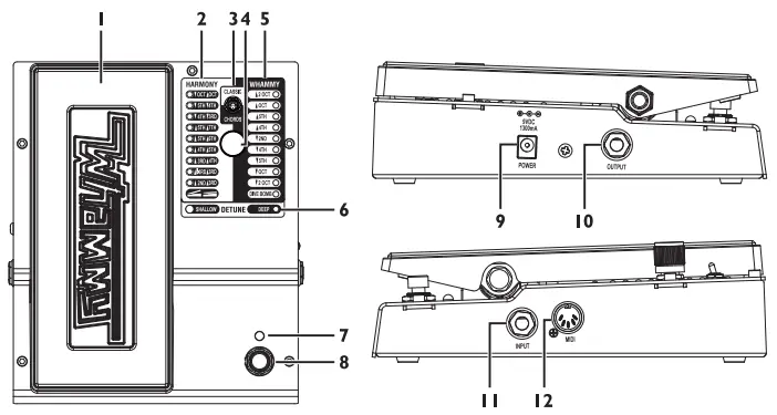
- Expression Pedal
This pedal is used to control the pitch bending amount of the selected Harmony, Whammy, or Detune effect. Rocking it forward (toe down) increases the amount of pitch bending while rocking it back (toe up) decreases the amount of pitch bending. - Harmony LEDs
One of these LEDs will light when a Harmony effect is selected. Harmony effects have dry signal added to the effect signal. - Classic/Chords Switch
This switch toggles between the classic Whammy algorithm (Classic) and modern algorithm from the Whammy DT (Chords). The Classic setting is ideal for single note play while the Chords setting is best suited for bending of full chords. - Selector Knob
This knob is used to select one of the Whammy, Harmony, or Detune effects. - Whammy LEDs
One of these LEDs will light when a Whammy effect is selected. Whammy effects do not have dry signal added to the effect signal. - Detune LEDs
One of these LEDs will light when a Detune effect is selected. The Expression Pedal controls the amount of Detune signal mixed with the dry signal. - Status LED
This LED lights to indicate the effect is on. When the effect is bypassed, this LED will be off. - Effect On/Off Switch
This switch turns the Whammy, Harmony, or Detune effect on and off. - Power Input
Connect the power supply to this jack. Do not use any power supply other than the included power supply. - Output Jack
Connect this jack to another pedal input or the input of an amplifier. - Instrument Input
Connect your instrument to this jack. - MIDI Input
Connect an external MIDI device to this jack for the purpose of controlling the Whammy remotely.
Making Connections
The Whammy pedal is extremely easy to set up and use. Follow these steps to get up and running.
- Connect your instrument to the Whammy’s Input Jack .
- Connect from the Whammy’s Output Jack to your favorite distortion pedal or to your amplifier.
- If using an external MIDI device for control, connect from the MIDI out of the MIDI device to the Whammy’s MIDI Input.
- Connect the included power supply to an AC outlet and the other end to the Whammy’s Power Input.
- Turn on your amp and adjust the volume to the desired level.
- Use the Effect On/Off Footswitch to enable the effect, push the Expression Pedal fully forward (toe down), then rotate the Selector Knob to select the desired effect.

Effects
Whammy Effects
This group of effects will bend your incoming signal either up or down depending upon the effect setting you have chosen. As the Expression Pedal is rocked back and forth, the signal will bend from the original input pitch (toe up), to the pitch specified by the selected effect setting (toe down).

Harmony Effects
This group of effects add a harmony to your incoming signal. Both the harmony note and the input signal are mixed together as if two guitars were playing simultaneously. As you rock the pedal back and forth, the harmony note bends between two intervals specified by the selected effect setting, but the input signal remains unchanged.
- OCT DN/OCT UP – Bends the harmony between one octave below (toe up) and one octave above (toe down) the input note.
- 5TH DN/4TH DN – Bends the harmony between a fifth (toe up) and a fourth (toe down) below the input note.
- 4TH DN/3RD DN – Bends the harmony between a fourth (toe up) and a minor third (toe down) below the input note.
- 5TH UP/7TH UP – Bends the harmony between a fifth (toe up) and a dominant seventh (toe down) above the input note.
- 5TH UP/6TH UP – Bends the harmony between a fifth (toe up) and a sixth (toe down) above the input note.
- 4TH UP/5TH UP – Bends the harmony between a fourth (toe up) and a fifth (toe down) above the input note.
- 3RD UP/4TH UP – Bends the harmony between a third (toe up) and a fourth (toe down) above the input note.
- MIN 3RD UP/3RD UP – Bends the harmony between a minor third (toe up) and a major third (toe down) above the input note.
- 2ND UP/3RD UP – Bends the harmony between a second (toe up) and a third (toe down) above the input note.
Detune Effects
This group of effects create a copy of your input signal, shift the pitch of the copied signal, then mix it back with the original signal. As the Expression Pedal is rocked back and forth, the level of this detuned signal is changed. With the pedal in the toe up position, only the original dry signal is heard. As the pedal is rocked forward, more of the detuned signal is mixed with the dry signal.
- SHALLOW – The copied signal is slightly detuned from the original pitch.
- DEEP – The copied signal is substantially detuned from the original pitch.
MIDI Functions
The Whammy features a MIDI input for receiving incoming MIDI data. MIDI messages can select a Whammy effect and set whether the effect is in an active or bypassed state. MIDI CC messages can then be used to control the Whammy Expression Pedal position.
MIDI Channel
The Whammy can receive MIDI messages on any, or all MIDI channels. The following steps outline the procedure for accessing or changing the MIDI channel.
- Disconnect the power from the Whammy pedal.
- Press and hold the Effect On/Off Footswitch while reconnecting the power. One of the Effect LEDs will begin to flash indicating the currently selected MIDI channel.
- Using the reference chart below, rotate the Selector Knob to select the desired MIDI channel.
- Press the Effect On/Off Footswitch again to exit the MIDI set up menu.

MIDI Program Changes
The Whammy uses MIDI Program Change commands for effect selection. Effects can be selected in either an active or bypassed state. The following illustrations show the MIDI Program Change mappings for Classic mode and Chords mode. Effects MIDI Program Change Mapping (Classic Mode) When set to Classic mode, the following illustration outlines the Program Change commands recognized by the Whammy and the corresponding effect setting and its status.
Effects MIDI Program Change Mapping (Chords Mode)
When set to Chords mode, the following illustration outlines the Program Change commands recognized by the Whammy and the corresponding effect setting and its status.
MIDI Continuous Control
Using MIDI continuous control commands, the Whammy’s Expression Pedal position can be remotely controlled. MIDI CC11 adjusts the Expression Pedal position. A value of 0 on MIDI CC11 corresponds to a toe up position and a value of 127 corresponds to a toe down position.
Calibrating the Expression Pedal
In the unlikely event that the Expression Pedal does not respond properly or that the note does not bend or return to the correct pitch, it may need to be re-calibrated. The following steps outline the procedure for Expression Pedal re-calibration:
- Disconnect the power from the Whammy pedal.
- Press and hold the WHAMMY Effect Footswitch while reconnecting the power. This enables MIDI and Calibration Setup. Wait for one of the WHAMMY Effect LEDs to begin flashing (indicating the currently selected MIDI channel) then release the footswitch.
- Rock the Expression Pedal fully forward (toe down) and fully back (toe up) at least two times. The 4 HARMONY LEDs will light back and forth (from 5TH UP/7TH UP to OCT DN/OCT UP) as the pedal is rocked indicating the pedal is calibrating.
- When finished, press the WHAMMY Effect Footswitch again to exit the MIDI and Calibration set up and return to normal operation.
Specifications
- Instrument Input Type: 1/4” Unbalanced TS
- Max Input Level: +5 dBu
- Input Impedance: 1 MΩ
- MIDI Input: 5-Pin Din
- Output Type: 1/4” Unbalanced TS
- Max Output Level: +10 dBu
- Output Impedance: 1 kΩ
- Sample Rate: 44.1 kHz
- Frequency Response: 20 Hz to 20 kHz
- Signal to Noise Ratio: > -105 dB (A weighted); ref = max level, 22 kHz bandwidth
- THD: 0.004% @ 1 kHz; ref = 1 dBu w/ unity gain
- A/D Conversion: 24 bit
- D/A Conversion: 24 bit
- Power Consumption: 2.4 Watts (< 265 mA @ 9 VDC)
- Power Requirements: 9 VDC External Adapter
- Power Adapter: PS0913DC-01 (US, JA, EU)
PS0913DC-02 (AU, UK)
PS0913DC-04 (US, JA, EU, AU, UK) - Dimensions: 6.5” (W) x 7.75” (D) x 2.5” (H)
- Shipping Weight: 3.6 lbs.
DigiTech
59 Hwagok-ro 61gil, Gangseo-gu Seoul 07590, Republic of Korea
[email protected]
DigiTech and Whammy are trademarks of CORTEK Corp.
Copyright CORTEK Corp. – All rights reserved
Printed in China
Whammy Owner’s Manual 5021752-B
Please visit our website at: www.digitech.com





















