digitech Bass Whammy Effect Pedal Owner’s Manual

Congratulations
on the purchase of your new Bass Whammy™ Pedal. Designed specifically for bass, the Bass Whammy offers DigiTech’s latest pitch shifting technology, classic Whammy pitch bending effects, and true bypass operation. The added Classic/Chords switch toggles between single note and chordal Whammy modes, providing rock solid pitch shifting effects.
The Bass Whammy interface features the same legacy Bass Whammy pitch bending options you’re accustomed to along with some additional pitch bend settings from its guitar counterpart.
Features:
- Whammy Pitch Bending Effects
- Classic Whammy Interface
- Classic/Chords Switch
- True Bypass Operation
- MIDI In for Remote Control of Whammy Effects
- Included Power Supply
Included Items:
- Bass Whammy Pedal
- Power Supply
- Warranty Registration Information Card
If anything is missing, please contact the factory at once.
Guided Tour
Detailed Description
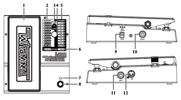
1 Expression Pedal
This pedal is used to control the pitch bending amount of the selected Harmony, Whammy, or Detune effect. Rocking it forward (toe down) increases the amount of pitch bending while rocking it back (toe up) decreases the amount of pitch bending.
2.Harmony LEDs
One of these LEDs will light when a Harmony effect is selected. Harmony effects have dry signal added to the effect signal.
3. Classic/Chords Switch
This switch toggles between the classic Whammy algorithm (Classic) and modern chordal algorithm (Chords). The Classic setting is ideal for single note play while the Chords setting is best suited for bending of full chords.
4. Selector Knob
This knob is used to select one of the Whammy, Harmony, or Detune effects.
5. Whammy LEDs
One of these LEDs will light when a Whammy effect is selected. Whammy effects do not have dry signal added to the effect signal.
6. Detune LEDs
One of these LEDs will light when a Detune effect is selected. The Expression Pedal controls the amount of Detune signal mixed with the dry signal.
7. Status LED
This LED lights to indicate the effect is on. When the effect is bypassed, this LED will be off.
8. Effect On/Off Footswitch
This switch turns the Whammy, Harmony, or Detune effect on and off.
9. Power Input
Connect the power supply to this jack. Do not use any power supply other than the included power supply.
10. Output Jack
Connect this jack to another pedal input or the input of an amplifier.
11. Instrument Input
Connect your instrument to this jack.
12. MIDI Input
Connect an external MIDI device to this jack for the purpose of controlling the Bass Whammy remotely.
Making Connections
The Bass Whammy pedal is extremely easy to set up and use. Follow these steps to get up and running.
- Connect your instrument to the Bass Whammy’s Input Jack.
- Connect from the Bass Whammy’s Output Jack to your favorite distortion pedal or to your amplier.
- If using an external MIDI device for control, connect from the MIDI out of the MIDI device to the Bass Whammy’s MIDI Input.
- connect the included power supply to an AC outlet and the other end to the Bass
Whammy’s Power Input. - Turn on your amp and adjust the volume to the desired level.
- Use the Efect On/O Footswitch to enable the efect, rotate the Selector Knob to select the desired efect, and rock the Expression pedal.

Effects
Whammy Effects
This group of effects will bend your incoming signal either up or down depending upon the effect setting you have chosen. As the Expression Pedal is rocked back and forth, the signal will bend
from the original input pitch (toe up), to the pitch speciffed by the selected effect setting (toe\ down).
2 OCT UP – Bends your input note two octaves up.
1 OCT UP – Bends your input note one octave up.
5TH UP – Bends the input note 7 semitones (5th interval) up.
4TH UP – Bends the input note 5 semitones (4th interval) up.
2ND UP – Bends the input note 2 semitones (2nd interval) up
2ND DN – Bends the input note 2 semitones (2nd interval) down.
4TH DN – Bends the input note 5 semitones (4th interval) down.
5TH DN – Bends the input note 7 semitones (5th interval) down.
1 OCT DN – Bends your input note one octave down.
DIVE BOMB – Bends your input note three octaves down.
Harmony Effects
This group of effects add a harmony to your incoming signal. Both the harmony note and the input signal are mixed together as if two basses were playing simultaneously. As you rock the pedal back
and forth, the harmony note bends between two intervals speciffed by the selected effect setting, but the input signal remains unchanged.
OCT UP/2 OCT UP– Bends the harmony between one octave above (toe up) and 2 octaves above (toe down) the input note.
OCT UP/10TH UP – Bends the harmony between an octave above (toe up) nd a 10th above (toe down) below the input note.
OCT DN/OCT UP – Bends the harmony between an octave below (toe up) and a octave above (toe down) the input note.
OCT DN/4TH DN – Bends the harmony between an octave below (toe up) and a fourth below (toe down) the input note.
5TH UP/OCT UP – Bends the harmony between a fifth above (toe up) and an octave above (toe down) the input note.
5TH UP/6TH UP – Bends the harmony between a fifth above (toe up) and an sixth above (toe down) the input note.
5TH DN/5TH UP – Bends the harmony between a fifth below (toe up) and a fifth above (toe down) the input note.
4TH DN/5TH UP – Bends the harmony between a fourth below (toe up) and a 5th above (toe down) the input note.
4TH DN/3RD UP – Bends the harmony between a fourth below (toe up) and a major third above (toe down) the input note.
Detune Effects
This group of effects create a copy of your input signal, shift the pitch of the copied signal, then mix it back with the original signal. As the Expression Pedal is rocked back and forth, the level of this detuned signal is changed. With the pedal in the toe up position, only the original dry signal is heard. As the pedal is rocked forward, more of the detuned signal is mixed with the dry signal.
SHALLOW – The copied signal is slightly detuned from the original pitch.
DEEP – The copied signal is substantially detuned from the original pitch.
MIDI Functions
The Bass Whammy features a MIDI input for receiving incoming MIDI data. MIDI messages can select a Whammy effect and set whether the effect is in an active or bypassed state. MIDI CC messages can then be used to control the Bass Whammy Expression Pedal position.
MIDI Channel
The Bass Whammy can receive MIDI messages on any, or all MIDI channels. The following steps outline the procedure for accessing or changing the MIDI channel.
- Disconnect the power from the Bass Whammy
- Press and hold the Effect On/Off Footswitch while reconnecting the One of the
Effect LEDs will begin to flash indicating the currently selected MIDI channel.
- Using the reference chart below, rotate the Selector Knob to select the desired MIDI
- Press the Effect On/Off Footswitch again to exit the MIDI set up
MIDI Program Changes
The Bass Whammy uses MIDI Program Change commands for effect selection. Effects can be selected in either an active or bypassed state. The following illustrations show the MIDI Program Change mappings for Classic mode and Chords mode.
Effects MIDI Program Change Mapping (Classic Mode)
When set to Classic mode, the following illustration outlines the Program Change commands recognized by the Bass Whammy and the corresponding effect setting and its status.
Effects MIDI Program Change Mapping (Chords Mode)
When set to Chords mode, the following illustration outlines the Program Change commands recognized by the Bass Whammy and the corresponding effect setting and its status.
MIDI Continuous Control
Using MIDI continuous control commands, the Bass Whammy’s Expression Pedal position can be remotely controlled. MIDI CC11 adjusts the Expression Pedal position. A value of 0 on MIDI CC11 corresponds to a toe up position and a value of 127 corresponds to a toe down position.
Calibrating the Expression Pedal
In the unlikely event that the Expression Pedal does not respond properly or that the note does not bend or return to the correct pitch, it may need to be re-calibrated. The following steps outline the procedure for Expression Pedal re-calibration:
- Disconnect the power from the Bass Whammy
- Press and hold the Effect On/Off Footswitch while reconnecting the This enables MIDI and Calibration Setup. Wait for one of the Whammy, Detune, or Harmony LEDs to begin flashing (indicating the currently selected MIDI channel) then release the footswitch.
- Rock the Expression Pedal fully forward (toe down) and fully back (toe up) at least two The 4 Harmony LEDs will light back and forth (from OCT DN/4TH DN to OCT UP/2 OCT UP) as the pedal is rocked indicating the pedal is calibrating.
- When finished, press the Effect On/Off Footswitch again to exit the MIDI and Calibration set up and return to normal
Specifications
Instrument Input Type: 1/4” Unbalanced TS
Max Input Level: +5 dBu
Input Impedance: 1 ML
MIDI Input: 5-Pin Din
Output Type: 1/4” Unbalanced TS
Max Output Level: +10 dBu
Output Impedance: 1 kL
Sample Rate: 44.1 kHz
Frequency Response: 20 Hz to 20 kHz
Signal to Noise Ratio: > -105 dB (A weighted); ref = max level, 22 kHz bandwidth
THD: 0.004% @ 1 kHz; ref = 1 dBu w/ unity gain
A/D Conversion: 24 bit
D/A Conversion: 24 bit
Power Consumption: 2.4 Watts (< 265 mA @ 9 VDC)
Power Requirements: 9 VDC External Adapter
Power Adapter: PS0913DC-01 (US, JA, EU) PS0913DC-02 (AU, UK)
PS0913DC-04 (US, JA, EU, AU, UK)
Dimensions: 6.5” (W) x 7.75” (D) x 2.5” (H)
Shipping Weight: 3.6 lbs.

























