DIGITECH Whammy DT Drop Tuning Pedal

CAUTION 
RISK OF ELECTRIC SHOCK DO NOT OPEN
ATTENTION: RISQUE DE CHOC ELECTRIQUE. NE PAS OUVRIR
WARNING: TO REDUCE THE RISK OF FIRE OR ELECTRIC SHOCK DO NOT EXPOSE THIS EQUIPMENT TO RAIN OR MOISTURE
These symbols are internationally accepted symbols that warn of potential hazards with electrical products. The lightning flash means that there are dangerous voltages present within the unit. The exclamation point indicates that it is necessary for the user to refer to the owner’s manual. These symbols warn that there are no user serviceable parts inside the unit. Do not open the unit. Do not attempt to service the unit yourself. Refer all servicing to qualified personnel. Opening the chassis for any reason will void the manufacturer’s warranty. Do no get the unit wet. If liquid is spilled on the unit, shut it off immediately and take it to a dealer for service.
Disconnect the unit during storms to prevent damage.
ELECTROMAGNETIC COMPATIBILITY
This device complies with part l S of the FCC Rules and the Product Specifications noted on the Declaration of Conformity. Operation is subject to the following two conditions:
- this device may not cause harmful interference, and
- this device must accept any interference received, including interference that may cause undesired operation.
Operation of this unit within significant electromagnetic fields should be avoided.
- use only shielded interconnecting cables.
If you want to dispose this product, do not mix it with general household waste. There is a separate collection system for used electronic products in accordance with legislation that requires proper treatment, recovery and recycling.
Private household in the 25 member states of the EU, in Switzerland and Norway may return their used electronic products free of charge to designated collection facilities or to a retailer (if you purchase a similar new one).
For Countries not mentioned above, please contact your local authorities for a correct method of disposal. By doing so you will ensure that your disposed product undergoes the necessary treatment, recovery and recycling and thus prevent potential negative effects on the environment and human health.
Warning
For your protection, please read the following:
Important Safety Instructions
- Read these instructions.
- Keep these instructions.
- Heed all warnings.
- Do not use this apparatus near water.
- Clean only with dry cloth.
- Do not block any ventilation openings. Install in accordance with the manufacturer’s instructions.
- Do not install near any heat sources such as radiators, heat registers, stoves, or other apparatus (including amplifiers) that produce heat.
- Protect the power cord from being walked on or pinched particularly at plugs, convenience receptacles, and the point where they exit from the apparatus.
- Unplug this apparatus during lightning storms or when unused for long periods of time.
- No user serviceable parts inside. Refer all servicing to qualified service personnel. Servicing is required when the apparatus has been damaged in any way, such as power-supply cord or plug is damaged, liquid has been spilled or objects have fallen into the apparatus, the apparatus has been exposed to rain or moisture, does not operate normally, or has been dropped.
- WARNING: To reduce the risk of fire or electric shock, do not expose this apparatus to rain or moisture.
- Refer to labels on the unit, including bottom cover, or other markings and pertinent information.
DECLARATION OF CONFORMITY
Manufacturer’s Name: DigiTech
Manufacturer’s Address: 59 Hwagok-ro 61gil, Gangseo-gu Seoul 07590, Republic of Korea
declares that the product:
Product name: Whammy DT
Product option: all (requires Class II power adapter that conforms to the requirements of EN60065, EN60742, or equivalent.)
conforms to the following Product Specifications:
Safety: IEC 60065 -01 +Amd 1
EMC: EN 55022:2006
EN 55024:1998
FCC Part 15
Supplementary Information:
The product herewith complies with the requirements of the:
Low Voltage Directive 2006/95/EC
EMC Directive 2004/108/EC.
RoH5 Directive 2002/95/EC
WEEE Directive 2002/96/EC
EC Regulation 278/2009
With regard to Directive 2005/32/EC and EC Regulation 1275/2008 of 17 December 2008, this product is designed, produced, and classified as Professional Audio Equipment and thus is exempt from this Directive.
Warranty
We at DigiTech® are very proud of our products and back-up each one we sell with the following warranty:
- Please register online at www.digitech.com within ten days of purchase to validate this warranty. This warranty is valid only in the United States.
- DigiTech warrants this product, when purchased new from an authorized U.S. DigiTech dealer and used solely within the U.S., to be free from defects in materials and workmanship under normal use and service. This warranty is valid to the original purchaser only and is non-transferable.
- DigiTech liability under this warranty is limited to repairing or replacing defective materials that show evidence of defect, provided the product is returned to DigiTech WITH RETURN AUTHORIZATION, where all parts and labor will be covered up to a period of one year. A Return Authorization number may be obtained from DigiTech by telephone. The company shall not be liable for any consequential damage as a result of the product’s use in any circuit or assembly.
- Proof-of-purchase is considered to be the responsibility of the consumer. A copy of the original purchase receipt must be provided for any warranty service.
- DigiTech reserves the right to make changes in design, or make additions to, or improvements upon this product without incurring any obligation to install the same on products previously manufactured.
- The consumer forfeits the benefits of this warranty if the product’s main assembly is opened and tampered with by anyone other than a certified DigiTech technician or, if the product is used with AC voltages outside of the range suggested by the manufacturer.
- The foregoing is in lieu of all other warranties, expressed or implied, and DigiTech neither assumes nor authorizes any person to assume any obligation or liability in connection with the sale of this product. In no event shall DigiTech or its dealers be liable for special or consequential damages or from any delay in the performance of this warranty due to causes beyond their control.
NOTE: The information contained in this manual is subject to change at any time without notification. Some information contained in this manual may also be inaccurate due to undocumented changes in the product or operating system since this version of the manual was completed. The information contained in this version of the owner’s manual supersedes all previous versions.
Introduction
Congratulations on the purchase of your new Whammy™ DT Pedal. When DigiTech invented the Whammy pedal, it was the most revolutionary and innovative pedal to hit the guitar since the wah wah. We have now taken the Whammy innovation even further with the introduction of the Whammy DT. The Whammy DT offers the same great Whammy effects as the original Whammy, but takes your sound to a whole new level by adding the following:
- Additional Whammy effects
- Drop Tune and Raised Tuning effects for instant polyphonic re-tuning of your bass or guitar
- Momentary switch for hammer-on/pull-off effects
- Switchable True Bypass and DSP Bypass modes
- Footswitch Input Jack for hands free operation using the optional FS3X Footswitch
Although the Whammy DT has an extremely intuitive user interface, this owner’s manual will help you understand the Whammy DT functions and allow you to get the most out of your purchase for years to come.
Included Items
The utmost care was taken while your Whammy DT was being manufactured. Everything should be included and in perfect working order. Before you get started, please make sure that the following items have been included:
- Whammy DT Pedal
- Power Supply
- Owner’s Manual
- Warranty Registration Information Card
If anything is missing, contact the factory at once. Please take a moment to complete your warranty card. It is your safeguard should a problem arise with your Whammy.
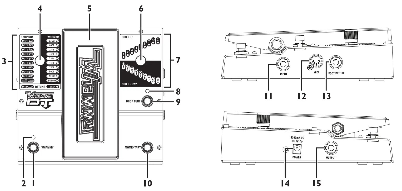
Guided Tour
Detailed Description

- Whammy Effect Switch
This switch turns the Whammy, Harmony or Detune effect on or off. - Whammy Effect Status LED
This LED lights to indicate the Whammy, Harmony or Detune effect is on. When the Whammy effect is bypassed, this LED will be off. - Whammy LEDs
One of these LEDs will light when a Harmony, Whammy or Detune effect is selected. Harmony effects have dry signal added to the effect signal. Whammy and Detune effects do not have dry signal added to the effect signal. - Whammy Effect Selector Knob
This knob is used to select the Whammy (bend), Harmony intervals, or Detune range controlled by the expression pedal. - Expression Pedal
This pedal is used to control the pitch bending amount of the selected Harmony, Whammy, or Detune effect. Rocking it forward (toe down) increases the amount of pitch bending while rocking it back (toe up) decreases the amount of pitch bending. - Drop Tune Effect Selector
This knob selects the shift interval for the Drop Tune effect. - Drop Tune LEDs
One of these LEDs will light when a Drop Tune effect is selected. - Drop Tune Effect Status LED
This LED lights to indicate the Drop Tune effect is on. When the Drop Tune effect is bypassed, this LED will be off. - Drop Tune Effect Switch
This switch turns the Drop Tune effect on and off. - Momentary Switch
This switch momentarily turns the Drop Tune effect on or off to create hammer-on and pull-off style shifting effects. - Instrument Input
Connect your instrument to this jack. - MIDI Input
Connect any external MIDI device to this jack for the purpose of controlling the Whammy remotely. - Footswitch Input
An optional FS3X Footswitch can be plugged in here for hands free effect selection (see page 18 for more information). - Power Input
Connect the provided power supply to this jack. Do not use any power supply other than the supplied power supply. - Output Jack
This jack contains a mix of your dry guitar signal and the pitch shifted signal produced by the Whammy.
Making Connections
The Whammy DT pedal is extremely easy to set up and use. Follow these steps to get up and running.
- Connect your instrument to the instrument Input Jack.
- Connect from the Whammy’s Output Jack to your favorite distortion pedal or to your amplifier.
- If using an external MIDI device for control, connect from the MIDI out of the MIDI device to the Whammy’s MIDI Input.
- Connect the included power supply to an AC outlet and the other end to the Whammy’s Power Input.
- Turn on your amp and adjust the volume to the desired level.
- Use the WHAMMY and DROP TUNE Footswitches to enable the desired effects, then rotate the WHAMMY and DROP TUNE Knobs to select the desired effects.

Effect
The Whammy DT is a powerful pitch shifting pedal that offers both Drop and Raised re-tuning of your instrument and classic Whammy pitch bending effects simultaneously. The left side of the pedal allows you to select from one of the traditional Whammy effects: Whammy, Harmony and Detune; the Expression Pedal will then control the bend of the selected Whammy effect. The right side of the pedal interface controls the Drop Tuning (Shift Down) and Raised Tuning (Shift Up) options.
Whammy Effects
This group of effects will bend your incoming signal either up or down depending upon the effect setting you have chosen. As the Expression Pedal is rocked back and forth, the signal will bend from the original input pitch (toe up), to the pitch specified by the selected effect setting (toe down). This effect can be used in combination with the Drop Tune effect. Whammy effects include:
2 OCT UP – Bends your input note two octaves up.
1 OCT UP – Bends your input note one octave up.
5TH UP – Bends the input note 7 semitones (5th interval) up.
4TH UP – Bends the input note 5 semitones (4th interval) up.
2ND DN – Bends the input note 2 semitones (2nd interval) down.
4TH DN – Bends the input note 5 semitones (4th interval) down.
5TH DN – Bends the input note 7 semitones (5th interval) down.
1 OCT DN – Bends your input note one octave down.
2 OCT DN – Bends your input note two octaves down.
DIVE BOMB – Bends your input note three octaves down.

Harmony Effects
This group of effects add a harmony to your incoming signal. Both the harmony note and the input signal are mixed together as if two guitars were playing simultaneously. As you rock the pedal back and forth, the harmony note bends between two intervals specified by the selected effect setting, but the input signal remains unchanged. This effect can be used in combination with the Drop Tune effect. Harmony effects include:
OCT DN/OCT UP – Bends the harmony between one octave below (toe up) and one octave above (toe down) the input note.
5TH DN/4TH DN – Bends the harmony between a fifth (toe up) and a fourth (toe down) below the input note.
4TH DN/3RD DN – Bends the harmony between a fourth (toe up) and a minor third (toe down) below the input note.
5TH UP/7TH UP – Bends the harmony between a fifth (toe up) and a dominant seventh (toe down) above the input note.
5TH UP/6TH UP – Bends the harmony between a fifth (toe up) and a sixth (toe down) above the input note.
4TH UP/STH UP – Bends the harmony between a fourth (toe up) and a fifth (toe down) above the input note.
3RD UP/4TH UP – Bends the harmony between a third (toe up) and a fourth (toe down) above the input note.
MIN 3RD UP/3RD UP – Bends the harmony between a minor third (toe up) and a major third (toe down) above the input note.
2ND UP/3RD UP – Bends the harmony between a second (toe up) and a third (toe down) above the input note.

Detune Effects
This group of effects create a copy of your input signal, shifts the pitch of the copied signal and mixes it back with the original signal. As the Expression Pedal is rocked back and forth, the amount of this detuned signal is changed. With the pedal in the toe up position, only the original dry signal is heard. As the pedal is rocked forward, the detuned signal is mixed with the dry signal. This effect can be used in combination with the Drop Tune effect. The Detune effects include:
SHALLOW – The copied signal is slightly detuned from the original pitch.
DEEP – The copied signal is substantially detuned from the original pitch.

Drop Tune Effects
This group of effects allow you to transpose (shift) your instrument up or down – with a range of one octave in each direction – for instant drop tuning or raised tuning simulation. The Octave + Dry effects create a 12 string guitar simulation. This effect can be used in combination with the Whammy, Harmony or Detune effect. Drop Tune effects include:
SHIFT UP
OCT+ DRY – Transposes guitar signal up 1 octave and adds dry signal.
OCT – Transposes guitar signal up 1 octave.
7 – Transposes guitar signal up 7 semitones.
6 – Transposes guitar signal up 6 semitones.
5 – Transposes guitar signal up 5 semitones.
4 – Transposes guitar signal up 4 semitones.
3 – Transposes guitar signal up 3 semitones.
2 – Transposes guitar signal up 2 semitones.
1 – Transposes guitar signal up 1 semitone.

SHIFT DOWN
1 – Transposes guitar signal down 1 semitone.
2 – Transposes guitar signal down 2 semitones.
3 – Transposes guitar signal down 3 semitones.
4 – Transposes guitar signal down 4 semitones.
5 – Transposes guitar signal down 5 semitones.
6 – Transposes guitar signal down 6 semitones.
7 – Transposes guitar signal down 7 semitones.
OCT – Trans poses guitar signal down 1 octave.
OCT+ DRY – Transposes guitar signal down 1 octave and adds dry signal.
Drop Tune Footswitches
There are two footswitches below the Drop Tune effect section. The DROP TUNE footswitch is used to turn the Drop Tune effect on and off as indicated by the LED above this footswitch. The MOMENTARY footswitch is used to momentarily enable or bypass the effect when pressed. This is designed to create hammer-on and pull-off style effects with chords shifting from a transposed tuning to normal tuning.

MIDI Functions
The Whammy DT features a MIDI input for receiving incoming MIDI data. MIDI messages can select a Whammy or Drop Tune effect and set whether these effects are in an active or bypassed state. MIDI CC messages can then be used to control the Whammy Expression Pedal position.
MIDI Channel
The Whammy DT can receive MIDI messages on any or all MIDI channels. The following steps outline the procedure for accessing or changing the MIDI channel:
- Disconnect the power from the Whammy pedal.
- Press and hold the WHAMMY Effect Footswitch while reconnecting the power. One of the WHAMMY Effect LEDs will begin to flash indicating the currently selected MIDI channel.
- Using the reference chart below, rotate the WHAMMY Effect Knob to select the desired MIDI channel.
- Press the WHAMMY Effect Footswitch again to exit the MIDI set up menu.

MIDI Program Changes
The Whammy DT uses MIDI Program Change commands for effect selection. Effects can be selected in either an active or bypassed state.
Whammy Effects MIDI Program Change Mapping
The following list outlines the program change commands recognized by the Whammy DT and the corresponding Whammy effect setting and its status.

Drop Tune Effects MIDI Program Change Mapping
The following list outlines the program change commands recognized by the Whammy DT and the corresponding Drop Tune effect and state.
MIDI Program Change#
MIDI Continuous Control
Using MIDI continuous control commands, the Whammy’s expression pedal position can be remotely controlled. MIDI CC11 adjusts the expression pedal position. A value of O on MIDI CC11 corresponds to a toe up position and a value of 127 corresponds to a toe down position.
Bypass Modes
There are two selectable Bypass Modes available in the Whammy DT, they are:
- True Bypass
- DSP Bypass
True Bypass Mode
From the factory, the Whammy DT is set to True Bypass Mode. In this mode, the circuitry in the Whammy DT is completely bypassed when both Whammy and Drop Tune effects are off. If you have switched to DSP Bypass Mode and would like to switch back to True Bypass Mode, follow these steps:
- Start with the power supply disconnected from the Whammy DT.
- Press and hold the MOMENTARY Footswitch and apply power.
- When the DROP TUNE Effect LED flashes red two times, release the MOMENTARY Footswitch .
True bypass will now be re-enabled.
DSP Bypass Mode
The benefit of using DSP bypass is so the Drop Tune Momentary footswitch can smoothly transition between momentary on and off states since the true bypass relay is removed from the circuit.
To enable DSP Bypass Mode, follow these steps:
- Start with the power supply disconnected from the Whammy DT.
- Press and hold the MOMENTARY Footswitch and apply power.
- When the DROP TUNE Effect LED flashes green two times, release the MOMENTARY Footswitch .
DSP bypass is now enabled on the Whammy DT. The DROP TUNE Effect LED will now light green when it is enabled while DSP bypass is active. DSP bypass will remain active each time the Whammy DT is powered until True Bypass is enabled again.
Calibrating the Expression Pedal
In the unlikely event that the expression pedal does not respond properly or that the note does not bend or return to the correct pitch, it may need to be re-calibrated. The following steps outline the procedure for expression pedal re-calibration:
- Disconnect the power from the Whammy pedal.
- Press and hold the WHAMMY Effect Footswitch while reconnecting the power. This enables MIDI and Calibration Setup. One of the WHAMMY Effect LEDs will begin to flash , indicating the currently selected MIDI channel.
- Rock the Expression Pedal fully forward (toe down) and then press the DROP TUNE Footswitch . When you press the footswitch, the DROP TUNE Effect Status LED will first light red and then change to green, indicating Expression Pedal calibration is now enabled. If the DROP TUNE Effect Status LED stays red, make sure the Expression Pedal is rocked fully forward and press the DROP TUNE Footswitch until the LED lights green.
- Rock the Expression Pedal fully back (toe up) and fully forward (toe down) at least two times. The SHIFT UP LEDs will light back and forth (from 1 to OCT+ DRY) as the pedal is rocked, indicating the pedal is calibrating.
- When finished, press the WHAMMY Effect Footswitch again to exit the MIDI and Calibration set up and return to normal operation.
This completes the expression pedal calibration procedure.
FS3X Functions
The optional FS3X Footswitch gives you hands-free control over selecting which Whammy and Drop Tune effects are selected.
- Mode Switch
Selects which side of the Whammy DT the FS3X Down/Up footswitches remotely control. Press it once and the currently selected effect on either the Whammy side or Drop Tune side will flash 3 times. This indicates the Down/Up footswitches will change the effect for this side. - Down Switch
Pressing this switch selects the next effect counter-clockwise in the Whammy or Drop Tune effect list. - Up Switch
Pressing this switch selects the next effect clockwise in the Whammy or Drop Tune effect list.
NOTE: The FS3X will select effects on either side regardless if the effect is on or off. Use only a 1 /4″ TRS cable for proper operation.
Specifications
Instrument Input Type: 1/4″ Unbalanced TS
Max Input Level: +5 dBu
Input Impedance: 1 M Ω
MIDI Input: 5-Pin Din
Footswitch Input: 1 /4″ TR5 – for use with optional FS3X Footpedal
Output Type: 1/4″ Unbalanced TS
Max Output Level: +10 dBu
Output Impedance: 1 k Ω
Sample Rate: 44.1 kHz
Frequency Response: 20 Hz to 20 kHz
Signal to Noise Ratio: > -105 dB (A weighted); ref= max level, 22 kHz bandwidth
THD: 0.004% @ 1 kHz; ref= 1 dBu w/ unity gain
A/D Conversion: 24 bit
D/A Conversion: 24 bit
Pitch Bend Range: + 2/-3 Octaves
Detune Range: -4 to -30 cents
Drop Tune Range: 1-7 Semitones, Octave, Octave + Dry
Power Consumption: 2.6 Watts (< 288 mA @ 9 VDC)
Power Requirements: 9 VDC External Adapter
Power Adapter: PS0913DC-01 (US, JA, EU) PS0913DC-02 (AU, UK) PS0913DC-04 (US, JA, EU, AU, UK)
Dimensions: 8.2″ (W) x 7.73″ (D) x 2.36″ (H)
Shipping Weight: 4.5 lbs.
Specifications are subject to change without notice.
Customer Support
59 Hwagok-ro 61gil, Gangseo-gu
Seoul 07590, Republic of Korea
[email protected]
Printed in China
Whammy DT Owner’s Manual 5008631-C
DigiTech and Whammy are trademarks of CORTEK Corp.
© 2022 CORTEK Co.All rights reserved.
Visit our website at: www.digitech.com






















