i-PRO WV-QSR100 Sunshade

Operating Instructions
Included Installation Instructions
Sunshade
Model No. WV-QSR100 
- Before attempting to connect or install this product, please read these instructions carefully.
- The external appearance and other parts shown in this manual may differ from the actual product within the scope that will not interfere with normal use due to improvement of the product.
i-PRO Co., Ltd. assumes no responsibility for injuries or property damage resulting from failures arising out of improper installation or operation inconsistent with this documentation. “<Control No.: C****>” used in these documents should be used to search for information on our technical information website (https://i pro.com/global/en/ surveillance/training-support/support/technical-information) and will guide you to the right information.
- i-PRO Co., Ltd.
- https://www.i-pro.com/.
Caution:
- Before attempting to connect or operate this product, please read these instructions carefully.
Notice:
- This product is not suitable for use in locations where children are likely to be present.
- Do not install this product in locations where ordinary persons can easily reach it.
Preface
- This unit is a sunshade to be attached to an indoor dome-type camera.
The latest information about the supported cameras <Control No.:C0501>.
Specifications
| Ambient operating temperature: | –10 °C to +50 °C {14 °F to +122 °F} |
| Dimensions: | 63.3 mm (W) x 67 mm (H) x 71 mm (D) {2-1/2 inches(W) x 2-5/8 inches(H) x 2-25/32 inches (D)} |
| Mass: | Approx. 40 g {0.09 lbs} |
| Finish: | ABS resin i-PRO white (WV-QSR100-W) Black (WV-QSR100-B) |
Precautions
- Do not use this product except with suitable cameras. Failure to observe this may cause a drop resulting in injury or accidents.
- Refer installation work to the dealer. Installation work requires technique and experience. Failure to observe this may cause fire, electric shock, injury, or damage to the product. Be sure to consult the dealer.
When using this product, also read the “Precautions” described in the operating instructions for the camera to be attached.
Precautions for installation
- In order to prevent injury, the product must be securely mounted to the camera according to the Installation Guide of this product.
- Make sure to remove this product if it will no longer be used.
Standard Accessories
Operating Instructions (this document) ……. 1 pc.
Other items that are needed (not included)
Thin screwdriver ………………………………….. 1 pc
Installation
Step 1 Remove the enclosure part from the camera.
For removal instructions, please refer to the Installation Guide or preparation section of the Installation Guide leaflet for each camera.
Step 2 Check installation direction.
- If this product is attached to a camera, it should be installed on a wall only.
- If this product is attached to an indoor dome camera and installed on a wall, the camera wiring direction is up or down.
- This product is used to reduce the effect of ambient light on the lower part of the screen. Therefore, the shadow of this product will appear on the upper part of the screen.

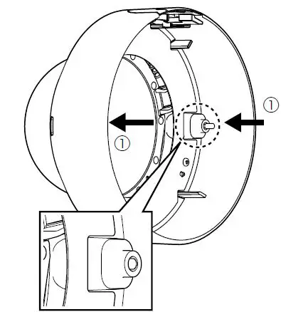
Step 3 Remove the two enclosure fixing screws from the enclosure.

- Press the enclosure fixing screws (2 locations) from the inside with a thin screwdriver (locally procured).
- While performing ①, use a screwdriver from the outside of the enclosure to rotate the enclosure fixing the screw counterclockwise and removing it.
Step 4 Fasten the unit to the enclosure.
- Temporarily secure the unit to the enclosure and rotate the long enclosure fixing screw attached to this product clockwise to penetrate the enclosure of the camera.
Technical information website Infrared Illumination effects and reflections on the screen when using sunshades <Control No.:C0511>. For tightening torques, please refer to the Camera Installation Guide or the Installation Guide leaflet. Back to the camera installation procedure.


















