NUU GARDEN UU03-RD Outdoor Sunshade Umbrella

INTRODUCTION
This product is a furniture designed and made by NUUGARDEN Corp. We are committed to R&D innovation and to create the most refined, diverse choice of outdoor collection.
After unpacking and before every use, check whether the item shows any damages. In addition, check that you have all parts and hardwares before assembly. If there is any damage, please do not use and just call customer service at (800) 257-7108 or send an email to [email protected]. If you do not have all the parts lists, have your dealer contact us and they will be sent to you immediately.
This furniture is intended for indoor and outdoor use. Please take time to read and follow the instruction below. Use the item as described in this operating manual. We accept no liability for damages caused by improper use.

ASSEMBLY INSTRUCTIONS
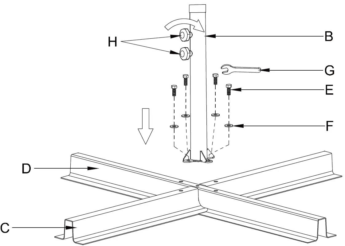
- Step1: Stack the base (D) and the base (C), and then attach the tube (B) to the base (DC) using 4 washers (F) and 4 screws (E),and use wrench (G) tighten them in clockwise.
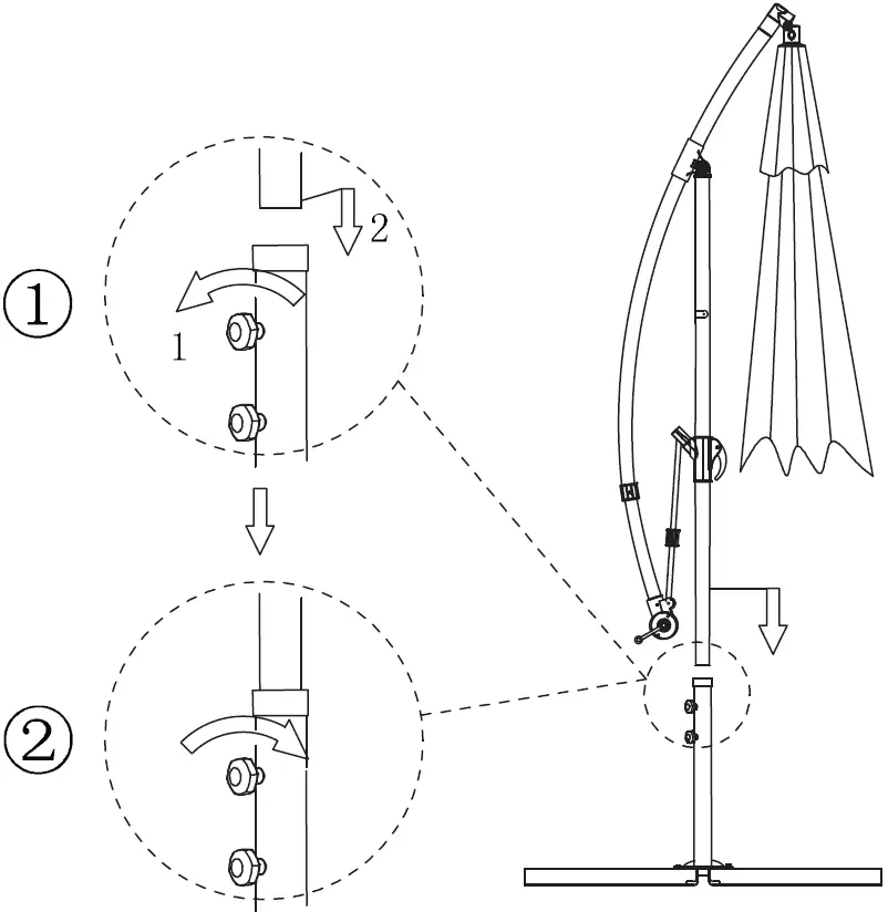
- Step 2: Swing the hand clockwise to tighten the umbrella rope, and connect the upper and lower pipes at the bend, insert the umbrella hanger into the bend base.
- Step 3: Insert the shaft into the tube (B), and turn the knob (H) clockwise to tighten.
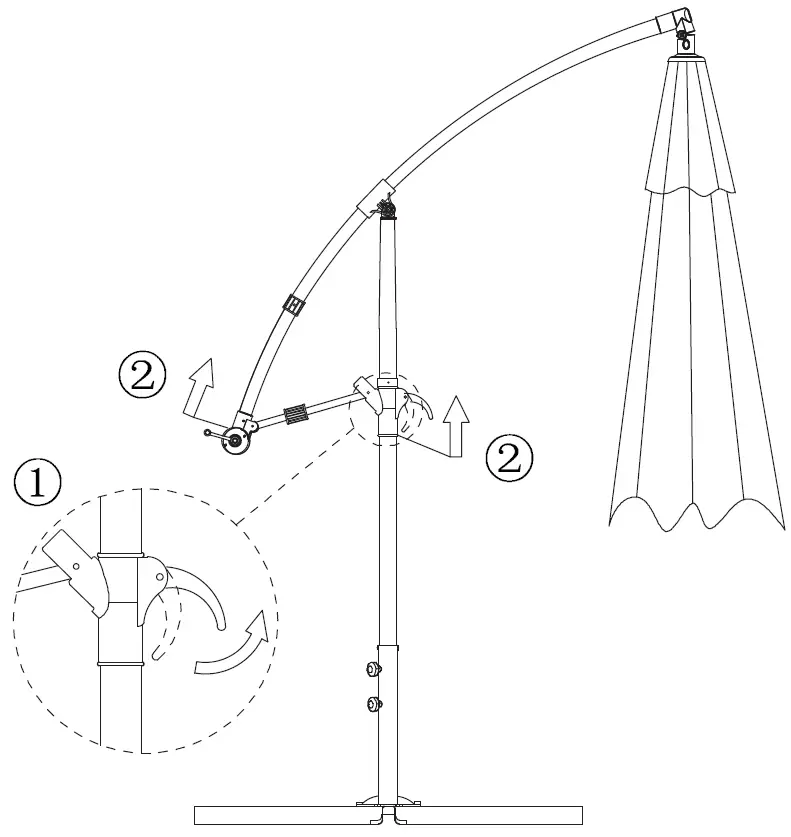
- Step 4: Open the spanner (2), push the sliding base into the vertical rod retaining ring, and press the spanner (2).







CARE AND MAINTENANCE
Follow the instruction for the material of your special product to make sure that it stays in the best shape for as long as possible. The information below is only intended as a general guideline. For more information, please contact us.
- Only need to rinse it thoroughly with clean water to wash away dirt and grime. Never use abrasive cleansers on the furniture, since it can attack the surfaces and leave behind scratch marks.
- For the stubborn grime and stains, just use a soft sponge and mild soapy water and then dry it with a cloth or paper towel.
- Check the stability of the screws, nuts and nut caps prior to each use. Tighten up them after one to two month’s use whenever required.
- Avoid improper use, and be careful not to scratch or damage the surface with sharp objects.
- When you move your furniture, make sure you lift it rather than pulling or pushing it to avoid damaging the floor, legs and mounting.
CUSTOMER SERVICE
We are here to help you maximize your enjoyment and appreciation of it.
Please do not hesitate to contact our customer service when you have any questions regarding assembly or accessories.
Address: 6366 Corley Road, Norcross, GA 30071.
Tel: (800) 257-7108
Web: http://www.nuugarden.com
E-mail: [email protected]
Service time: Mon-Fri, 8:30 AM-5:30 PM, EST













