ALTRAD Midi Screed 200 Vibrating Screed Belle

EU Declaration Of Conformity (DOC)

How To Use This Manual
This manual has been written to help you operate and service the ‘MidiScreed 200’ safely. This manual is intended for dealers and operators of the ‘MidiScreed 200’.
Directives with regard to the notations.
Text in this manual to which special attention must be paid are shown in the following way:
CAUTION:
The product can be at risk. The machine or yourself can be damaged or injured if procedures are not carried out in the correct way.
WARNING: The life of the operator can be at risk.
WARNING
Before you operate or carry out any maintenance on this machine YOU MUST READ and STUDY this manual.
KNOW how to safely use the unit’s controls and what you must do for safe maintenance. (NB Be sure that you know how to switch the machine off before you switch on, in case you get into diffculty.)
ALWAYS wear or use the proper safety items required for your personal protection. If you have ANY QUESTIONS about the safe use or maintenance of this unit, ASK YOUR SUPERVISOR OR CONTACT: Altrad Belle (UK): +44 (0) 1298 84606
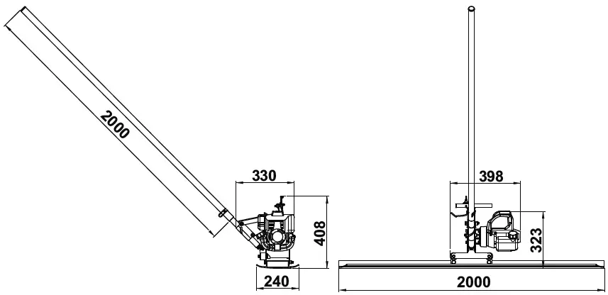
Technical Data

| Model | MidiScreed 200 Petrol |
| Engine | +onda *;2 (2 cc) 4 Stroke |
| Rating (kW / hp) | 0.74 / 1 |
| Speed (Rpm) | 7000 |
| Vibration (kN) | 2.3 |
| Weight (kg) | 19 |
| Sound Power Level (dB(A)) | 101 |
General Safety
For your own personal protection and for the safety of those around you, please read and ensure you fully understand the following safety information. It is the responsibility of the operator to ensure that he/she fully understands how to operate this equipment safely. If you are unsure about the safe and correct use of the ‘MidiScreed 200’, consult your supervisor or Altrad Belle.
WARNING:
Improper maintenance can be hazardous. Read and Understand this section before you perform any maintenance, service or repairs.
- This equipment is heavy and must not be lifted single-handedly, either GET HELP or use suitable lifting equipment.
- Cordon off the work area and keep members of the public and unauthorised personnel at a safe distance.
- Personal Protective Equipment (PPE) must be worn by the operator when ever this equipment is being used (see Health & Safety).
- Make sure you know how to safely switch this machine OFF before you switch it ON in case you get into difficulty.
- Always switch OFF the machine before transporting, moving it around the site or servicing it.
- During use the engine becomes very hot, allow the engine to cool before touching Never leave the engine running and unattended.
- Never remove or tamper with any guards fitted, they are there for your Always check guards for condition and security, if any are damaged or missing, DO NOT USE THE MACHINE until the guard has been replaced or repaired.
- Do not operate the machine when you are ill, feeling tired, or when under the inluence of alcohol or drugs.
Fuel Safety
WARNING:
Fuel is lammable. It may cause injury and property damage. Shut down the engine, extinguish all open lames and do not smoke while filling the fuel tank. Always wipe up any spilled fuel.
- Before refuelling, switch off the engine and allow it to cool.
- When refuelling, DO NOT smoke or allow naked lames in the area.
- Spilt fuel must be made safe immediately, by using If fuel is spilt on your clothes, change them.
- Store petrol in an approved, purpose made container away from heat and ignition sources.
Health & Safety
Vibration
Some vibration from the machine is transmitted through the handle to the operator’s hands. Refer to specifications & technical data for vibration levels and usage times (recommended maximum daily exposure time). DO NOT exceed the maximum usage times.
PPE (Personal Protective Equipment)
Suitable PPE must be worn when using this equipment i.e. Safety Goggles, Gloves, Ear Defenders, Dust Mask and Steel Toe capped footwear (with anti-slip soles for added protection). Wear clothing suitable for the work you are doing. Tie back long hair and remove any jewellery which may catch in the equipment’s moving parts. Always protect skin from contact with concrete.
Exhaust Fumes
Do not operate the machine indoors or in a confined space, make sure the work area is adequately ventilated
WARNING:
The exhaust fumes produced by this equipment are highly toxic and can kill!
Operating Instructions
WARNING:
Before you operate or carry out any maintenance on this machine YOU MUST READ and STUDY this manual.
Fitting the rule
- Place the beam on the floor.
- Position the engine unit over the beams.
- Insert bolts (A) and lat washers (B), then toothed washers (C) and nuts (D).
- Tighten the bolts (A) with the spanner supplied.
Operation
- Level in the usual way, pour on the concrete and place your beam at the start of the first strip.
- Fit the shaft to the motor block.
- Before starting, spray diesel or shuttering oil on the beam to prevent it sticking to the concrete.
- Start the machine.
- Adjust the vibration to suit the luidity of the concrete.
- Place the bar on your shoulder and rotate it to tilt the beam backwards or forwards.
- Pull slowly towards you.
- Repeat, if necessary.
- When smoothing the following strip, position the beam so that it overlaps the area already smoothed by 15
Warranty
Your new Altrad Belle ‘MidiScreed 200’ is warranted to the original purchaser for a period of one-year (12 months) from the original date of purchase. The Altrad Belle warranty is against defects in design, materials an workmanship.
The following are not covered under the Altrad Belle warranty:
- Damage caused by abuse, misuse, dropping or other similar damage caused by or as a result of failure to follow assembly, operation or user maintenance instructions.
- Alterations, additions or repairs carried out by persons other than Altrad Belle or their recognised
- Transportation or shipment costs to and from Altrad Belle or their recognised agents, for repair or assessment against a warranty claim, on any machine.
- Materials and/or labour costs to renew, repair or replace components due to fair wear and
The following components are not covered by warranty.
- Drivebet(s) Engine air filter • Engine spark plug
Altrad Belle and/or their recognised agents, directors, employees or insurers will not be held liable for consequential or other damages, losses or expenses in connection with or by reason of or the inability to use the machine for any purpose.
Warranty Claims
All warranty claims should firstly be directed to Altrad Belle, either by telephone, by Fax, by Email, or in writing.
For warranty claims:
Tel : +44 (0)1298 84606,
Fax : +44 (0)1298 84073,
Email : Warranty.[email protected]
or Write to:
Altrad Belle Warranty Department, Sheen, Nr. Buxton, Derbyshire, SK17 0EU, England
Warranty Registration:
In the bid for ALTRAD Belle to become greener and more eco friendly, we have now introduced online Warranty registration. To access the registration page of our website, please use the following address:-
http://www.bellegroup.com/index.php?p=warranty_registration
Alternatively, please scan the adjacent QR Code (Quick Response Code) using your smartphone to access the registration page.
Replacement Parts
When maintaining this product only the manufacturers original, genuine replacement parts may be used.
The user will lose any possible claims if replacement parts used are other than the makers original replacement parts. Replacement parts for this product can be ordered online 24 hours a day, 7 days a week at www.Altrad-Belle247.com For more information regarding the availability of replacement parts for this product, please contact Altrad Belle using the following contact details:-
Tel:- +44 (0)1298 84606
Fax:- +44 (0)1298 84073
Email:- [email protected] Alternatively, please scan the adjacent QR Code (Quick Response Code) using your smartphone to access the Altrad Belle online parts portal.
ALTRAD BELLE
Sheen, Nr. Buxton, Derbyshire, SK17 0EU, GB
Tel. +44 (0)1298 84606 –
Fax +44 (0)1298 84722 –
Email: [email protected]
www.Altrad-Belle.com
ALTRAD (Group Holding)
125, Rue du Mas Carbonnier, 34000, Montpellier, France
Tel. +33 (0) 4 67 50 53 66
Email: [email protected]
www.altrad.com

















