acmerevival G560E Vortex-Genie 2 Variable Speed Rugged Mixer

APPLICATIONS
The 3-inch Platform accepts single or multiple test tubes, beakers and various flasks. The removable cover, made of thermoplastic rubber, is highly impervious to chemicals. It is, however recommended that spills are blotted quickly. Do not attempt to use the 3-inch Platform without the rubber cover. The Pop-off Cup can accommodate tubes of virtually any size or shape from micro tubes to those up to 40mm in diameter and 200mm in length. In most instances, tubes without caps may be mixed with proper speed control. Tubes must be capped when potential aerosols may be hazardous.
Catalog numbers:
0K-0500-902 3-inch Platform with Rubber Cover
0K-0500-901 3-inch Platform without Rubber Cover
580-2013-00 Rubber Cover for 3-inch Platform
OPERATING INSTRUCTIONS
We recommend you retain the original packaging for 90 days in case you need to return the product for any reason to your distributor or Scientific Industries.
Your VORTEX-GENIE 2 Mixer is supplied with a Pop-off Cup located in the white foam box insert and a 3-inch Platform. After you unpack your VORTEX-GENIE 2 Mixer from its protective plastic bag, install either the Pop-off Cup or the 3-inch Platform by first aligning the “flat” part of the mixer shaft with the “flat” part of the attachment. YOU MUST PRESS DOWN HARD WITH YOUR HAND UNTIL YOU HEAR THE ATTACHMENT SNAP IN PLACE. This will ensure that the attachment will not come off the mixer during operation.
- Plug the cord into a properly grounded, three pronged outlet (120 VAC for the G560 model, 230 VAC for the G560E model and 100V for the G560-100V model).
- The VORTEX-GENIE® 2 Mixer has the following modes of operation:
- TOUCH MODE:
Place the toggle switch in the TOUCH position and set the speed control to any position between 3 and 10. A setting of 3 is least vigorous mixing and 10 is the most vigorous mixing. When you touch a vessel to the 3-inch Platform or Pop-off Cup, the mixer will start automatically. Releasing the pressure on the Platform or Cup will stop the mixer. - HANDS FREE MODE:
Place the toggle switch in the ON position and set the speed control to any position between 3 and 10. Hands Free mode allows for unattended operation that will continue indefinitely until you stop the mixer by placing the toggle. switch into the OFF position. In this mode, you may use any of the accessory attachments available for the VORTEX-GENIE® 2 Mixer. Review instruction No. 3.0 before attempting to change attachments.
Note: The speed control switch should be set between positions 3 and 10 to enable the mixing action to start. After the action has started, you may, if desired, reduce the speed below position 3 for the duration of the run. Before re-starting the mixer, re-set the speed control to a setting higher than position 3.
- TOUCH MODE:
- To change accessory mixing attachments, the following sequence is to be followed explicitly.
- Turn the power OFF by placing the toggle switch into the OFF position.
- Grasp the installed attachment and pull straight up until it releases from the shaft. A technique of lifting the attachment with your finger tips while using your knuckles as a fulcrum will give you the leverage to remove the installed attachment component smoothly.
- Hold the part you wish to install so the “flat” part of the shaft is aligned with the “flat” of the receptacle in the attachment. Alternatively, you may place the attachment on the shaft and turn it until you feel the “flats” aligning.
- Press attachment firmly downward until it “snaps” into place. The VORTEX-GENIE 2 Mixer is now ready to use with the newly installed accessory attachment.
- With prolonged use, your VORTEX-GENIE 2 Mixer may become warm to the touch. The motor will radiate a certain amount of heat that will dissipate by the cast zinc housing.
CAUTION! Do not lift your VORTEX-GENIE 2 Mixer by its attachment. All attachments, including the Pop-off Cup and the 3-inch Platform are removable. They will pop off easily if you lift them, and snap back on again just as easily by aligning the flats and pressing down firmly.
CAUTION! If this equipment is used in a manner not specified by the manufacturer, the protection provided by the equipment may be impaired.
CARE AND HANDLING
Your VORTEX-GENIE 2 Mixer should be given the care normally required for any electrical appliance. Avoid wetting or unnecessary exposure to fumes. The finish can be washed with water (after unplugging) and soap or detergents, using a cloth or sponge. Keep the unit clean by immediately blotting any spills. Replacement parts are available through most laboratory equipment distributors or directly from Scientific Industries. Refer to “Parts Assembly List” and enclosed multi-fold brochure.
CAUTION! Unplug from power before cleaning. Do not immerse. Do not position the equipment so that it is difficult to disconnect the power cord.
| MODE | POWER REQUIRED | HZ | AMPS |
| G560 | 110V-120V | 60 | 0.95 |
| G560E | 220V-240V | 50 | 0.5 |
| G560-100V | 100V | 50 | 1.0 |
- Weight: 4 Kg (8.8 lb)
- Base Dimensions: (DxWxH) 165x122x165mm (6.5×4.8×6.5in)
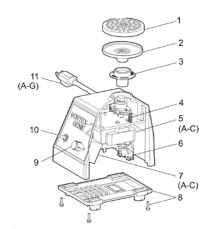
PARTS ASSEMBLY LIST
To order parts for the VORTEX-GENIE 2 Mixer: Contact your local distributor or visit www.scientificindustries.com. Please specify Part No., quantity and electric voltage.
| Indicator No. | Part No. | Description | Indicator No. | Part No. | Description |
| 1 | 580-2013-00 | Rubber Cover for 3-inch Platform | 8 | 0K-0236-408 | Bottom Closure with Feet Kit |
| 2 | 0K-0500-901 | 3-inch Platform | 9 | 0M-0236-209 | Knob, Push-on |
| 3 | 146-3011-00 | Pop-off Cup | 10 | ESP0004 | Switch, On/Off/On |
| 4 | 566-0028-00 | Spring, Extension, Eccentric | 11A | 318-0510-02 | 120V Line Cord |
| 5A | 0K-0236-905 | Motor 120V Assembly | 11B | 0K-0246-901 | 230V Line Cord, No Plug |
| 5B | 0K-0246-915 | Motor 230V Assembly | 11C | 0K-0256-901 | 230V Line Cord, Euro Plug |
| 5C | 0K-0286-915 | Motor 100V Assembly | 11D | 0K-0266-901 | 230V Line Cord, British Plug |
| 6 | ESP0005 | Micro Switch | 11E | 0K-0276-901 | 230V Line Cord, Swiss Plug |
| 7A | EPP0005 | Speed Control 120V | 11F | 0K-0286-901 | 100V Line Cord |
| 7B | EB-0246-500 | Speed Control 240V | 11G | ECP0021 | Australian Plug (only) |
| 7C | EB-0286-500 | Speed Control 100V |

















