MOXA NPort 5100A Series Serial Device Server
Overview
NPort 5100A series device servers are compact, palm-sized data communication devices that allow you to control RS-232 (NPort 5110A), RS-422/485 (NPort 5130A), and RS-232/422/485 (NPort 5150A) serial devices over a TCP/IP-based Ethernet.
NOTE “-T” indicates an extended temperature model.
Package Checklist
Before installing the NPort 5100A series device server, verify that the
- 1 NPort 5100A serial device server
- 100 to 240 VAC power adapter (excluding T models)
- 4 stick-on pads
- Quick Installation Guide
- Product Warranty Statementpackage contains the following items:
Optional Accessories
- DK-35A: DIN-Rail Mounting Kit (35 mm)
NOTE Notify your sales representative if any of the above items are missing or damaged.
NOTE The operating temperature of the power adapter in the box is from 0 to 40°C. If your application is out of this range, please use a power adapter supplied by UL Listed External Power Supply
(The power output meets SELV and LPS and is rated 12 – 48 VDC, minimum current 92.4 mA). Moxa has power adapters with wide temperature range (-40 to 75°C, -40 to 167°F), the PWR-12150-(plug type)-SA-T series, for your reference.
Hardware Introduction
As shown in the following figures, NPort 5100A series device servers have one male DB9 port for transmitting RS-232 (NPort 5110A), RS-422/485 (NPort 5130A), or RS-232/422/485 (NPort 5150A) serial data.
NOTE The NPort 5110A, NPort 5130A, and NPort 5150A have the same form factor.
Reset Button
—Press and hold the Reset button for 5 seconds to load factory defaults: Use a pointed object, such as a straightened paper clip or toothpick, to depress the reset button. This will cause the Ready LED to blink on and off. The factory defaults will be loaded once the Ready LED stops blinking (after about 5 seconds). At this point, release the reset button.
LED Indicators
—The NPort 5100A’s top panel has three LED indicators, described in the following table.
| LED Name | LED Color | LED Function | |
|
Ready | Red | Steady on: | Power is on and the NPort is booting up. |
| Blinking: | Indicates an IP conflict, or DHCP or BOOTP the server is not responding properly. | ||
| Green | Steady on: | Power is on and the NPort is functioning normally. | |
| Blinking: | The NPort has been located by the NPort Administrator’s Location function. | ||
| Off | Power is off, or a power error. | ||
| Link | Orange | 10 Mbps Ethernet connection. | |
| Green | 100 Mbps Ethernet connection. | ||
| Off | Ethernet cable is disconnected. | ||
| Tx/Rx | Orange | Serial port is receiving data. | |
| Green | Serial port is transmitting data. | ||
| Off | Data is not being transmitted or received through the serial port. | ||
Adjustable pull high/low resistor for RS-422/485 (150 KΩ or 1 KΩ) Jumpers is used to set the pull high/low resistor values. The default is 150 KΩ. Short the jumpers to set this value to 1 KΩ. Do not use the 1 KΩ setting with RS-232 mode, since doing so will degrade the RS-232 signals and shorten the communication distance.
Hardware Installation Information
STEP 1: After removing the NPort 5100A series device server from the box, connect the NPort 5100A series device server to a network. Use a standard straight-through Ethernet cable to connect to a hub or switch. When setting up or testing the NPort 5100A series device server, you might find it convenient to connect directly to your computer’s Ethernet port. In this case, use a cross-over Ethernet cable.
STEP 2: Connect the NPort 5100A series device server’s serial port to a serial device.
STEP 3: Connect the power adaptor.
STEP 4: Placement options. In addition to placing the NPort 5100A on a desktop or other horizontal surface, you may also make use of the DIN-Rail or Wall Mount options, as illustrated below.
NOTE The operating temperature of the power adapter in the box is from 0 to 40°C. If your application is out of this range, please use a power adapter supplied by UL Listed External Power Supply (The power output meets SELV and LPS and is rated 12 – 48 VDC, minimum current 92.4 mA). Moxa has power adapters with a
wide temperature range (-40 to 75°C, -40 to 167°F), the PWR-12150-(plug type)-SA-T series, for your reference.
Software Installation Information
For the NPort’s configuration, the default IP address of the NPort is: LAN: Static IP = 192.168.127.254; netmask = 255.255.255.0 You may log in with the default account and password (account: admin; password: moxa) to change any settings to meet your network topology (e.g., IP address) or serial device (e.g., serial parameters). If you would like to apply the Real COM mode to your application, you will need to install NPort’s driver on your desktop. You may also refer to Moxa’s support website https://www.moxa.com/support for the user’s manual, driver, SNMP MIB, and NPort Search Utility.NOTE For the NPort with DB Male serial ports, you may refer to DB9 Male Ports pin assignment section to loop back pin 2 and pin 3 for the RS-232 interface to carry out a self-test on the device.
Pin Assignments
Ethernet Port Pinouts
| Pin No. | Ethernet |
| 1 | Tx+ |
| 2 | Tx- |
| 3 | Rx+ |
| 6 | Rx- |

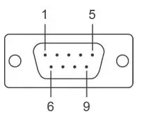
NPort 5110A—DB9 male (RS-232) port pinouts
| Pin No. | RS-232 |
| 1 | DCD |
| 2 | RxD |
| 3 | TxD |
| 4 | DTR |
| 5 | GND |
| 6 | DSR |
| 7 | RTS |
| 8 | CTS |
| 9 | – |

NPort 5130A—DB9 male (RS-422/485) port pinouts
| Pin No. | RS-422/485-4W | RS-485-2W |
| 1 | TXD-(A) | – |
| 2 | TXD+(B) | – |
| 3 | RXD+(B) | Data+(B) |
| 4 | RXD-(A) | Data-(A) |
| 5 | GND | GND |
| 6 | – | – |
| 7 | – | – |
| 8 | – | – |
| 9 | – | – |

NPort 5150A—DB9 male (RS-232/422/485) port pinouts
| Pin No. | RS-232 | RS-422/485-4W | RS-485-2W |
| 1 | DCD | TXD-(A) | – |
| 2 | RxD | TXD+(B) | – |
| 3 | TxD | RXD+(B) | Data+(B) |
| 4 | DTR | RXD-(A) | Data-(A) |
| 5 | GND | GND | GND |
| 6 | DSR | – | – |
| 7 | RTS | – | – |
| 8 | CTS | – | – |
| 9 | – | – | –
|

Specifications
| Power Requirements | |
| Power Input | 12 to 48 VDC |
| Power Consumption | NPort 5110A: 82.5 mA @ 12V, 47.3 mA @ 24V NPort 5130A: 89.1 mA @ 12V, 49.5 mA @ 24V NPort 5150A: 92.4 mA @ 12V, 52.8 mA @ 24V |
| Environmental Limits | |
| Operating Temperature | Standard Models: 0 to 60°C (32 to 140°F) Wide Temp. Models: -40 to 75°C (-40 to 167°F) |
| Ambient Humidity | 5 to 95% RH |
| Dimensions | |
| With ears | 75.2 x 80 x 22 mm (2.96 x 3.15 x 0.87 in) |
| Without ears | 52 x 80 x 22 mm (2.05 x 3.15 x 0.89 in) |
| Protection | |
| Serial Line Protection | Level 1 Surge, EN 61000-4-5 |
| Magnetic Isolation | 1.5 kV for Ethernet |
| Power Line Protection | Level 2 Burst (EFT), EN 61000-4-4 Level 3 Surge, EN 61000-4-5 |
| Regulatory Approvals | |
| FCC Class A, CE Class A, UL, LVD | |



















