
Was 5 or 23 Liter Tank with Pump
Instruction Manual
About this manual
Read all the documentation supplied carefully before installing and using this unit. Keep the manual in a convenient place for future reference.
1.1 Typographical conventions
DANGER!
High-level hazard. Risk of electric shock. Disconnect the power supply before proceeding with any operation, unless indicated otherwise.
DANGER!
Hot surface. Avoid contact. Surfaces are hot and may cause personal injury if touched.
CAUTION!
Medium level hazard. This operation is very important for the system to function properly. Please read the procedure described very carefully and carry it out as instructed.
INFO
Description of system specifications. We recommend reading this part carefully in order to understand the subsequent stages.
Notes on copyright and information on trademarks
The mentioned names of products or companies are trademarks or registered trademarks.
Safety rules
CAUTION! The electrical system to which the unit is connected must be equipped with a 20A max automatic bipolar circuit breaker. The minimum distance between the circuit breaker contacts must be 3mm (0.1in). The circuit breaker must be provided with protection against the fault current towards the ground (differential) and the overcurrent (magnetothermal).
CAUTION! Device installation and maintenance must be performed by specialist technical staff only.
- The manufacturer declines all responsibility for any damage caused by improper use of the appliances mentioned in this manual. Furthermore, the manufacturer reserves the right to modify its contents without any prior notice.
- The documentation contained in this manual has been collected and verified with great care. The manufacturer, however, cannot take any liability for its use. The same thing can be said for any person or company involved in the creation and production of this manual.
- Before starting any operation, make sure the power supply is disconnected.
- Be careful not to use cables that seem worn or old.
- Never, under any circumstances, make any changes or connections that are not shown in this handbook. Improper use of the appliance can cause serious hazards, risking the safety of personnel and of the installation.
- Use only original spare parts. Non-original spare parts could cause fire, electrical discharge or other hazards.
- Before proceeding with installation, check the supplied material to make sure it corresponds to the order specification by examining the identification labels (4.2 Product marking, page 6).
- A power disconnect device must be included in the electrical installation, and it must be very quickly recognizable and operated if needed.
Identification
4.1 Product description and type designation
WAS is a Videotec wash kit for housings equipped with wipers and consists of a tank with a built-in pump.
This wide range of wash kits comes in capacities from 5 to 23 liters and delivery heads of up to 30 meters.
In the 30m (98ft) delivery versions the lack of liquid in the tank is signaled following the automatic stop of the pump
The 30m (98ft) delivery head versions are only available in 230Vac or 120Vac.
Using the anti-freeze liquid, the minimum operating temperature (versions with 5m or 11m delivery heads) can reach as low as -25°C (-13°F).
4.2 Product marking
See the label attached to the product.
Preparing the product for use
Any change that is not expressly approved by the manufacturer will invalidate the guarantee.
5.1 Unpacking
When the product is delivered, make sure that the package is intact and that there are no signs that it has been dropped or scratched. If there are obvious signs of damage, contact the supplier immediately. When returning a faulty product we recommend using the original packaging for shipping. Keep the packaging in case you need to send the product for repairs.
5.2 Contents
Check the contents to make sure they correspond with the list of materials as below:
- Windows washing kit
- Cable tie¹
- Silicone sheath¹
- Terminal¹
- Delivery pipe
- Instruction manual
- ¹ Only for models with 5m (16ft) or 11m (36ft) delivery heads.
5.3 Safely disposing of packaging material
The packaging material can all be recycled. The installer technician will be responsible for separating the material for disposal, and in any case for compliance with the legislation in force where the device is to be used.
Installation
Install the pump with a 30m (98ft) pressure head in places protected from heavy rain.
The product must be fastened with suitable equipment. The fastening means must guarantee the mechanical seal when a force equal to at least 3 times the weight of the device is applied.
6.1 Fastening of the metal cage
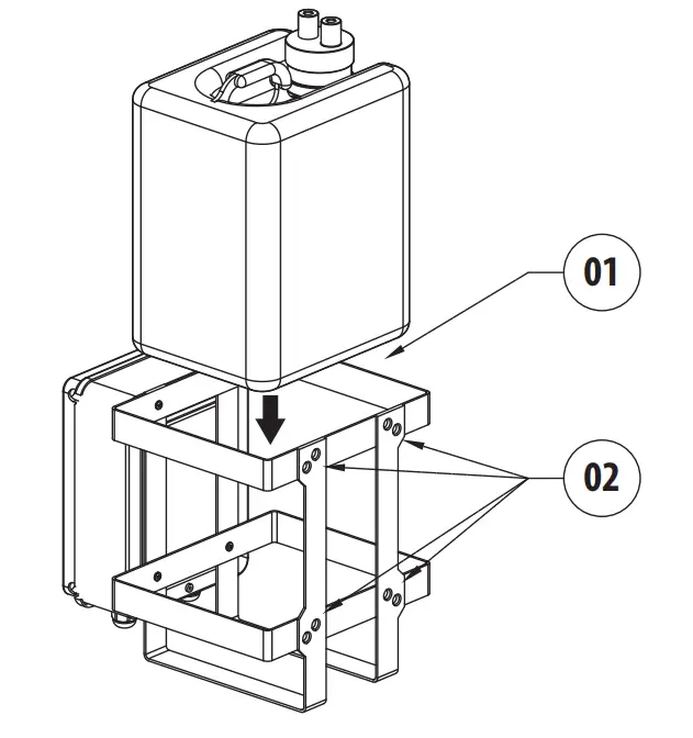
Take the plug out of the tank, along with any pumps and level gauges. Remove the tank from the metal cage.
Attach the metal cage (01) firmly to a wall using the holes provided for this (02).
Fig. 1 Water tank 5l (1.3gal), 5m (16ft) delivery.
Fig. 2 Water tank 5l (1.3gal), 5m (16ft) delivery.
Fig. 3 Water tank 23l (6gal), 30m (98ft) delivery.
6.2 Choosing the power supply
Depending on the version, the device can be provided with different power supply voltages. Their value is shown on the product identification label.
Electrical connections must be performed with the power supply disconnected and the circuit-breaker open.
When commencing installation make sure that the specifications for the power supply for the installation correspond with those required by the device.
Check that the power supply socket and cable are adequately dimensioned.
Use a power cable that is suitable for outdoor use (example: H05RH-F).
6.3 Open the box
The operation is performed only for a pump with a 5m or 11m delivery head.
Open the cover of the water-proof box and connect as described below.
6.4 Board description
The operation is performed only for a pump with a 5m or 11m delivery head.
BOARD DESCRIPTION
| Connector | Function |
| J5 | Power supply for the board |
| FUS1 | Power supply selection fuse (230Vac) |
| FUS2 | Power supply selection fuse (120Vac) |
| FUS3 | Power supply selection fuse (24Vac) |

6.5 Connection of the board
Electrical connections must be performed with the power supply disconnected and the circuit-breaker open.
The operation is performed only for a pump with a 5m or 11m delivery head.
Identify the position of the fuses (FUS1, FUS2, FUS3) and the power supply terminal (J5) on the pump control board. (6.4 Board description, page 8).
6.5.1 Installing the fuse
Depending on the power supply voltage choose the right fuse holder.
The board is supplied with the fuse in the following position: FUS1, 230Vac (6.4 Board description, page 8).
6.5.2 Connection of the power supply line
The power supply cable must be covered by the silicone sheath (01) supplied. The silicone sheath must be fastened with the corresponding cable tie (02).

Fig. 7
Use a suitably sized cable to connect the power supply terminal J5 to the mains.
6.6 Connection of the pump motor
Operation is valid for a pump with 30m (98ft) delivery.
Use the auxiliary terminal (01) located in the pump airtight casing.
Connect the earth cable to the pump casing (earth hole) (02).
Use a suitably sized cable to connect the power supply terminal to the mains.
6.7 Pump installation
Be very careful not to start the pump when the tank is empty.
We recommend filling the tank with water at ambient temperature. If using the pump at temperatures below 3°C (37.4°F) add some glass cleaner antifreeze liquid to the water.
The antifreeze liquid will cause irreparable damage to the germanium windows. In this case, do not use an anti-freeze liquid, but add ethanol in a 20% solution.
If present, the level switch enables the automatic stoppage of the pump.
6.7.1 Pump with 5m (16ft) or 11m (36ft) delivery
Fill the tank with water and insert it in the metal cage. Insert the pump in the tank and close the cap. The system is ready to be powered.
6.7.2 Pump with 30m (98ft) delivery
Avoid contact with the pump motor. Hot surfaces may cause personal injury if touched.
Adjust the position of the level switch and the ballast.
Fill the tank with water and insert it in the metal cage. Ensure that the male/female hydraulic joint (01) is inserted correctly. Insert the float in the tank and close the cap. Check the delivery hose coupling for the pump (02) to make sure a small quantity of water comes out.
Unscrew the nut (01). Slide it along the delivery pipe (02). Insert the end of the pipe into the ogive (03). Lock the nut to the coupling.
Fig. 11
The system is ready to be powered.
Maintenance
7.1 Fuses replacement
Maintenance must be performed with the power supply disconnected and the circuit breaker open.
The operation is performed only for a pump with a 5m or 11m delivery head.
Check the causes that caused the fuse breakage. In the event the problem occurs again, contact the technical assistance service.
7.1.1 Replacing the fuse of the pump board
The used fuse is described below. · T 4A H 250V: BUSSMANN S505-4-R or
OMEGA GT520240 As an alternative, use an approved fuse featuring the same characteristics.
For further information refer to the relative chapter (6.5.1 Installing the fuse, page 9).
7.1.2 Replacing the fuse on the pump inlet
The used fuses are described below.
Pump with 5m (16ft) delivery:
T 2A L 250V: BUSSMANN S506-2-R or OMEGA ST522220
Pump with 11m (36ft) delivery:
T 4A L 250V: BUSSMANN S506-4-R or OMEGA ST522240
As an alternative, use an approved fuse featuring the same characteristics. Once the box is open identify the fuse position.
Fig. 12
Information on disposal and recycling
The European Directive 2012/19/EU on Waste Electrical and Electronic Equipment (WEEE) mandates that these devices should not be disposed of in the normal flow of municipal solid waste, but they should be collected separately in order to optimize the recovery stream and recycling of the materials that they contain and to reduce the impact on human health and the environment due to the presence of potentially hazardous substances.
The symbol of the crossed-out bin is marked on all products to remember this.
The waste may be delivered to appropriate collection centers or may be delivered free of charge to the distributor where you purchased the equipment at the time of purchase of a new equivalent or without obligation to a new purchase for equipment with a size smaller than 25cm.
For more information on the proper disposal of these devices, you can contact the responsible public service.
Technical data
The product has been designed to work intermittently. 1 minute: ON. 15 minutes: OFF.
9.1 Washer kit, a tank of 5l (1.3gal), pump with 5m (16ft) delivery head
9.1.1 Mechanical
- Polyethylene tank, stainless steel cage
- Dimensions (WxHxL): 217x272x257mm (8.5×10.7×10.1in)
- Unit weight: 3.5kg (7.7lb)
- Water tank capacity: 5l (1.3gal)
- Delivery head: 5m (16ft) max
- Tube length: 5m (16ft)
9.1.2 Electrical
Supply voltage/Current consumption:
- 230Vac, 0.3A, 50/60Hz
- 120Vac, 0.6A, 50/60Hz
- 24Vac, 1.8A, 50/60Hz
9.1.3 Environment
Operating temperature
- Maximum temperature: 60°C (140°F)
- Minimum temperature with antifreeze liquid in solution: -10°C (14°F)
- Minimum temperature with antifreeze liquid in solution (reduced performance and delivery height): -25°C (-13°F)
9.1.4 Certifications
Electrical safety (CE): EN60950-1, EN62368-1
Electromagnetic compatibility (CE): EN50130-4, EN61000-6-3, EN55032 (Class B), FCC Part 15 (Class B)
Outdoor installation (CE): EN60950-22
IP protection degree (EN60529):
IP66
EAC certification
9.2 Washer kit, a tank of 23l (6gal), pump with 5m (16ft) delivery head
9.2.1 Mechanical
- Polyethylene tank, stainless steel cage
- Dimensions (WxHxL): 301x410x348mm (11.8×16.1×13.7in)
- Unit weight: 5.4kg (11.9lb)
- Water tank capacity: 23l (6gal)
- Delivery head: 5m (16ft) max
- Tube length: 5m (16ft)
9.2.2 Electrical
Supply voltage/Current consumption:
- 230Vac, 0.3A, 50/60Hz
- 120Vac, 0.6A, 50/60Hz
- 24Vac, 1.8A, 50/60Hz
9.2.3 Environment
Operating temperature
- Maximum temperature: 60°C (140°F)
- Minimum temperature with antifreeze liquid in solution: -10°C (14°F)
- Minimum temperature with antifreeze liquid in solution (reduced performance and delivery height): -25°C (-13°F)
9.2.4 Certifications
Electrical safety (CE): EN60950-1, EN62368-1
Electromagnetic compatibility (CE): EN50130-4, EN61000-6-3, EN55032 (Class B), FCC Part 15 (Class B)
Outdoor installation (CE): EN60950-22
IP protection degree (EN60529):
IP66
EAC certification
9.3 Washer kit, tank of 23l (6gal), pump with 11m (36ft) delivery head
9.3.1 Mechanical
- Polyethylene tank, stainless steel cage
- Dimensions (WxHxL): 301x410x348mm (11.8×16.1×13.7in)
- Unit weight: 5.9kg (13lb)
- Water tank capacity: 23l (6gal)
- Delivery head: 11m (36ft) max
- Tube length: 11m (36ft)
9.3.2 Electrical
Supply voltage/Current consumption:
- 230Vac, 0.5A, 50/60Hz
- 120Vac, 1A, 50/60Hz
- 24Vac, 3.8A, 50/60Hz
9.3.3 Environment
Operating temperature
- Maximum temperature: 60°C (140°F)
- Minimum temperature with antifreeze liquid in solution: -10°C (14°F)
- Minimum temperature with antifreeze liquid in solution (reduced performance and delivery height): -25°C (-13°F)
9.3.4 Certifications
Electrical safety (CE): EN60950-1, EN62368-1
Electromagnetic compatibility (CE): EN50130-4, EN61000-6-3, EN55032, (Class B), FCC Part 15 (Class B)
Outdoor installation (CE): EN60950-22
IP protection degree (EN60529):
IP66
EAC certification
9.4 Washer kit, a tank of 23l (6gal), pump with 30m (98ft) delivery head
9.4.1 Mechanical
- Polyethylene tank, stainless steel cage
- Dimensions (WxHxL): 301x620x348mm (11.9×24.4×13.7in)
- Unit weight: 13.9kg (30.6lb)
- Water tank capacity: 23l (6gal)
- Delivery head: 30m (98ft) max
- Tube length: 30m (98ft) Switch for liquid level
9.4.2 Electrical
Supply voltage/Current consumption:
- 230Vac, 2A, 50/60Hz
- 120Vac, 4.5A, 60Hz
9.4.3 Environment
Operating temperature
- Maximum temperature: 60°C (140°F)
- Minimum temperature with antifreeze liquid in solution: -10°C (14°F)
9.4.4 Certifications
- Electrical safety (CE): EN60950-1, EN62368-1
- Electromagnetic compatibility (CE): EN50130-4, EN61000-6-3, EN55032, (Class B), FCC Part 15 (Class B)
- IP protection degree (EN60529):
- IPX4
- EAC certification
Technical drawings
The dimensions of the drawings are in millimeters.

Headquarters Italy Videotec S.p.A.
Via Friuli, 6 – I-36015 Schio (VI)
– Italy Tel. +39 0445 697411
– Fax +39 0445 697414
Email: [email protected]
Asia Pacific Videotec (HK) Ltd
Flat 8, 19/F. On Dak
Industrial Building, No. 2-6 Wah Sing Street
Kwai Chung, New Territories
– Hong Kong
Tel. +852 2333 0601
– Fax +852 2311 0026
Email: [email protected]
France Videotec France SARL
Immeuble Le Montreal, 19bis
Avenue du Québec, ZA de Courtaboeuf
91140 Villebon sur Yvette
– France Tel. +33 1 60491816
– Fax +33 1 69284736
Email: [email protected]
Americas Videotec Security, Inc.
Gateway Industrial Park, 35 Gateway Drive, Suite 100 Plattsburgh,
NY 12901
– U.S.A. Tel. +1 518 825 0020
– Fax +1 518 825 0022
Email: [email protected]
– www.videotec.com

















