
Pair Rockville HP4S BK 4″ Outdoor/Indoor Swivel Home Theater Speakers

Specifications
- PEAK POWER HANDLING: 360 Watts (per pair)
- RMS POWER HANDLING: 120 Watts (per pair)
- MATERIAL: POLYPROPYLENE CONE, RUBBER SURROUNDS
- FREQUENCY RESPONSE: 80Hz – 20KHz
- SENSITIVITY: 90dB @ 1w / 1m
- IMPEDANCE: Available in 4 Ohm or 8 Ohm
- DIMENSIONS (H*W*D): 8.1r x 5.51″ x 4.72″ (206 x 140 x 120mm)
Introduction
These speakers have a sturdy ABS design that allows them to be tossed over your roof without breaking. These are also water and weather resistant, with an IPX44 rating. They are resistant to everything the elements can throw at them, including rain, sleet, snow, and wind. They won’t be harmed if you leave them outside in the rain and wetness. These speakers are ideal for inside applications as well as patios and sizable backyards. These are also ideal for usage in public places like hotels, gyms, and other businesses. For a stronger bass response, rubber surrounds remove undesired distortion. Each pair produces 360 watts of peak output and 120 watts of RMS power. These speakers are blaring at full volume! It has a safe and simple setup
DIMENSIONS

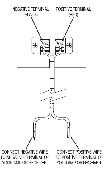
Connecting your speakers
Connecting the speakers to your amplifier or receiver.
- First turn your amplifier off to avoid damage which may result from accidental shorting of the speaker leads.
- Correct phase polarity is critical for proper stereo imaging and bass performance. The red (+) terminal on your amplifier or receiver must be connected to the red (+) terminal on your speaker, the same applies for the back (-) terminal.
- Connect one loudspeaker at a time to ensure proper connection of left and right channels. Make sure all wires are firmly fastened.
- If you notice a high level of bass or central image focus, double check your connections for proper polarity.

MOUNTING

- Remove the bracket knobs and the bracket from the speakers.
- Hold the bracket up to the mounting surface. These speakers can be mounted horizontally or vertically. Use a level to ensure that the bracket is square with its surroundings.
- Once the bracket is level, mark the location of the three screw holes. Be sure to use all the screw holes as this will ensure that the bracket is securely attached to the mounting surface.
- Remove the bracket and drill holes where your marks are.
- Gently pull the speaker wire through the large circular hole in the middle of the bracket. Now place the bracket against the mounting surface so that the holes all line up.
- Use the included hardware to attach the bracket to the mounting surface.
- Mount the speaker to the bracket and tighten the mounting knobs. Do not tighten completely.
- Check to make sure the speaker is in phase and functioning correctly. Angle the speaker to desired position.
- Hand tighten the bracket knobs. Do not use power tools as they may over tighten the knobs and strip the threads of the insert.
- Double check that the installation is safe and secure.
FAQ’s
- Is Rockville a reliable name?
Yes, Rockville is a reputable company. They manufacture reasonably priced, high-quality goods. If you want a high-quality item at a reasonable cost, Rockville is a place you should certainly check out. - Who created the Rockville audio?
Rockville Audio by Peavey Products. - Is Rockville a reliable niche name?
I would advise everyone to use Rockville amplifiers and speakers. These subs really strike hard! With a dB15 6000 watt Rockville amp, I am powering two of them, and they perform admirably. The size of the magnets on them and the volume of air they move are incredible. - A 12 inch subwoofer from Rockville has how many watts?
Peak output power of 1200 Watts. 300 RMS Watts. Super Slim 12″ Subwoofer - How long does it take to receive Rockville audio?
The majority of orders—99.5%—ship within one business day. Within two business days, we will get in touch with you if there is a problem with your order. Orders that physically ship on Friday will only arrive through Next Day Air the following working day, which is typically Monday, unless there are any holidays. - Goodness or MTX Audio?
Yes, MTX audio makes excellent automobile audio products. They provide subwoofers, amps, and speakers that are both inexpensive and of a high caliber. With an MTX audio system, you can’t go wrong! - How can a subwoofer be concealed within a box?
Typically, hiding a subwoofer in a cabinet in your living room is the simplest solution. You may select a compartment within a formal entertainment center in the room to store the sub and keep it out of sight. - How can I link my soundbar to my Rockville subwoofer?
Connecting the ROCKBAR to an AC power source will turn it on. To activate pairing mode, press the Power/ Standby button on the soundbar. 3. The blue LED pairing indication on the subwoofer’s rear will stop blinking after 30 seconds and stay lit. - Do kickers outperform MTX?
Mtx has superior audio quality to any kicker sub. The L7 could become louder, but they will undoubtedly not sound superior to MTX. - Who produces MTX?
the group of Mitek Consumer Electronics
A family-owned American business that has been offering high-performance automobile, marine, home, and street audio equipment to clients in more than 80 countries for more than 40 years is the Mitek Consumer Electronics Group, of which MTX Audio is a member.




















