nvent NUHEAT H59310 Signature Programmable Dual-Voltage Thermostat

ITEMS
- Change date and time
- Access WiFi settings
- Access weather forecast (WiFi connection required)
- Current temperature
- Target temperature or setpoint
- Heating indicator – when visible, system is heating.
- Access energy use data
- Access Main Menu
- GFCI test Button
- GFCI Indicator
- On/Off Button
Press to turn system ON/Reset GFCI Hold to turn system OFF.
WARNINGS:
To avoid electric shock, disconnect the heating system power supply at the main panel before installation and maintenance of the thermostat. Keep thermostat air vents clean and free from obstruction. This thermostat is an electrical product and must be installed in compliance with the National and/or Local Electrical Code. Installation must be performed by qualified personnel where required by law.
Contents

SETUP AND TROUBLESHOOTING VIDEOS, as well as a complete operating manual is available on nVent.com/NUHEAT.
Installation

- Loosen screw at the bottom and remove faceplate. Do not attempt to remove the screw completely.

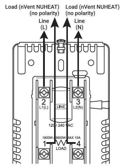
- Turn power source OFF at breaker panel. Make electrical connections on power base. DO NOT over tighten the terminal screws. Secure protective cap onto power base.

- The floor sensor cable must be routed to the junction box separate from power wires and the heating cable cold lead. Ensure that the insulation on the electrical wiring and the floor sensor inside the junction box are not damaged. Thread floor sensor through hole in the power base. Push electrical wires to the back of electrical box.

- Push power base into electrical box. Secure power base to wall.

- Make sensor connections. Remount faceplate. Do not touch the screen when mounting faceplate onto powerbase.

- Turn power source ON at breaker panel. Perform system tests. Once systems tests are complete, press “Start Using Thermostat” and complete setup wizard.

- Go into Settings > WiFi Settings to connect the thermostat to your WiFi network. You will be prompted to provide an email address for account setup. A verification email will be sent containing a link to complete your account setup.

Setup your MyNUHEAT account. The nVent NUHEAT Signature mobile app is available at the App Store or Google Play.
TECHNICAL DATA
Supply ……………………………………………………………………..120/240 Vac 50/60 Hz
Load ………………………………………………………………………..max. 15 A (resistive load)
Power ……………………………………………………………………..1800 W at 120 Vac
……………………………………………………………………………….3120 W at 208 Vac
……………………………………………………………………………….3600 W at 240 Vac
GFCI ………………………………………………………………………..Class A (5 mA trip level)
Temperature range ……………………………………………………+5 to +40°C, +41 to +104°F
Amb. temp. range ……………………………………………………..0 to +25°C, +32 to +77°F
WIFI ………………………………………………………………………..IEEE 802.11 b/g/n
Contains FCC ID ……………………………………………………….2ACSV-HF-LPT230
Contains IC ID ………………………………………………………….12243A-HFLPT230
Construction of Control: Electronic room thermostat for regulating electrical
underfloor heating.
Method of Mounting Control: Independently mounted control for flush mounting
Type of Action ………………………………………………………….Type 2.B.
Rated Impulse Voltage ………………………………………………2500 V
Control Pollution Degree ……………………………………………PD2
CERTIFICATION UL Listed for the US and Canada
According to the following standards:
Thermostat: UL 60730-1
UL 60730-2-9
CSA E60730-1:13
CSA E60730-2-9
UL file number: E157297
GFCI: UL 943 4th ed.
CSA C22.2 No. 144.1-06


























