LIVARNO Touch Dimmer Home Table

List of pictograms used Read the instructions!
| List of pictograms used | |||
![]() | Read the instructions! | ![]() | Electric shock warning! Danger to life! |
![]() | This light is only suitable for indoor use in dry and enclosed spaces. | ![]() | Safe working |
![]() | Volt | ![]() | Caution! Risk of burns due to hot surfaces! |
![]() | Alternating current (type of current and voltage) | ![]() | Switching cycles |
![]() | Hertz (mains frequency) | ![]() | Only insert the light bulb in a dry environment. |
![]() | Watt (effective power) | ![]() | Not dimmable – This lamp is not suitable for external dimmers and electronic switches. |
![]() | Safety class II | ![]() | Dispose of packaging and device in an environmentally-friendly way! |
![]() | Operating life | ![]() | The packaging is made from 100 % recycled paper. |
![]() | Turn-on time | ![]() | Color rendering index |
![]() | Observe the warning and safety instructions! | ![]() | Light temperature in Kelvin |
![]() | Danger to life and risk of accident for infants and children! | ![]() | Lumen |
LED Table Lamp
Introduction
Congratulations on your new product. You have selected a high quality product. The instructions for use are a part of the product. They contain important information about safety, use and disposal. Before using the product, please familiarize yourself with all the operating and safety instructions. Only use the product as described and for the indicated purpose. When passing this production to others, please be sure to include all its documentation. Before using this product for the first time verify the correct voltage and that all parts are properly installed.
Intended use
This light is only suitable for indoor use in dry and enclosed spaces. This product is intended for private household use only. This product is intended for normal operation.
Scope of delivery
Check immediately after unpacking that the parts are complete and that the product is in proper condition.
1 Table lamp 14152102LE / 14152202LE
1 Glass shade
1 LED light bulb
1 Tool (14152202LE)
1 Instructions for use
Parts description
- Illuminant
- In-line switch
- Mains plug
- Lamp base
- Lamp socket
- Lamp glass
- Threaded ring
- Flexible lamp arm (14152202LE)
- Tool (14152202LE)


RISK OF FATAL INJURY AND ACCIDENT HAZARD FOR TODDLERS AND SMALL CHILDREN!
Never leave children unattended with the packaging material. The packaging material represents a danger of suffocation. Children frequently underestimate the dangers.
- This device may be used by children aged 8 years and up, as well as by persons with reduced physical, sensory or mental capacities, or lacking experience and/or knowledge, when supervised or instructed in the safe use of the device and they understand the associated risks. Do not allow children to play with the device. Cleaning and user maintenance must not be performed by children without supervision.
- RISK OF INJURY!
Do not leave the lamp or packaging material lying unattended. Plastic film or bags, Styrofoam etc. can become dangerous toys for children.
Avoid the risk of fatal injury from electric shock
- Luminaire with strong conducted disturbances can cause nuisance triggering, it can be self-recovered.
- Always check the mains plug for damage before connecting the light to the mains. Never use the light if it shows any signs of damage.
- In the event of damage, repairs or other problems with the light, please contact the service center or an electrician.
- Ensure that the light does not come into contact with water or other liquids under any circumstances.
- Never open or insert anything into electrical fittings or equipment (e.g. switches, fitting socket).
- This will pose a risk of fatal injury from electric shock.
Only touch the insulated area of the mains plug when connecting to or disconnecting from the mains! - To prevent hazards, a damaged flexible outer lead of this light may only be exchanged by the manufacturer, his service representative or by an equally qualified specialist.
- Before every use, verify the available mains voltage matches the required operating voltage of the light (see “Technical data“).
- Always unplug the mains plug, respectively, from the mains prior to assembly, disassembly, cleaning, or when the light will not be used for extended periods.
- Do not install the lamp on a wet or conductive surface.
Only insert the light bulb in a dry environment.
This lamp is not suitable for external dimmers and electronic switches.
Safe working
- Position the lamp so it is protected from moisture and dirt.
- Always be attentive! Always pay attention to what you are doing and use common sense.
- Do not cover the lamp with objects. Excessive heat can result in fire.
- Do not look into the illuminant from a close distance during operation.
- Do not use optical instruments to look at the illuminant.
- In order to disconnect the light completely from the power supply, the mains plug must be removed from the socket.
- Only use the light bulbs specified in the chapter “Technical data“.
Initial use
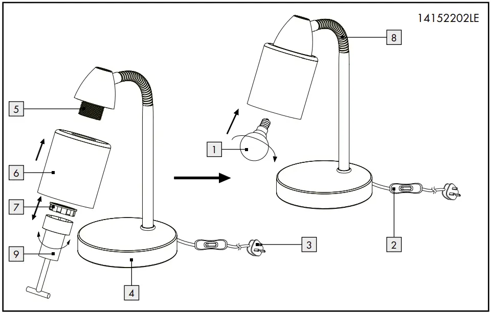
Mounting the lamp
Note: Remove all packaging materials from the product.
- Loosen the threaded ring
from the lamp socket
.For model 14152202LE use the included tool. - Place the lamp glass
over the lamp socket
and bring it in the right position. - Screw the lamp glass
to the threaded ring
. Make sure it is correctly positioned. For model 14152202LE use the included tool
. - Use a clean, lint-free, dry cloth to insert the illuminant
. - Screw the illuminant
clockwise into the lamp socket
. - Plug the mains plug
into a socket that has been professionally installed.
Your light is now ready to use.
Switching the light on/off
- Touch the In-line switch
to switch the lamp on or off.
Adjusting the light (14152202LE)
CAUTION! RISK OF BURNS DUE TO HOT SURFACES!
Note: Never change the direction of the light while it is switched on.
- Allow the lamp to cool down completely.
- Adjust the flexible lamp arm
to the desired position.
Changing the light bulb
- Switch the lamp off.
RISK OF ELECTRIC SHOCK!
First unplug the mains plug
from the socket.
CAUTION! RISK OF BURNS DUE TO HOT SURFACES! - Allow the lamp to cool down completely.
- Use a clean, lint-free, dry cloth when replacing the illuminant
. - Unscrew the defective illuminant
from the lamp socket
, turning counter-clockwise. - Screw a new illuminant, clockwise into the lamp socket
. - Plug the mains plug
into a properly installed socket.
Your light is now ready to use.
Maintenance and cleaning
Switch the lamp off.
RISK OF ELECTRIC SHOCK!
First remove the mains plug
from the socket.
CAUTION! RISK OF BURNS DUE TO HOT SURFACES!
Allow the lamp to cool down completely.
RISK OF ELECTRIC SHOCK!
For electrical safety, never clean the light with water or other liquids, or immerse it in water.
Do not use solvents, benzene or similar substances. They could damage the light.
Only use a dry, lint-free cloth for cleaning.
Plug the mains plug
into a properly installed socket.
Disposal
The packaging is made entirely of recyclable materials, which you may dispose of at local recycling facilities.
Observe the marking of the packaging materials for waste separation, which are marked with abbreviations (a) and numbers (b) with following meaning:
1–7: plastics /20–22: paper and fiberboard/80–98: composite materials.
To help protect the environment, please dispose of the product properly when it has reached the end of its useful life and not in the household waste. Information on collection points and their opening hours can be obtained from your local authority.
Warranty and service
Warranty
You receive a 36 month warranty on this product ,valid from the date of purchase. The appliance has been carefully produced under strict quality control. Within the warranty period we shall rectify without charge all material and manufacturing defects. In the event that a defect arises during the warranty period, please send the device to the listed service center address, quoting the following model number:
14152102LE /14152202LE.
Wear parts (such as bulbs) and damage caused by improper handling, non-observance of the operating instructions or unauthorized interference are excluded from the warranty. The performance of services under the warranty does not extend or renew the warranty period.
Service address
Briloner Leuchten GmbH & Co. KG
Im Kissen 2
59929 Brilon
GERMANY
Tel.: +49 29 61/97 12–800
Fax: +49 29 61/97 12–199
E-Mail: [email protected]
www.briloner.com
IAN 365679_2010
Please have your receipt and the item number (e.g. IAN 123456_7890) ready as your proof of purchase when enquiring about your product.
Declaration of conformity 
This product fulfils the requirements of the applicable European and national directives. Conformity has been demonstrated. The relevant declarations and documents are held by the manufacturer.
Manufacturer
Briloner Leuchten GmbH & Co. KG
Im Kissen 2
59929 Brilon
GERMANY








































