259940 Crawford LED Touch Table Lamp
Instruction Manual
CRAWFORD LED TOUCH TABLE LAMP
SKU# 259940, 259941
Rated Voltage 12V
0.36A
Thank you for purchasing this quality Lucci product. To ensure correct function and safety, please read and follow all instructions carefully before assembly, installation and use of the product. Please keep the instructions for future reference.
Warranty
- This fitting is covered by a 3 year warranty from the date of purchase. Please retain proof of purchase.
- Warranty will be void if there is any damage due to improper usage or modification to the product.
- Failure to comply with the instructions in this manual may increase the risk of damage or injury and will void warranty.
Installation Requirements
- Select a suitable location for this light fitting;
– Ensure it is on a flat and stable surface.
– This product is suitable for indoor use only.
– Do not place flammable material near or over the fitting.
– Ensure the fitting is not installed in direct line of an air vent/system.
– If installing a fitting in an area prone to moisture, ensure that the area is well ventilated and an appropriately rated exhaust fan is used if required. Damage or corrosion caused by moisture is not a product fault, and as such is not covered under warranty. - Only use the supplied plug in LED driver with this fitting.
- Take care not to pull any electrical wires during unpacking as this may damage the connection.
- Lay out all the components on a smooth surface and make sure there are no components missing before assembling.
If parts are missing, return the complete product to the place of purchase for inspection or replacement. - Check whether the fitting has been damaged during transport. Do not operate/install any product which appears damaged in any way. Return the complete product to the place of purchase for inspection, repair or replacement.
- Do not plug into the mains power socket outlet before or during assembly. Only do so after the portable lamp is fully assembled and ready to use for the first time.
Installation Directions
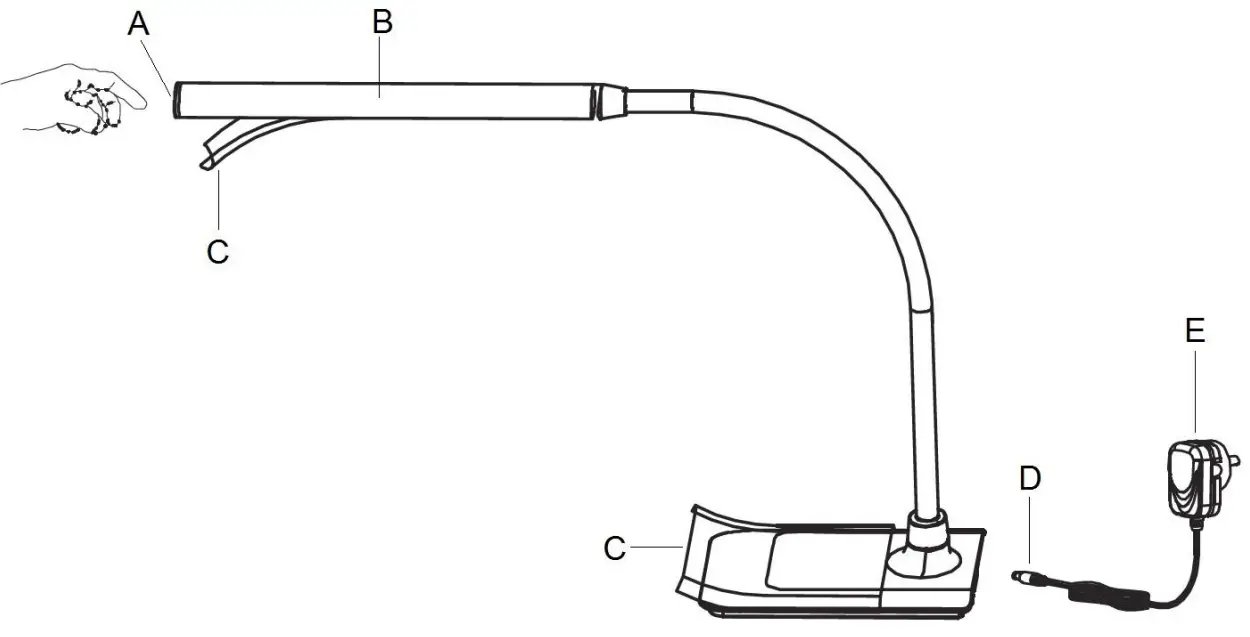
- Remove all packaging material (C) from the product.
- Select a suitable location for the light fitting. See the installation requirements above.
- Adjust the head (B) to the desired height and angle.
NOTE: When adjusting the angle of the head (B) do not rotate more than 180° as this may damage the internal wires.
When adjusting the height of the head (B) do not adjust more than 90° as this may damage the internal wires.
See diagram on the bottom of the next page. - Insert the connector (D) into the base of the fitting.
- Insert the LED driver (E) into the mains socket outlet and ensure it is fully plugged in.
- Turn power on at the mains power socket outlet.
- This fitting has a 4 step dimming function, operating in the following order:
Press the touch switch (A) once, and the fitting will turn on and light up at low brightness, approximately 15%.
Press the touch switch (A) a second time, and the fitting will light up at medium brightness, approximately 40%.
Press the touch switch (A) a third time, and the fitting will light up at the high brightness, approximately 65%.
Press the touch switch (A) a fourth time, and the fitting will light up to the highest brightness at 100%.
Press the touch switch (A) a fifth time, and the fitting will turn off.


NOTE: When adjusting the angle of the head (B), do not rotate more than 180° as this may damage the internal wires.
When adjusting the height of the head (B), do not adjust more than 90° as this may damage the internal wires.
Safety Tips
- Always ensure the power is OFF and the fitting has cooled down before performing any maintenance, cleaning or adjustment to the fitting.
- To avoid injury or damage to the fitting, ensure that power leads and screws are secure before connecting the power.
- Young children should be supervised to ensure that they do not play with the portable lamp.
- Handle the fitting and/or shade with care to avoid any damage or breakage.
- Select a suitable location away from liquids and hazards.
- Ensure that the fitting does not come in contact with corrosive chemicals, etc.
- To clean, wipe with a damp clean cloth. Never soak the fitting with water.
Specifications
| SKU # | 259940 | 259941 |
| Colour | White | Black |
| Rated Voltage | 12V | |
| Rated Wattage | 5.3W (including driver) | |
| LED Specs | 360 Lumens, 4000K Cool White | |
| Weight | 0.8kg | |
| Dimensions | H:695mm W:120mm L:475mm MAX | |


















