
EXTRACTOR HOOD K43X
Instructions booklet
![]()
Introduction
This booklet contains all the information necessary for the correct use, maintenance and installation of this appliance. The purpose of this document is to enable the installer and especially the user to take all the necessary measures and precautions to ensure a safe, long lasting and effective use of the appliance.
Keep this booklet carefully for the entire life cycle of the appliance for subsequent reference by the people who will use it and specialised technicians. If the documentation is lost or damaged, a replacement can be obtained directly from the manufacturer or retailer.
The manufacturer declines all responsibility for damage to persons or things caused by improper use or modifications or repairs carried out by unauthorised personnel and the use of non-original spare parts or spare parts not intended for use with this model.
This appliance complies with current EEC directives.
Instructions for disposal
1. ENVIRONMENTAL CARE
1.1 Our environmental care
Pursuant to Community Directives relating to the reduction of the use of hazardous substances in electrical and electronic appliances, as well as to the disposal of refuse, the crossed-out bin symbol on the appliance indicates that the product, at the end of its working life, must be collected separately from other refuse. Therefore, the user must deliver the product that has reached the end of its working life to the appropriate recycling centre for electrical and electronic refuse, or return it to the retailer when purchasing an equivalent product, on a one for one basis. Adequate selective collection for the subsequent forwarding of the decommissioned product to recycling, treatment and ecologically compatible disposal contributes to avoiding possible negative effects on the environment and on health and promotes the recycling of the materials of which the appliance consists. Illicit disposal of the product by the user will lead to the application of administrative sanctions.
The product does not contain substances in quantities sufficient to be considered hazardous to health and the environment, in accordance with current European directives.
1.2 Your environmental care
Our product’s packaging is made of non-polluting materials, therefore compatible with the environment and recyclable. Please help by disposing of the packaging correctly. You can obtain the addresses of local collection, recycling and disposal centres from your retailer or from the competent local organisations.
Do not discard the packaging or any part of it, or leave it unattended. It can constitute a suffocation hazard for children, especially the plastic bags.
Your old appliance also needs to be disposed of correctly.
Important: hand over your appliance to the local agency authorised for the collection of electrical appliances no longer in use. Correct disposal enables intelligent recovery of valuable materials.
Before disposing of your appliance, you should remove the grease filter to ensure that children cannot accidentally become trapped inside whilst playing. It is also necessary to cut the connecting cable to the mains, removing it along with the plug.
Instructions for the installer
2. PRECAUTIONS
Read the instructions booklet carefully before installing and starting up the appliance. All installation, assembly, servicing and extraordinary maintenance must be carried out by qualified personnel who have the necessary professional requisites (authorised by the manufacturer or dealer) and in accordance with current regulations regarding product and workplace safety in the country of installation. Incorrect installation, servicing, maintenance, cleaning and any tampering or modifications can cause malfunctions, damage and injury. The function of this appliance is to extract the steam emitted from the oven’s steam outlet and steam that escapes when the oven door is opened. Any other use is considered improper and therefore dangerous. This appliance is intended for commercial use, for example in kitchens of restaurants, canteens or hospitals and in commercial enterprises such as bakeries, butcher shops etc. but not for the continuous mass production of food. Take special care when there are other appliances that use an open flame in the same room in order to prevent the backflow of combustion gases. Do not flambé foods under the extractor hood.
3. PRELIMINARY OPERATIONS
On receipt of the appliance, make sure it has not been damaged during transport and that the packaging has not been tampered with. In the case of damage or missing parts, inform the carrier and dealer / manufacturer immediately, indicating the Model and the Serial Number and attach a photo.
Make sure that doors, corridors and passageways are kept clear in order to allow access to the place of installation.
WARNING: the appliance could tip over when being moved and may break or cause damage to things and people. Use suitable handling equipment, also taking into account the weight of the appliance.
4. PLACE OF INSTALLATION
The appliance must be installed indoors in well-ventilated rooms (not outdoors). Before positioning the appliance, check the overall dimensions and the exact position of the electrical and water connections. Position the appliance so that the back is easily accessible to allow electrical and water connections to be made and maintenance to be carried out. Do not place the appliance near to flammable materials or containers of inflammable materials (such as walls, furniture, partitions, gas cylinders) as it can cause a fire hazard. If this is not possible, cover the flammable parts with heatproof non-flammable insulation materials, paying close attention to fire prevention regulations.
5. PREPARING FOR INSTALLATION
Remove the outer packaging and dispose it in accordance with the current regulations in the country of installation.
5.1 Removing protective film etc.
Completely remove the protective film from the external and internal walls.
Remove all traces of glue.
If this is not possible, remove it using a suitable solvent.
Remove all information materials from the inside and any plastic bags.

5.2 Positioning


Fig. 5.2.1 – Unscrew the 2 screws of the oven (1);
Fig. 5.2.2 – Place the extractor hood (2) on the oven (3);



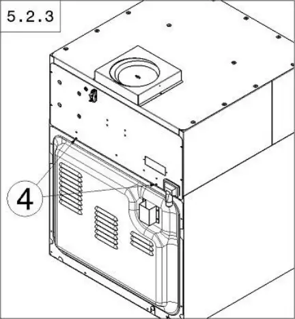
Fig. 5.2.3 – Secure the extractor hood to the oven using the 2 screws (4);
Fig. 5.2.4 – Secure the shroud (5) to the extractor hood using 3 screws;
Fig. 5.2.5 – Mount the corrugated hose (6) onto the hood exhaust outlet.
5.3 Air connection systems
5.3.1 DUCTING version
The hood is supplied in the filter version. Follow the instructions below to set-up the hood in the ducting version. Fig. 5.3.1 – 1) Unscrew 2 screws on the casing – 2) Remove the casing – 3) Remove the activated carbon filter. Fig. 5.3.2 – 4) Insert 2 half valves into the motor inlet – 5) Replace the casing over the motor – 6) Screw the 2 screws back onto the casing. Fig. 5.3.3 – 7) Connect the motor to the fumes outlet with a conduit having an internal diameter of 150 mm. Test by turning on the hood and pressing the maximum speed button
. Fig. 5.3.4 – 8) Position the flue above the hood – 9) Secure the casing with two screws. After 100 hours of hood operation, the lights of buttons
,
and
will flash until the reset is complete. In the ducting configuration, because there is no activated carbon filter, you simply have to reset the controls, as indicated in the “Hood operation” section.




5.3.2 FILTER version
The hood is supplied in the filter version. After 100 hours of hood operation, the lights of buttons
,
and
will flash to indicate that the active carbon filter should be replaced. Contact the nearest authorized SMEG service centre to purchase a replacement activated carbon filter: model FLT6. Follow the instructions below to replace it. Fig. 5.3.1 – 1) Unscrew the 2 screws from the casing – 2) Remove the casing – 3) Replace the activated carbon filter –2) Replace the casing over the motor – 1) Screw the 2 screws back onto the casing. Test by turning on the hood and pressing the maximum speed button
. The old filter should be disposed of in accordance with the current regulations in the country of installation.
6. ELECTRICAL CONNECTION
6.1 Warning
WARNING: Connection to the mains power supply must be carried out by a qualified and authorised technician and in accordance with the current international, national and local regulations in the country of installation. Before connecting to the mains power supply, make sure that the voltage (…..V) and frequency (….Hz) are the same as those indicated on the data plate on the back of the appliance. Position the cable so that no part of it is exposed to a room temperature of more than 50°C. For appliances equipped with cable and plug (single-phase 220-240V) simply insert the plug into the appropriate socket (the socket must be suitable for the plug supplied and must be rated for the load required by the appliance, which is indicated on the Data Plate). It must also be earthed. The appliance should be positioned so that the plug is always accessible.
The appliance is supplied with certified cable and plug (where provided); they must not be tampered with or modified.
The cable can only be replaced: this must be carried out by a qualified and authorized technician. The earth wire should always be yellow-green.
The appliance should be connected directly to the mains power supply and must be fitted with an easily accessible upstream switch and installed in accordance with the current international, national and local regulations in the country of installation. This switch must have a contact separation in all poles that provides full disconnection under overvoltage category III.
Proper earthing is mandatory and for no reason should the earth wire be interrupted by the protective switch.
When the appliance is in operation, the power supply voltage must not fluctuate by more than ± 10% with respect to the value shown on the data plate.
Incorrect connection could lead to the terminal board overheating, which could cause it to melt or cause an electric shock.

EQUIPOTENTIAL CONNECTION – This connection shall be carried between the different appliances with the terminal marked by the symbol: (see image). This terminal enables the connection of Yellow/Green cable with a section between 2.5 and 10mm2. The appliance shall be included in an equipotential system whose efficiency shall be duly verified according to the provisions of the laws in force.
6.2 Cable replacement
This should only be carried out by a qualified and authorised technician. The earth wire should always be yellow-green.
Make sure that all electrical connections are tight before connecting the oven to the mains power supply.
WARNING: incorrect connection could lead to the terminal board overheating, which could cause it to melt or cause an electric shock.
Check for earth leakage between the phases and earth. Check for electrical continuity between the external casing and the earth wire of the mains. We recommend using a multimeter to perform these tasks.
7. DRAINAGE CONNECTION
7.1 Waste water
Water coming out from the drainage system of the appliance may reach high temperatures (90°C). The hoses used for draining the water must be able to withstand such temperatures.
The water drainage pipe is located in the back of the appliance and should be connected using a rigid or flexible pipe and conveyed to an open drain or a drain with a water trap; its diameter must not be smaller than that of the appliance’s drainage connection. It is recommended that you install a suitable water trap between the appliance and the drain to prevent vapours escaping from the hood and unpleasant odours entering from the drainage system.
Avoid pinching in the hoses or elbow joints in rigid pipes along the entire drainage system. Too ensure adequate flow, the pipe must have a minimum slope of 5% along its entire length. Any pipes that are almost horizontal should not be longer than one metre.
The appliance must have its own connection to the drain. If there are other appliances or equipment connected to a single pipe, make sure it is large enough allow proper drainage and unobstructed flow.
Local regulations and standards must be followed.
8. TECHNICAL DATA
8.1 Product Code
K43X (for the various versions of ALFA43 ovens)
8.2 Connections diagram

| AU – Water outlet | UH – Hot fumes outlet |
| CA – Power cable | FC – Oven fumes shroud |
8.3 Data plate

Absorbed power appliance nominal power kW
Power supply Terminal connection type
Supply frequency: Appliance frequency in Hz
Instructions for the user
9. PRECAUTIONS
Read this booklet carefully as it provides information on the safety and use of the appliance. Keep carefully for future reference.
Incorrect installation, servicing, maintenance, use, cleaning and any tampering or modifications can cause malfunctions, damage and injury.
The appliance is intended for professional use and must be used by qualified personnel.
- The appliance is not suitable for use by people with reduced physical or mental capacity or lacking experience, unless instructed regarding the operation of the appliance by the personnel in charge of their safety.
- Do not leave the appliance unattended in the presence of children and make sure that they do not use or play with it.
- It is recommended not to place heat sources near to the appliance.
- Under no circumstances leave flammable materials near the appliance: it may be a fire hazard.
It is recommended that you disconnect the power supply if the appliance is to remain unused for a long time (several days for example).
The manufacturer declines all responsibility for damage to persons or things caused by failure to comply with the above instructions or due to tampering with even just one part of the appliance and the use of non-original spare parts.
This appliance complies with current EC directives.
10. FIRST USE
Before putting the appliance into operation, make sure that all the checks have been carried out to ensure that the system and the installation comply with statutory regulations and the technical and safety instructions provided in this manual.
There should be no plastic bags, instruction manuals, plastic film or anything else inside the appliance.
All packaging materials must be removed, including the protective film on the walls of the appliance.
The vents and ventilation slots should be open and free from obstructions.
10.1 Hood operation
The following controls are found on the front of the appliance:

10.2 Features
- Shutdown timer
- Intensive function
- Light brightness control
10.3 Touch Technology
The unit uses capacitive sensors to detect the touch of the button on the front glass panel.
10.4 Switching on
When power is turned on, the unit will be in the off mode. Only the
button is illuminated (low brightness). After touching the
button, the unit will go into Stand-By mode and all buttons will be dimly lit. In Stand-by mode, the user can activate any function that is allowed by the operating logic. The button of the active function will be brightly lit.
Hood OFF button. (If the fan and the light are on)
Fan speed 1 button. Lights up when the motor is running at speed 1.
Fan speed 2 button. Lights up when the motor is running at speed 2.
Fan speed 3 button. Lights up when the motor is running at speed 3.
Intensive speed button. Lights up when the motor is running at speed 4*.
Light on / off button. Illuminated when on.
(*) Intensive function: The motor switches from speed 4 to speed 3 after about 7 minutes. During the time in which the intensive function is active, the button flashes and the timer function is not activated.
,
,
Pressing these buttons twice activates the timer. The timer function can only be activated when the fan motor is on. Once activated, a 10-minute timer starts, when the time elapses, the motor stops and the light switches off. The button flashes during this time. The timer can be cancelled by touching the same button.
10.6 Light brightness adjustment function:
A brief touch of the
button immediately switches the light on or off. Touching and holding this button for more than 1 second gradually increases the brightness to the maximum level and then decreases it to the minimum level as long as the button is pressed. Release the button once you have obtained the required brightness. This level of brightness will be saved in the non-volatile memory so that it will be set each time the light is switched on by tapping the button once. Tapping the light button twice when the light is off will set it to maximum brightness. The factory setting is for maximum brightness.
10.7 Reset filter cleaning
After 100 hours of hood operation, buttons
,
and
will start to flash to remind you to clean the filter. To reset this warning, press the ON / OFF button for 5 seconds, the light of the ON / OFF button will flash once to indicate that the filter time has been reset.
10.8 24h Clean Air Function
The 24h Clean Air function allows you to clean the air in the room. To start the 24h function, press and hold the
button for 3 seconds. The extraction hood will run at minimum speed for 10 minutes every hour (up to a maximum of 24 hours). The
and
buttons will flash as long as the function is active. Briefly touching any button (apart from the
button) will disable the function.
10.9 Cleaning the hood
Before cleaning the appliance, disconnect it from the power supply and wait until it has cooled down completely.
WARNING: the appliance should never be cleaned using jets of water or pressurized steam.
To clean the appliance internally and externally, only use cloths moistened with warm soapy water and then rinse. Do not use harsh products containing ammonia, sand or caustic soda, acids or chlorides that attack the surfaces.
The filter clips in to the front of the hood. It should be washed periodically by hand and dried at room temperature or by washing in the dishwasher and drying at room temperature (or in the oven at a maximum temperature of 50°C for a maximum of 1 hour).

The filter can be removed by sliding it upwards and slipping it off from the lower guide. Then slightly rotate the lower part to release it completely. Reinstall by carrying out the above procedure in reverse.
11. REGULAR MAINTENANCE
In case of dirt deposits, use only plastic spatulas or a sponge soaked in vinegar and warm water.
12. EXTRAORDINARY MAINTENANCE
It is recommended that you have the appliance inspected periodically (at least once a year) by a specialized and authorized technician.
Any maintenance, installation or repairs should be carried out by qualified authorised personnel by contacting Technical Support. Before carrying out any work, switch off the power supply and wait until the appliance has cooled down.
Before moving the appliance from its position, make sure that the electricity and water connections (electric cables and drain hose) are properly disconnected.
If the appliance is on wheels, make sure that any electric cables, hoses etc. are not damaged while it is being moved. Make sure that you engage the wheel brakes. Avoid placing the appliance near heat sources (e.g. fryers etc.).
After carrying out servicing and having put the appliance back in its original position, make sure that the electricity and water connections have been connected correctly.
13. MAINTENANCE IN THE EVENT OF A MALFUNCTION
If the appliance malfunctions, disconnect it from the power supply.
Reconnect the appliance to the power supply and check if the problem persists.
If the problem persists, we recommend that you contact your dealer or the manufacturer and ask for the Assistance Service explaining the problem and indicating the model of your appliance. This information can be found on the DATA PLATE on the back of the appliance and in the instructions booklet.
13.1 Spare parts
Only use original spare parts. All interventions must be carried out by authorized and specialized technicians. Contact the Service Centre for spare parts.
1701073


















