TH651X Built In Extractor Hood

Product Information: Cooker Hood
The cooker hood, also known as kuhinjska napa, dunstabzugshaube, Mo’ri, and Campana decorative, is available in two variants: TH651X and TH651W (742391 and 742392). The product manual provides warnings and installation instructions in several languages, including English, German, Swedish, Finnish, and Danish. The hood can be used in two versions – duct-out or recirculating. The duct-out version evacuates vapours through an exhaust pipe attached to the connecting flange. On the other hand, the recirculating version degreases and deodorizes the air before sending it back into the room.
Warnings and Installation
Before using the cooker hood, it is important to follow the installation safety guidelines provided in the manual. Also, ensure that the electrical connection is safe and secure. If the product features one or more carbon filters, they must be removed before installation. While installing the duct-out version, connect the product to wall-mounted exhaust pipes and holes with a diameter equivalent to the air outlet (connecting flange). The use of pipes and outlet holes in the wall with a smaller diameter will reduce the extraction performance and increase the noise level.
Recommendations for Use
It is recommended to use non-aggressive detergents to clean the metallic anti-grease filter once a month manually or in a dishwasher on a short wash at low temperatures. The carbon filter cartridge must be replaced at least every four months for filter version only. Do not wash or regenerate it. If you are using the recirculating version, install an additional activated carbon filter system.
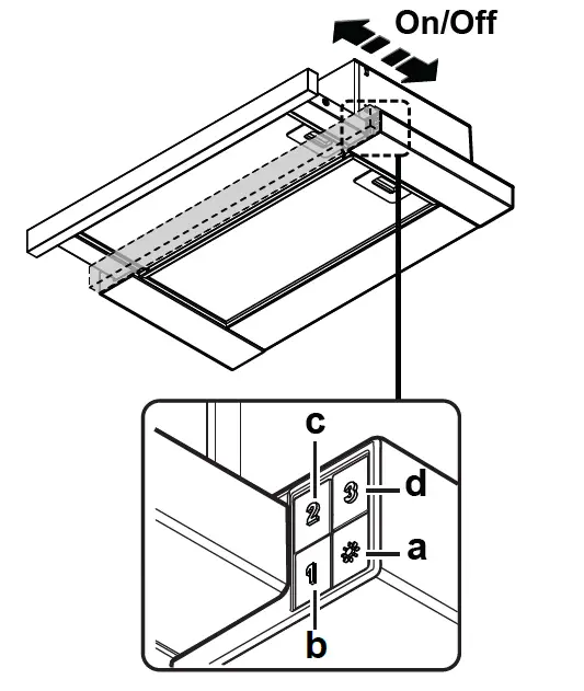
Operation
The hood is equipped with a control panel with a suction speed control and a light control to light up the hob. The ON/OFF light switch, Speed 1/OFF switch, 2-speed selection, and 3-speed selection are available for operation.
Maintenance Warnings
The metallic anti-grease filter must be cleaned once a month with non-aggressive detergents, manually or in a dishwasher on a short wash at low temperatures. The carbon filter cartridge must be replaced at least every four months for filter version only. Do not wash or regenerate it. The grease filter may discolor, but its filtering characteristics remain unchanged. After somewhat prolonged use depending on the type of cooking and how regularly the grease filter is cleaned, it may need to be replaced.
End-of-life Disposal
The cooker hood is marked in compliance with the European Directive 2012/19/EC – UK SI 2013 No.3113, Waste Electrical and Electronic Equipment (WEEE). Dispose of it in accordance with local regulations for waste disposal. The user helps prevent potential negative consequences for the environment and for health. For further information about the treatment, recovery, and recycling of this product, please contact your local authority, the collection service for household waste or the shop from where the product was purchased.
Warnings and installation
The product is designed for the extraction of cooking fumes and steam and it is for domestic use only.
Strictly observe the instructions in this manual. No liability shall be accepted for any inconvenience, damage or fire caused to the product as a result of not following the instructions given in this manual.
The device may have different aesthetic features with respect to the illustrations in this handbook, however the operating, maintenance and installation instructions remain the same.
- It is important to keep all the manuals accompanying the product so that they can be consulted at all times. If sold, transferred or moved, make sure it remains with the product.
- Read the instructions carefully: they contain important information on installation, operation and safety.
- Check the integrity of the product prior to its installation. Otherwise, contact the dealer and do not continue with the installation.
GENERAL SAFETY
- Do not make electrical or mechanical changes on the product or on the exhaust pipes.
- Before doing any cleaning or maintenance work, disconnect the product from the mains power supply by removing the plug or turning off the mains switch.
- For all installation and maintenance operations, always wear work gloves.
- The product can be used by children over the age of 8 and by people with reduced physical, sensory or mental capabilities or without experience or the necessary knowledge, as long as they are properly supervised or have been instructed on how to safely use the device and understand the inherent dangers.
- Children must be supervised to make sure that they do not play with the product.
- Cleaning and maintenance must never be performed by children unless they are properly supervised.
- The room must have sufficient ventilation when the product is used at the same time as other appliances burning gas or other fuels.
- The product must be cleaned frequently both inside and out (AT LEAST ONCE A MONTH); always follow the instructions given in the maintenance manual.
- Failure to comply with the rules indicated for cleaning the product and replacing/cleaning the filters may result in the risk of fire.
- It is strictly forbidden to cook food on the flame under the product.
WARNING: When the hob is on, the accessible parts of the product may become hot. - Do not connect the product to the electrical power supply until the installation is complete.
- The regulations laid down by local authorities must be strictly followed with regard to the technical and safety measures to adopt for fume extraction.
- The extracted air must not be conveyed through the same ducts used to extract the fumes generated by gas combustion or other types of combustion products.
- Do not use or leave the product without appropriately installed lamps, as this may result in the risk of electric shock.
- The product must NEVER be used without the grille correctly fitted.
- The product must NEVER be used as a support surface unless expressly indicated.
- Range hoods and other cooking fume extractors may adversely affect the safe operation of appliances burning gas or other fuels (including those in other rooms) due to back flow of combustion gases. These gases can potentially result in carbon monoxide poisoning. After installation of a range hood or other cooking fume extractor, the operation of flued gas appliances should be tested by a competent person to ensure that back flow of combustion gases does not occur.
- To replace the lamp, only use the lamp indicated in the maintenance/lighting system section of this manual.
- Using a naked flame may damage the filters and cause a fire hazard, and must therefore be avoided under all circumstances.
- Extra care must be taken when frying to prevent the oil from overheating and catching fire.
- In case of doubt, contact the authorized service center or similar qualified personnel.
INSTALLATION SAFETY
- Use the fixing screws supplied with the product only if suitable for the surface; otherwise purchase the correct type of screws.
- Check for accessories (e.g. bags containing screws, warranty certificates, etc.) inside the product (placed there for transport reasons). If there are any, remove them and keep them safe.
- WARNING: Failure to install screws and fasteners in accordance with these instructions may result in electrical hazards.
- The exhaust pipe is not supplied and must be purchased.
- The diameter of the exhaust pipe must be equivalent to the diameter of the connecting ring.
- For installation of the product on the hob, respect the height indicated in the drawings
- The minimum distance between the surface of the container supports on the cooker and the lowest part of the range hood must not be less than 50 cm (not less than 65 cm only for Australia and New Zealand) for electric cookers and 65 cm for gas or mixed cookers.
- If the installation instructions of the gas cooker specify a greater distance, take it into account.
ELECTRICAL CONNECTION SAFETY
- The mains voltage must correspond to the voltage indicated on the label found inside the product.
- If it features a plug, connect the product to a socket that complies with current standards, located in an area accessible even after installation.
- If it does not feature a plug (direct connection to the mains) or the plug is not located in an accessible area, even after installation, apply a standard double pole switch that ensures complete disconnection from the mains in category III overvoltage conditions, in accordance with the installation rules.
- The product features a special power cable; if the cable is damaged, contact the Service Centre for a replacement.
- Please note! Before reconnecting the circuit to the mains power supply, make sure that it is working correctly, always check that the power cable is correctly installed.
- Please note! Do not use with a programmer, timer, separate remote control or any other device that activates automatically.
RECOMMENDATIONS FOR USE
Recommendations for correct use in order to reduce the impact on the environment: When cooking begins, the device should be turned on at minimum speed, and left on for a few minutes even after cooking is complete. Increase the speed only if there is a large quantity of fumes and steam, using the Booster function only in extreme cases. To keep the odour reduction system running efficiently, replace the carbon filter/s when necessary. To ensure the high performance of the grease filter, clean it when necessary. To improve efficiency and minimize noise, use the maximum duct diameter indicated in this manual.
USE
The extraction system can be used in the duct-out version with external evacuation, or in the recirculating version with filtering and internal recirculation.
Duct-Out Version:
Vapors are evacuated outside through an exhaust pipe attached to the connecting flange.
CAUTION! If the product features one or more carbon filters, they must be removed.
Connect the product to wall-mounted exhaust pipes and holes with a diameter equivalent to the air outlet (connecting flange).
The use of pipes and outlet holes in the wall with a smaller diameter will reduce the extraction performance and drastically increase the noise level.
All responsibility in this regard is therefore denied.
- Use a ducting pipe with the shortest length necessary.
- Use a ducting pipe with the least number of bends possible (maximum bend angle: 90°).
- Avoid drastic changes in the ducting pipe diameter.
Recirculating Version:
The suctioned air will be degreased and deodorized before it is sent back into the room. To use the product in this version, it is necessary to install an additional activated carbon filter system.
ASSEMBLY BEFORE INSTALLATION
- Check that the product is the right size for the installation area.
- Remove the activated carbon filter(s) if supplied (see also relevant paragraph).
- It(they) must be reinstalled if the product is used in the filter version.
- If there are panels and/or walls and/or wall units on the sides, make sure that there is enough space to install the product and that it is always possible to access the control panel easily.
- The product is equipped with fixing plugs suitable for most walls/ceilings. However, it is necessary to consult a qualified technician to make sure that the materials are suitable for the type of wall/ceiling. The wall/ceiling must be strong enough to support the weight of the hood.
OPERATION
The hood is equipped with a control panel with a suction speed control and a light control to light up the hob.

- a. ON/OFF light switch
- b. Speed 1/OFF switch
- c. 2-speed selection
- d. 3-speed selection
MAINTENANCE WARNINGS
- Cleaning: For cleaning, simply use a cloth moistened with neutral liquid detergents. Do not use cleaning tools or instruments.
- Avoid the use of abrasive products. DO NOT USE ALCOHOL!
For product maintenance, see the images at the end of the installation marked by this symbol.
Anti-Grease Filter: The metallic anti-grease filter must be cleaned once a month with non-aggressive deter-gents, manually or in a dishwasher on a short wash at low temperatures. To remove the anti-grease filter, pull the spring release handle.- The Anti-Grease Filter traps the grease particles produced during cooking. When cleaned in the dishwasher, the metal grease filter may discolor, but its filtering characteristics remain unchanged.
Carbon filter (for filter version only): The cartridge must be replaced at least every four months. It CANNOT be washed or regenerated.- As indicated in the drawings section: remove the anti-grease filters, apply a carbon filter on each side and attach it to the product. Put the anti-grease filters back in place.
- The carbon filter retains any unpleasant odors produced during cooking.
- The saturation of the carbon filter can occur after somewhat prolonged use depending on the type of cooking and how regularly the grease filter is cleaned.
- Lighting system : The lighting system cannot be replaced by the user, contact Customer Service in case of malfunction.
- The lighting system is based on LED technology. LEDs provide optimal illumination, last up to 10 times longer than conventional lamps and save 90% of electricity.
- Lamp Replacement : Disconnect the product from the electrical power supply. Please note! Before touching the lamps, make sure they have cooled. For the type of lamp to use, see the indications in the drawings section.
END-OF-LIFE DISPOSAL
This device is marked in compliance with the European Directive 2012/19/EC – UK SI 2013 No.3113, Waste Electrical and Electronic Equipment (WEEE). Make sure that this product is disposed of correctly. The user helps prevent potential negative consequences for the environment and for health.
The symbol on the product or accompanying documentation indicates that this product should not be treated as household waste but should be handed over at a suitable collection point for the recycling of electrical and electronic equipment. Dispose of it in accordance with local regulations for waste disposal. For further information about the treatment, recovery and recycling of this product, please contact your local authority, the collection service for household waste or the shop from where the product was purchased.
REGULATIONS
Equipment designed, tested and manufactured in compliance with safety regulations: EN/IEC 60335-1; EN/IEC 60335-2-31, EN/IEC 62233. Performance: EN/IEC 61591; ISO 5167-1; ISO 5167-3; ISO 5168; EN/IEC 60704-1; EN/IEC 60704-2-13;EN/IEC 60704-3; ISO 3741; EN 50564; IEC 62301. EMC: EN 55014-1; CISPR 14-1; EN 55014-2; CISPR 14-2; EN/IEC 61000-3-2; EN/IEC 61000-3-3.
NOTES
: the items marked with this symbol are optional accessories supplied only with some models or items that cannot be supplied but can be purchased.



















Carbon filter (for filter version only): The cartridge must be replaced at least every four months. It CANNOT be washed or regenerated.


















