CRYSTORAMA 287-SA Graham 6 Light Chandelier

Product Information
- Product Name: Crystorama Model #287-SA
- Product Type: Chandelier Light Fixture
- Power Source: Wired Electric
- Bulb Type: Candelabra Base Bulb
- Recommended Wattage: 40 Watts
- Maximum Wattage: 60 Watts
- Usage: Damp rated
- Parts and Components: Mounting Plate, Hex Nuts, Lock Washer, Ground Screw, Outlet Box Screw, Threaded Pipes, Canopy, Collar Ring, Collar Loop, Quick Links, Hanging Chain, Metal Flat Cover, Metal Frame, Center Stem, Socket Sleeve, Ball Nut, Light Cluster, White Cloth Shade, Diffuser Glass, Plastic Washer, and Finial.
Product Usage Instructions
- Before starting the installation process, do a complete inventory of all parts and components that come with the product.
- Install six Candelabra Base Bulbs (not included) with a recommended wattage of 40 watts and a maximum wattage of 60 watts. Use LED bulbs for extended use.
- Take off two plastic washers and the finial from the bottom threaded pipe.
- Attach the bottom threaded pipe with two hex nuts into the bottom of the light cluster.
- Put one plastic washer onto the bottom of the threaded pipe and then insert the diffuser glass.
- Put another plastic washer at the bottom of the diffuser and secure it with the finial.
- Install the mounting plate onto the outlet box and secure it with the outlet box screws.
- Open a quick link and attach one end of the hanging chain with the fixture loop, then close the quick link.
- Thread the collar ring into the canopy.
- Open another quick link and attach the other end of the chain\ (that doesn’t have a quick link) with the collar loop then the link.
- Connect fixture wires into the outlet box.
- Raise the canopy onto the collar loop and secure it with the collar ring.
- After safely attaching the fixture into the outlet box, proceed to connect the power.
WARNING:
- Electrical Danger
- Turn Power Off
All electrical components must be installed by a licensed electrician in accordance with the National Electric Code and the appropriate local electrical codes.

You will need 6 -Candelabra Base Bulb 40 Watts Recommended 60 Watts Max. USE LED BULBS FOR EXTENDED USE THIS FIXTURE IS DAMP RATED
How to Install
- Do a complete inventory of all parts and components before you start the installation.
- Install bulbs (not included).
- Take o two plastic washers and finials from the bottom threaded pipe.
- Attach the bottom threaded pipe with two hex nuts into the bottom of the light cluster.
- Put one plastic washer onto the bottom of the threaded pipe then insert the glass diffuser. Put another plastic washer at the bottom of the diffuser then secure with the finial.
- Install the mounting plate onto the outlet box and secure it with the outlet box screws.
- Open a quick link and attach one end of the chain with the fixture loop then close the quick link.
- Thread the collar ring into the canopy.
- Open another quick link and attach the other end of the chain (that doesn’t have a quick link) with the collar loop then the link.
- Connect fixture wires into the outlet box.
- Raise the canopy onto the collar loop and secure it with the collar ring.
- After safely attaching the fixture to the outlet box, proceed to connect the power.

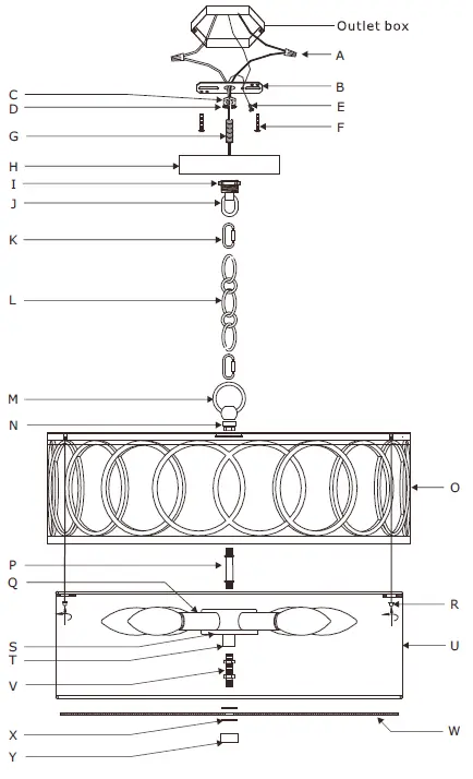
DETAILED ILLUSTRATION

PART NUMBER
- A. (2) – Wire Connector
- B. (1) – Mounting Plate
- C. (1) – Hex Nut1
- D. (1) – Lock Washer
- E. (1) – Ground Screw
- F. (2) – Outlet Box Screw
- G. (1) – Threaded Pipe1
- H. (1) – Canopy(W4.75″,H0.75″) #XRE287SACAN4.75IN
- I. (1) – Collar Ring
- J. (1) – Collar Loop
- K. (2) – Quick Link
- L. (1) – Hanging Chain(72″,4mm) #XRE287SACHA4MM
- M. (1) – Fixture Loop
- N. (1) – Metal Flat Cover
- O. (1) – Metal Frame
- P. (1) – Center Stem
- Q. (6) – Socket Sleeve
- R. (3) – Ball Nut #XRE287SABANUT
- S. (1) – Light Cluster
- T. (1) – Hex Nut2
- U. (1) – White Cloth Shade #XRE287SHA17IN
- V. (1) – Threaded Pipe2
- W. (1) – Diffuser Glass #XRE287DIF17IN
- X. (2) – Plastic Washer
- Y. (1) – Finial #XRE285FIN

WARNING:
This product can expose you to Lead, which is known to the State of California to cause cancer and/or birth defects or reproductive harm. For more information go to www.P65Warnings.ca.gov.


















