LIFESPAN Viper M4 Treadmill User Manual
IMPORTANT SAFETY INSTRUCTIONS
WARNING: Read all instructions before using this treadmill.
It is important your treadmill receives regular maintenance to prolong its useful life. Failing to regularly maintain your treadmill may void your warranty.
DANGER
To reduce the risk of electric shock disconnect your treadmill from the electrical outlet prior to cleaning and/or service work.
DO NOT USE AN EXTENSION CORD:
DO NOT ATTEMPT TO DISABLE THE GROUNDED PLUG BY USING IMPROPER ADAPTERS OR IN ANY WAY MODIFY THE CORD SET
- Install the treadmill on a flat level surface with access to a 220-240 volt (50/60Hz), grounded outlet.
- Do not operate treadmill on deeply padded, plush or shag carpet. Damage to both carpet and treadmill may result.
- Do not block the rear of the treadmill. Provide a minimum of 1 metre clearance between the rear of the treadmill and any fixed object.
- Place your unit on a solid, level surface when in use.
- When running, make sure the plastic clip is fastened on your clothing. It is for your safety, should you fall or move too far back on the treadmill.
- Keep hands away from all moving parts.
- Never operate the treadmill if it has a damaged power cord or plug. When damaged, these must be replaced by the manufacturer, its service agent or similarly qualified persons in order to avoid a hazard.
- Keep the cord away from heated surfaces.
- Do not operate where aerosol spray products are being used or where oxygen is being administered. Sparks from the motor may ignite a highly gaseous environment.
- Never drop or insert any object into any openings.
- The treadmill is intended for in-home use only and is not suitable for commercial environments.
- The pulse sensors are not medical devices. Various factors, including the user’s movement, may affect the accuracy of heart rate readings. The pulse sensors are intended only as exercise aids in determining heart rate trends in general.
- Use the handrails provided; they are for your safety.
- Wear proper shoes. High heels, dress shoes, sandals or bare feet are not suitable for use on your treadmill. Quality athletic shoes are recommended to avoid leg fatigue.
- Before undertaking any type of exercise program, it is recommended that you consult a doctor.
- Injuries to health may result from incorrect or excessive training.
- This appliance is not intended for use by persons (including children) with reduced physical, sensory or mental capabilities, or lack of experience and knowledge, unless they have been given supervision or instruction concerning use of the appliance by a person responsible for their safety.
- WARNING: Heart rate monitoring systems may be inaccurate. If you feel faint stop exercising immediately.
- Children should not be allowed on or around the equipment, even when not in use.
- Children should be supervised to ensure that they do not play with this machine.
- Loose-fitting clothing or jewellery that could become an entanglement hazard should not be worn.
- Training shoes should be worn when using the equipment.
- Equipment must be used on a level and stable surface.
- All fixings should be checked before the equipment is used.
- All literature relating to the use of the equipment should be retained for future reference.
- Recommended operating temperature: 5-40°C.
Remove the safety key after use to prevent unauthorized treadmill operation.
IMPORTANT ELECTRICAL INFORMATION
WARNING
- Route the power cord away from any moving part of the treadmill including the elevation mechanism and transport wheels.
- NEVER remove any cover without first disconnecting AC power.
- NEVER expose this treadmill to rain or moisture. This treadmill is not designed for use outdoors, near a pool, or in any other high humidity environment.
- This is a high-power item; please do not share the same outlet with other high-power machines such as, fridges, air conditioning etc. Please choose an outlet exclusively for the machine and make sure the fuse is 10A.
IMPORTANT OPERATING INSTRUCTIONS
- Understand that changes in speed and incline do not occur immediately. Set your desired speed on the computer console and release the adjustment key. The computer will obey the command gradually.
- Use caution while participating in other activities while walking on your treadmill, such as watchin gtelevision, reading, etc. These distractions may cause you to lose balance or stray from walking in the centre of the belt; which may result in serious injury.
- This unit starts with at a very low speed. It is recommended to stand on the side rails and only step on the treadmill as it is moving on a slow speed. This will prolong the life of your motor and run the belt smoothly.
- This unit starts with at a very low speed. It is recommended to stand on the side rails and only step on the treadmill as it is moving on a slow speed. This will prolong the life of your motor and run the belt smoothly.
- Always hold on to handrail while making control changes.
- A safety key is provided with this machine. Remove the safety key will stop the walking belt immediately; the treadmill will shut off automatically. Inserting the safety key will reset the display.
- Do not use excessive pressure on console control keys. They are precision set to function properly with little finger pressure.
- Replace any defective components immediately. The machine must be kept out of use until repaired.
- Belt wear-in period: all treadmills make a certain type of thumping noise due to the belt riding over the rollers, especially new treadmills. This noise will diminish over time, although may not completely go away. The belt will stretch over time, causing it to ride smoother over the rollers.
- Set up your machine for storage when the machine is not in use to ensure maximum longevity of electrical components via the following steps:
- Ensure incline (if applicable) is reset to zero.
- Remove the safety key to prevent unauthorised use.
- Turn off the machine via the red on/off switch located at the back of the motor. If your machine does not have a switch, turn off the machine at the wall power outlet.
ASSEMBLY INSTRUCTIONS

| No | Description | Qty |
| A | Main frame | 1 |
| B | Console frame | 1 |
| C | Left upright tube | 1 |
| D | Right upright t ube | 1 |
| E24 | Power wire | 1 |
| E | Console | 1 |


STEP 1
1. Open and remove parts from the carton. Make sure you have enough space to assemble and the floor is flat.

STEP 2
- Pull out the Console screw cover (No. C22) from the Console base (No. B).
- Loosen the Bolt (No. D12) on the Motor top cover (No. C03) by using Wrench w/ screw driver (No. B06).
- Loosen the Bolt (No. D17) on the Motor top cover (No. C03) by using 5# Allen wrench (No. B07)
- Set aside for re-assembly later.

STEP 3
- Connect the wires (E08 & E09) from Right upright tube (No. D) and Main base (No. A).
- Support the Left & Righ t Upright Tubes (No.C & No.D) with your hands to prevent them from falling.
- Attach the Left & Right Upright Tubes (No.C & No.D) to the Base Frame (No. A) by using 6 x Bolts (No. D06), 6 x Washers (No. D18 ) and 6 x Washers (No. D19). Secure by using 8# Allen Wrench (No. B11).

STEP 4
- Attach the Bolt (No. D12) to the Motor top cover (No. C03) by using Wrench w/screwdriver (No. B06).
- Attach the Bolt (No. D17) to the Motor top cover (No. C03) by using 5# Allen wrench (No. B07) using 6 x Bolts (No. D06), 6 x Washers (No. D18) and 6 x Washers (No. D19). Secure by using 8# Allen Wrench (No. B 11)

STEP 5
- Connect the wires (E07 & E08) from Right upright tube (No. D) and Console base (No. B).
- Attach the Left & Right Upright Tubes (No. C & No. D) to the Console base (No. B) by using 6 x Bolts (No. D06), 6 x Washers (No. D18) and 6 x Washers (No. D19). Secure by using 8# Allen Wrench (No. B11).

STEP 6
- Attach the Console (No. E) to the Console base (No. B) by using 4 x Bolts (No. D10), 4 x Washers (No. D23) and 4 x Washers (No. D22). Secure by using 6# Allen Wrench (No. B08).

STEP 7
- Connect the wire (No. E04 & No. E05 & No. E06 & No. E07 & No. E10 & No. E11 & No. E13 & No. E14). Attach the Console screw cover (No. C22) from the Console base (No. B). The assembly is complete!
TRANSPORTATION WHEELS
Move the treadmill by holding the end of the treadmill frame base and tilt it onto the wheels. You can now move it to your desired location.
Caution: Treadmill is heavy and will require a fit and capable adult to move or 2x adults if required.
IMPORTANT ELECTRICAL INFORMATION
WARNING
This treadmill requires a right power source in order to properly operate. For your safety, as well as the safety of others, please verify that the power source is correct before plugging the equipment. Any incorrect power source could cause significant damage to the equipment and or user
GROUNDING METHODS
This product must be grounded. Grounding provides the least resistance for electrical current and will reduce the risk of electric shock. The plug must be plugged into an appropriate outlet that is properly installed and grounded in accordance with all local codes and ordinances. Ensure that the product is connected to an outlet which contains the same configuration as the plug. Do not use an adaptor for this product.
This product is for use on a nominal circuit and has a grounding plug that looks like the plug illustrated in sketch A. Make sure that the product is connected to an outlet having the same configuration as the plug. No adapter should be used with this product.
DANGER
mproper connection of the equipment-grounding conductor can result in risk of electric shock. Check with a certified electrician if you are in doubt as to whether the product is properly grounded. Do not modify the plug provided with the product. If it will not fit the outlet, have a proper outlet installed by an electrician
WARNING
- NEVER use a ground fault circuit interrupt (GFCI) wall outlet with this treadmill. Route the power cord away from any moving part of the treadmill including the elevation mechanism and transport wheels.
- NEVER operate the treadmill using a generator or UPS power supply.
- NEVER remove any cover without first disconnecting power.
- NEVER expose the treadmill to rain or moisture. This treadmill is not designed for use outdoors, near pools or in any other high humidity environment.

OPERATION GUIDE

BUTTON FUNCTIONS
- INCLINE – : Press this button to reduce the incline
- INCLINE +: Press this button to increase the incline
- INSTANT INCLINE: Press 3 6 9 to choos e incline quickly.
- START: Press this button to start the machine.
- ROG: Press this button to choose between 24 programs, 3 user program and body fat.
- SPEED -: Press this button to reduce the
- SPEED +: Press this button to increase the speed.
- INSTANT SPEED: Press 3, 6, 9 to choose speed quickly.
- STOP//PAUSE: Press th is button to pause or stop the machine.
- MODE: Press this button to choose between time, distance, calories workout targets.
MEDIA HUB
- MP3 INPUT: Insert MP3 cable to display the music from device.
- USB INPUT: Charging your device.
COMPUTER FUNCTIONS
- INCLINE: Display current incline. Press INCLINE+/ to adjust the incline of the machine.
- SPEED: Display current speed. Press SPEED+/ to adjust the speed of the machine.
- CALORIES: Display the calories has consume.
- TIME: Display the time has run.
- DISTANCE: Display the distance has run.
- PULSE: Display user’s heart rate, this date is just for reference, cannot be regarded as medical use. Hold the hand pulse sensor by both hands, the console will show user’s pulse value after about 5 15 seconds.
- MODE: Press Mode button to enter TIME, DISTANCE, CALORIES 24 programs, 3 user programs and body fat setting
Set of TIME, DISTANCE, CALORIES: From standby mode, press Mode button, the corresponding light of TIME, DISTANCE, CALORIES will come on, select between TIME, DISTANCE, CALORIES.
- Press SPEED+/ or INCLINE to set the workout target value
- Press START button, treadmill will run after 3 seconds.
- Press SPEED+/ to adjust the speed
- Press INCLINE to adjust the incline
Set of 24 build in programs: From standby mode, press Mode button, console will show 24 programs, select between 24 programs.
- Press SPEED+/ or INCLINE to set the workout target value
- Each program can be divided into 10 sections; machine will beep 3 times when starting a new section.
- Press SPEED+/ or INCLINE to change the speed and incline during each section.
- Machine will beep 3 times and stop when the program is finished.
PROG/TIME 3P19SPEED P20SPEED P21SPEED P22SPEED P23SPEED P24SPEED
| PROG/TIME | 1 | 2 | 3 | 4 | 5 | 6 | 7 | 8 | 9 | 10 | ||||||||||||
| P1 | SPEED | 2 | 4 | 3 | 4 | 3 | 5 | 4 | 2 | 5 | 3 | |||||||||||
| INCLINE | 1 | 2 | 3 | 3 | 1 | 2 | 2 | 3 | 2 | 2 | ||||||||||||
| P2 | SPEED | 2 | 6 | 7 | 8 | 3 | 6 | 8 | 7 | 5 | 2 | |||||||||||
| INCLINE | 1 | 2 | 3 | 3 | 2 | 2 | 3 | 4 | 2 | 2 | ||||||||||||
| P3 | SPEED | 3 | 8 | 3 | 8 | 5 | 9 | 5 | 9 | 12 | 6 | |||||||||||
| INCLINE | 1 | 3 | 5 | 7 | 9 | 10 | 8 | 6 | 5 | 2 | ||||||||||||
| P4 | SPEED | 8 | 10 | 11 | 12 | 12 | 11 | 10 | 10 | 9 | 8 | |||||||||||
| INCLINE | 1 | 2 | 2 | 3 | 1 | 2 | 2 | 2 | 2 | 1 | ||||||||||||
| P5 | SPEED | 6 | 10 | 12 | 9 | 11 | 8 | 12 | 7 | 9 | 3 | |||||||||||
| INCLINE | 1 | 2 | 4 | 3 | 2 | 2 | 4 | 5 | 2 | 1 | ||||||||||||
| P6 | SPEED | 2 | 8 | 6 | 10 | 10 | 9 | 11 | 8 | 5 | 3 | |||||||||||
| INCLINE | 2 | 2 | 3 | 2 | 3 | 4 | 5 | 6 | 5 | 3 | ||||||||||||
| P7 | SPEED | 2 | 6 | 7 | 9 | 7 | 9 | 6 | 5 | 4 | 2 | |||||||||||
| INCLINE | 4 | 5 | 6 | 6 | 9 | 9 | 10 | 12 | 6 | 3 | ||||||||||||
| P8 | SPEED | 2 | 4 | 6 | 8 | 7 | 8 | 9 | 6 | 4 | 2 | |||||||||||
| INCLINE | 3 | 5 | 4 | 4 | 3 | 4 | 4 | 3 | 3 | 2 | ||||||||||||
| SPEED | 2 | 4 | 5 | 7 | 6 | 5 | 8 | 6 | 3 | 2 | ||||||||||||
| INCLINE | 3 | 5 | 3 | 4 | 2 | 3 | 4 | 2 | 3 | 2 | ||||||||||||
| SPEED | 2 | 3 | 5 | 3 | 3 | 5 | 3 | 6 | 3 | 3 | ||||||||||||
| INCLINE | 4 | 4 | 3 | 6 | 7 | 8 | 8 | 6 | 3 | 3 | ||||||||||||
| SPEED | 2 | 5 | 8 | 10 | 6 | 9 | 5 | 3 | 2 | 2 | ||||||||||||
| INCLINE | 1 | 3 | 5 | 8 | 10 | 7 | 6 | 3 | 2 | 3 | ||||||||||||
| SPEED | 2 | 5 | 5 | 4 | 4 | 6 | 4 | 2 | 3 | 4 | ||||||||||||
| INCLINE | 3 | 5 | 6 | 7 | 12 | 9 | 11 | 11 | 6 | 3 | ||||||||||||
| SPEED | 2 | 7 | 4 | 7 | 8 | 9 | 4 | 5 | 3 | 2 | ||||||||||||
| INCLINE | 5 | 6 | 6 | 4 | 6 | 5 | 8 | 9 | 4 | 2 | ||||||||||||
| SPEED | 2 | 6 | 5 | 4 | 8 | 6 | 5 | 2 | 3 | 3 | ||||||||||||
| INCLINE | 5 | 6 | 5 | 8 | 4 | 5 | 5 | 10 | 6 | 3 | ||||||||||||
| SPEED | 2 | 6 | 5 | 4 | 8 | 7 | 5 | 3 | 3 | 2 | ||||||||||||
| INCLINE | 3 | 4 | 5 | 6 | 3 | 5 | 5 | 6 | 4 | 3 | ||||||||||||
| SPEED | 2 | 5 | 7 | 5 | 8 | 6 | 5 | 2 | 4 | 2 | ||||||||||||
| INCLINE | 1 | 5 | 6 | 8 | 12 | 9 | 10 | 9 | 5 | 3 | ||||||||||||
| SPEED | 2 | 5 | 6 | 7 | 8 | 9 | 8 | 5 | 3 | 4 | ||||||||||||
| P17 | ||||||||||||||||||||||
| INCLINE | 3 | 5 | 6 | 8 | 6 | 5 | 8 | 7 | 5 | 3 | ||||||||||||
| P18 | SPEED | 2 | 3 | 5 | 6 | 8 | 6 | 9 | 6 | 5 | 2 | |||||||||||
| INCLINE | 5 | 7 | 5 | 8 | 6 | 5 | 9 | 10 | 6 | 2 | ||||||||||||
| 1 | 2 | 3 | 4 | 5 | 6 | 7 | 8 | 9 | 10 | |||||||||||||
| 3 | 7 | 6 | 5 | 9 | 7 | 6 | 3 | 5 | 2 | |||||||||||||
| INCLINE | 3 | 5 | 6 | 8 | 5 | 6 | 5 | 12 | 8 | 3 | ||||||||||||
| 3 | 7 | 9 | 10 | 11 | 12 | 10 | 8 | 5 | 2 | |||||||||||||
| INCLINE | 2 | 5 | 6 | 7 | 6 | 5 | 8 | 6 | 3 | 2 | ||||||||||||
| 3 | 6 | 8 | 7 | 9 | 10 | 5 | 8 | 3 | 2 | |||||||||||||
| INCLINE | 3 | 6 | 8 | 9 | 9 | 6 | 8 | 10 | 6 | 3 | ||||||||||||
| 3 | 5 | 8 | 6 | 9 | 10 | 8 | 12 | 6 | 3 | |||||||||||||
| INCLINE | 2 | 6 | 8 | 10 | 12 | 10 | 12 | 8 | 5 | 2 | ||||||||||||
| 3 | 5 | 9 | 11 | 12 | 8 | 6 | 5 | 3 | 2 | |||||||||||||
| INCLINE | 2 | 6 | 8 | 10 | 9 | 7 | 8 | 10 | 6 | 3 | ||||||||||||
| 3 | 8 | 10 | 11 | 12 | 10 | 10 | 8 | 5 | 3 | |||||||||||||
| INCLINE | 3 | 6 | 8 | 9 | 10 | 12 | 9 | 6 | 3 | 2 | ||||||||||||
Set of 3 user programs: From standby mode, press Mode button, console will show 3 user programs, select between 3 user programs.
- Press SPEED+/ or INCLINE to set the workout target value.
- Each program can be divided into 10 sections; machine will beep 3 times when starting a new section.
- Press SPEED+/ or INCLINE to change the speed and incline during each section.
- Machine will beep 3 times and stop when the program is finished.
Set of body fat test: From standby mode, press Mode button until you get to FAT.
- Press Mode button to enter information. Set value with SPEED+/ from F-1 to F-4 (F-1 GENDER, F-2 AGE, F-3 HEIGHT, F-4 WEIGHT)
- Press Mode button to enter F-5 (F-5 BODY FAT TEST), hold hands on the hand pulse sensor, the console will display your body fat value after 3 seconds.
- The body fat value is intended as a guide, and is not medical data:
| F-1 | GENDER | 01 Male | 02 Female |
| F-2 | Age | 10-99 | |
| F-3 | Height | 100-200CM | |
| F-4 | Weight | 20-150KG | |
F-5 | FAT | £19 | Under weight |
| FAT | =(20-25) | Normal weight | |
| FAT | =(26-29) | Overweight | |
| FAT | ³ 30 | Obesity | |
LUBRICATION REMIND FUNCTION
This machine has lubrication remind function. After every total running distance of 300km (188miles), your treadmill need s to be maintained with oil. The system will remind with sound for every 10 seconds, and window will show “OIL”. This means that your treadmill needs to be lubricated with oil. Please read the user s manual first and add the oil to the middle part of runni ng board. After you finish lubrication, please hold on STOP button for 3 seconds, and the system warning sound will disappear
SAFETY LOCK FUNCTION
Under any mode, if you pull away the safety key, the machine will stop. The matrix window will show “SAFETY KEY DISCONNECTED” and other windows will show “—” with reminding sound. The machine cannot work until safety key is inserted back.
POWER SAVE FUNCTION
The machine is with energy saving function . Under standby mode, at the state of waiting for operation, if with out any operation, the saving on power function will be available after 10 minutes , the display will be shut down . You can press any button to turn on the display
POWER ON
AND POWER OFF![]()
Switch off the power: You can switch off the power to stop the treadmill, which won’t be damaged at any time.
CAUTION
- We recommend that you maintain a slow speed at the beginning of a session and hold on to thehandrails until you become comfortable and familiar with the treadmill.
- Attach the magnet end of the safety pulling rope to the computer and attach the clip of the safety pulling rope to your clothing.
- To end your workout safely, press the STOP button or pull out the safety pulling rope, then the treadmill will stop immediately.
EXERCISE GUIDE
PLEASE NOTE
Before beginning any exercise program, consult your physician. This is important especially if you are over the age of 45 or individuals with pre-existing health problems.
The pulse sensors are not medical devices. Various factors, including the user’s movement, may affect the accuracy of heart rate readings. The pulse sensors are intended only as an exercise aid in determining heart rate trends in genera
Exercising is great way to control your weight, improving your fitness and reduce the effect of aging and stress. The key to success is to make exercise a regular and enjoyable part of your everyday life.
The condition of your heart and lungs and how efficient they are in delivering oxygen via your blood to your muscles is an important factor to your fitness. Your muscles use this oxygen to provide enough energy for daily activity. This is called aerobic activity. When you are fit, your heart will not have to work so hard. It will pump a lot fewer times per minute, reducing the wear and tear of your heart.
So as you can see, the fitter you are, the healthier and greater you will feel.
WARM UP
Start each workout with 5 to 10 minutes of stretching and some light exercises. A proper warm-up increases your body temperature, heart rate and circulation in preparation for exercise. Ease into your exercise.
After warming up, increase the intensity to your desired exercise program. Be sure to maintain your intensity for maximum performance. Breathe regularly and deeply as you exercise.
COOL DOWN
Finish each workout with a light jog or walk for at least 1 minute. Then complete 5 to 10 minutes of stretching to cool down. This will increase the flexibility of your muscles and will help prevent postexercise problems.
WORKOUT GUIDELINES

This is how your pulse should behave during general fitness exercise. Remember to warm up and cool down for a few minutes.
The most important factor here is the amount of effort you put in. The harder and longer you work, the more calories you will burn
MAINTENANCE & CARE
General cleaning will help prolong the life and performance of your treadmill. Keep the unit clean and maintained by dusting the components on a regular basis. Clean both sides of the running belt to prevent dust from accumulating underneath the belt . Keep your running shoes clean so that dirt from your shoes does not wear out the running board and belt. Clean the surface of the running belt with a clean damp cloth.
- To better maintain the treadmill and prolong its life it is suggested that the machine be powered off for 10 minutes every 2 hours and fully powered off whenever not in use.
- A loose Running Belt will result in the runner sliding off when running, while too tight of a Running Belt will result in decrease to the motors performance and also create more friction between the roller and running belts. The most suitable tightness for the belts is pulled out 50-75mm from the Running Board.
GENERAL CLEANING
- Use a soft, damp cloth to wipe the edge of the belt and the area between the belt edge and frame. A mild soap and water solution along with a nylon scrub brush will clean the top of the textured belt. This task should be done once a month. Allow to dry before using.
- On a monthly basis, vacuum underneath your treadmill to prevent dust build up. Once a year, you should remove the black motor shield and vacuum out dirt that may accumulate.
GENERAL CARE
- Check parts for wear before use.
- Pay particular attention to the fixing knobs and make sure they are tight.
- Always replace the mat if worn and any other defective parts.
- If in doubt do not use the treadmill and contact us.
Take care to protect carpets and floor in case of leakages. This product is a machine that contains moving parts which have been greased/lubricated and could leak.
BELT/DECK/ROLLER LUBRICATION
The mat/deck friction may play a major role in the function and life of your treadmill and that is why we recommend you constantly lubricate this friction point to prolong the useful life of your treadmill. You should apply lubrication after approximately the first 30 hours of operation
We recommend lubrication of the deck according to the following timetable:
- Light use (less than 3 hours per week) every 6 months.
- Medium use (3-5 hours a week) every 3 months.
- Heavy use (more than 5 hours per week) every 2 months
See below procedures for lubricating:
- Raise the belt up on one side and apply lubricant to the running deck. Use a rag to thoroughly wipe the lubricant over the running deck. Repeat this process for the other side.
- The moving parts should turn freely and quietly. Abnormality of moving parts will affect the safety of the equipment. Inspect and tighten bolts regularly.
- To better maintain the treadmill and prolong its lifespan, it is suggested that maintenance be done on a regular basis.

Video Tutorial Available at: http://youtu.be/cP9NtFHfWlc
Lifespan Fitness YouTube Channel: http://www.youtube.com/user/treadmillsvid
HOW TO CHECK THE RUNNING MAT FOR PROPER LUBRICATIO
- Disconnect the main power supply.
- Fold the treadmill up into the storage position.
- Feel the underside surface of the running mat
f the surface is slick when touched, then no further lubrication is needed. If the surface is dry to the touch, apply a suitable silicone lubricant.
We recommend that you use a silicone based spray to lubricate your treadmill. This can be purchased directly from us or any hardware store.
Video Tutorial Available at: http://youtu.be/cP9NtFHfWlc
Lifespan Fitness YouTube Channel: http://www.youtube.com/user/treadmillsvideos
CENTERING THE RUNNING BELT
Place the treadmill on level ground and set it at 6-8kph to check if the Running Belt drifts.
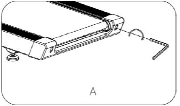
- If the Running Belt moves to the right, turn the adjusting bolt on the right side ¼ turn clockwise, then turn the left adjustment bolt ¼ turn counter clockwise. If the belt does not move, repeat this step until it centers. Refer to figure A.

- If the Running Belt moves to the left, turn the adjusting bolts on the left side ¼ of a turnclockwise, then turn the right adjustment bolt ¼ turn counterclockwise. If the belt does not move, repeat this step until it centers. Refer to figure B.

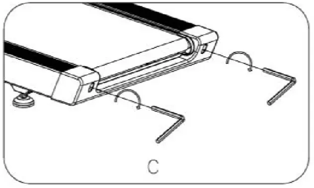
- Over time the Running Belt will loosen. To tighten the belt, turn the Left & Right-side adjustment bolts one full turn clockwise, check the tension of the belt. Continue this process until belt is at the correct tension. Make sure to adjust both sides equally to ensure correct belt alignment. Refer to figure C.


NOTE
When properly tightened,you should be able to peel the very edge of the side of the belt up approximately 2 inches. However, this is a rough reference and not all treadmills are the same. Some treadmills that have longer belts may give different measurements for correct belt tightness.
Simply, if the belt begins to slip during use, this is an indication that the belt still needs tightening.
Video Tutorial Available at: http://youtu.be/vllsamTSvvA
Lifespan Fitness YouTube Channel: http://www.youtube.com/user/treadmillsvideos
EXPLODED DIAGRAM


PARTS LIST
| No | Description | Specs | Qty |
| A01 | Main fram | 1 | |
| A02 | Incline bracket | 1 | |
| A03 | Console base bracket | 1 | |
| A04 | Panel connecting bracket | ||
| A05 | Left upright tube | 1 | |
| A06 | Right upright tube | 1 | |
| B01 | Front roller | 1 | |
| B02 | Back roller | 1 | |
| B03 | Cardan joint screw | 2 | |
| B04 | Wheel sleeve | 2 | |
| B05 | Spring 1 | 4 | |
| B06 | Wrench w/ screwdriver | S=13, 14,15 | 1 |
| B07 | 5# Allen wrench | 5mm | 1 |
| B08 | 6# Allen wrench | 6mm | 1 |
| B09 | Pulse steel plate | 4 | |
| B10 | Spring | 2 | |
| B11 | 8# Allen wrench | 8mm | 1 |
| B12 | Screen fixing plate | 1 | |
| B13 | Big gasket | 2 | |
| C01 | Panel top cover | 1 | |
| C02 | Panel bottom cover1 | 1 | |
| C03 | Motor top cover | 1 | |
| C04 | Back-end cover | 1 | |
| C05 | Left side rail | 1 | |
| C06 | Right side rail | 1 | |
| C07 | Running belt | 1 | |
| C08 | Universal mats | 2 | |
| C09 | Mats cover | 2 | |
| C10 | Elliptical cushion | 4 | |
| C11 | Cushion | 2 | |
| C12 | Wheel | 1 | |
| C13 | Motor belt | 2 |
| No | Description | Specs | Qty |
| C15 | Plastic side rail gasket | 6 | |
| C16 | Plastic gasket | 2 | |
| C18 | Console top cover | 1 | |
| C19 | Emergency butto | 1 | |
| C20 | Button holder | 1 | |
| C21 | Console bottom cover | 1 | |
| C22 | Console screw cover | 1 | |
| C23 | Console support top cover | 1 | |
| C24 | Console support bottom cover | 1 | |
| C25 | Left handlebar | 1 | |
| C26 | Right handlebar | 1 | |
| D01 | Nut | M8 | 9 |
| D02 | Nut | M10 | 4 |
| D03 | Bolt | M10*65 | 1 |
| D04 | Bolt | M10*45 | 3 |
| D05 | Bolt | M8*15 | 2 |
| D06 | Bolt | M10*20 | 12 |
| D07 | Bolt | M10*20 | 2 |
| D08 | Bolt | M8*65 | 2 |
| D09 | Bolt | M8*60 | 1 |
| D10 | Bolt | M8*15 | 8 |
| D11 | Bolt | M8*2 | 4 |
| D12 | Screw | M5*12 | 3 |
| D13 | Screw | ST4.2*12 | 39 |
| D14 | Screw | ST4.2*12 | 4 |
| D15 | Screw | ST4.2*25 | 8 |
| D16 | Screw | ST2.9*8 | 12 |
| D17 | Bolt | M6*10 | 2 |
| D18 | Flat washer | 10 | 14 |
| D19 | Spring washer | 10 | 14 |
| D20 | Lock washer | 8 | 11 |
| D21 | Lock washer | 10 | 2 |
| D22 | Flat washer | 8 | 14 |
| No | Description | Specs | Qty |
| D23 | Spring washer | 8 | 6 |
| D24 | Bolt | M5*16 | 4 |
| D25 | Bolt | M5*12 | 2 |
| D26 | Spring washer | 5/65Mn | 2 |
| D27 | Lock washer | 5 | 2 |
| D28 | Bolt | M8*40 | 4 |
| D29 | Screw | ST4.2*20 | 7 |
| E01 | Console | 1 | |
| E02 | Control board | 1 | |
| E03 | Touch button board | 1 | |
| E04 | Touch button top signal wire | 1 | |
| E05 | Touch button bottom signal wire | 1 | |
| E06 | Console top signal wire | 1 | |
| E07 | Console middle signal wire 1 | 1 | |
| E08 | Console middle signal wire 2 | 1 | |
| E09 | Console bottom signal wire | 1 | |
| E10 | Hand pulse top signal wire | 1 | |
| E11 | Hand pulse bottom signal wire | 2 | |
| E12 | 2 Micro switch | 1 | |
| E13 | Switch top signal wire | 1 | |
| E14 | Switch bottom signal wire | 1 | |
| E19 | Running board | 1 | |
| E20 | DC motor | 1 | |
| E21 | Incline motor | 1 | |
| E22 | Magnetic ring | 1 | |
| E23 | Magnetic core | 1 | |
| E24 | Power wire | 1 | |
| E25 | AC signal wire | 200 Blue | 1 |
| E26 | AC signal wire | 350 Blue | 2 |
| E27 | AC signal wire | 350 Brown | 2 |
| E28 | Ground wire | 350 | 2 |
| E29 | Power socket | 1 | |
| E30 | Switch on-off | 1 | |
| E31 | Overload protector | 1 | |
| E32 | Speed sensor | 1 | |
| E33 | Safety key clip | 1 |
OPTIONAL PARTS LIST
| No | Description | Specs | Qty |
| H01 | USB module | 1 | |
| H02 | USB connecting wire | 1 | |
| H03 | Screw | ST2.9*8 | 2 |
| G01 | Speaker | 2 | |
| G02 | Screw | ST2.9*8 | 8 |
TROUBLESHOOTING
| PROBLEM | POSSIBLE CAUSE | SUGGESTED ACTION |
| Treadmill will not start | Not plugged in | Plug cord into outlet |
| Safety Key not inserted | Insert Safety Key | |
| Running belt not centered | Running belt tension not correct on the left or right sides of the running board | Tighten the adjustment bolts on the left and right side of the rear roller. |
| Computer not working | Wires from the computer and bottom control board not properly connected. | Check wire connections from the computer to the control board. |
| Transformer is damaged | If the transformer is damaged, contact customer service. | |
| E0 1 | Current overload protection (Self Protecting System) | Restart the treadmill. Check the incoming voltage to ensure it is correct. Inspect moving parts of the treadmill to ensure that they are operating correctly. Check the motor, listen for strange noise and check for a burning smell.Replace the motor if necessary. Check the control board, replace if damaged. Lubricate the treadmill. |
| E02 | Motor Abnormality | Check the wire of Motor, re-connect the wire.Check the motor, replace the motor if necessary. Check the control board, replace if damaged. |
| E03 | Hardware Overload | Restart the treadmill. Check the incoming voltage to ensure it is correct. Check whether the power wire is dropped Check the control board, replace if damaged. |
| E04 | Motor Abnormality | Check the wire of Motor, re-connect the wire.Check the motor, replace the motor if necessary. Check the control board, replace if damaged. |
| E05 | The incoming voltage is too low. | Restart the treadmill. Check the incoming voltage to ensure it is correct. Check whether the power wire is dropped. |
| E06 | The incoming voltage is too high. | Restart the treadmill. Check the incoming voltage to ensure it is correct. |
| E08 | Hardware error | Check whether the power wire is dropped Check the control board, replace if damaged. |
| E16 | Incline failure | Re-connect or replace the wire for the incline motor. Replace the incline motor witha new one. |
| E17 | Calibration failure | Check if the incline wire is connected properly. Recalibrate after connecting the ascending wire. |
|
E21 |
Data Saving Exception | Power off the power for two minutes and power it off again. If you cannot start the machine, replace the control board |
| E31 | Over Temperature | Run the machine after the temperature is normal. |
| E32 | Motor Reverses | Check whether the motor cable UVW is properly connected. |
| E33 | Motor parameter error | Provide correct motor parameters. |
|
E22 |
Communication timeout | Check whether the wires between the console and the control board is loose or dropped Check whether the control board is damaged. Check whether the console is damaged. Power off for 2 minutes, and restart the machine. |
| E50 | Other errors | Replace the control board. |
WARRANTY
AUSTRALIAN CONSUMER LAW
Many of our products come with a guarantee or warranty from the manufacturer. In addition, they come with guarantees that cannot be excluded under the Australian Consumer Law. You are entitled to a replacement or refund for a major failure and compensation for any other reasonably foreseeable loss or damage.
You are entitled to have the goods repaired or replaced if the goods fail to be of acceptable quality and the failure does not amount to a major failure. Full details of your consumer rights may be found at www.consumerlaw.gov.au.
Please visit our website to view our full warranty terms and conditions:
http://www.lifespanfitness.com.au/warranty-repairs
WARRANTY AND SUPPORT
Any claim against this warranty must be made through your original place of purchase. Proof of purchase is required before a warranty claim may be processed.
If you have purchased this product from the Official Lifespan Fitness website, please visit https://lifespanfitness.com.au/warranty-form
For support outside of warranty, if you wish to purchase replacement parts or request a repair or service, please visit https://lifespanfitness.com.au/warranty-form and fill in our Repair/Service Request Form or Parts Purchase Form.
Scan this QR code with your device to go to lifespanfitness.com.au/warranty-form
HAND PULSE TECHNOLOGY
This product comes equipped with hand pulse sensors which are used to pick up tiny EKG/ECG signals that run through the body when your heart beats. These electrical EKG/ECG signals are very small and that they must be amplified 1000 times to make the signal useful for the computer to display your pulse.
To ensure proper operation:
- The user must maintain good, consistent contact on all four sensors.
- The users skin cannot be too dry or too wet. Other factors that could affect the reading:
- Change of grip on the sensors (during slow pace walking and up to running).
- Tightening of hand muscles will produce small electrical signal.
- Static electricity charges from the air or from walking on the treadmill.
EKG/ECG Sensors may filter through actual EKG/ECG signals and “Noise” factors that may affect the reading. This will cause the pulse reading to be delayed and will take longer to update the display as the heart rate changes. Too much noise will create an incorrect reading. Medical conditions or having no electrical signal in the hands are other factors that may affect pulse readings as well.
These are limitations of hand pulse technology and even the most expensive systems (which can cost upwards of $3,000) used in hospitals have the same problems. The difference is that a patient in a hospital is not running on a treadmill. Hand pulse technology works well on stationary exercise machines like bikes and even elliptical cross trainers but are not perfect on a treadmill. We offer treadmills with a wireless heart rate receiver which may be a more accurate option.
To test if your hand pulse sensors are working up to specification, hold them while standing on the sidestep rails, not walking, and see if the reading is more in line with what you would expect. This will eliminate the movement and static electricity factors. If your hands are dry, then wet them slightly (saliva works as a great conductor if this doesn’t bother you).































