LIFESPAN Marathon Treadmill

IMPORTANT SAFETY INSTRUCTIONS
- Install the treadmill on a flat level surface with access to a 220-240 volt (50/60Hz), grounded outlet.
- Do not operate treadmill on deeply padded, plush or shag carpet. Damage to both carpet and treadmill may result.
- Do not block the rear of the treadmill. Provide a minimum of 1 meter clearance between the rear of the treadmill and any fixed object.
- Place your unit on a solid, level surface when in use.
- When running, make sure the plastic clip is fastened on your clothing. It is for your safety, should you fall or move too far back on the treadmill.
- Keep hands away from all moving parts.
- Never operate the treadmill if it has a damaged power cord or plug. When damaged, these must be replaced by the manufacturer, its service agent or similarly qualified persons in order to avoid a hazard.
- Keep the cord away from heated surfaces.
- Do not operate where aerosol spray products are being used or where oxygen is being administered. Sparks from the motor may ignite a highly gaseous environment.
- Never drop or insert any object into any openings.
- The treadmill is intended for in-home use only and is not suitable for commercial environments.
- To disconnect, turn all controls to the off position, remove the safety key, and then remove the plug from the outlet.
- The pulse sensors are not medical devices. Various factors, including the user’s movement, may affect the accuracy of heart rate readings. The pulse sensors are intended only as exercise aids in determining heart rate trends in general.
- Before undertaking any type of exercise program, it is recommended that you consult a doctor.
- Wear proper shoes. High heels, dress shoes, sandals or bare feet are not suitable for use on your treadmill. Quality athletic shoes are recommended to avoid leg fatigue.
- Before undertaking any type of exercise program, it is recommended that you consult a doctor.
- Injuries to health may result from incorrect or excessive training.
- This appliance is not intended for use by persons (including children) with reduced physical, sensory or mental capabilities, or lack of experience and knowledge, unless they have been given supervision or instruction concerning use of the appliance by a person responsible for their safety.
- WARNING heat rate monitoring systems may be inaccurate. If you feel faint stop exercising immediately.
- Children should not be allowed on or around the equipment, even when not in use.
- Children should be supervised to ensure that they do not play with this machine.
- Loose-fitting clothing or jewellery that could become an entanglement hazard should not be worn.
- Training shoes should be worn when using the equipment.
- Equipment must be used on a level and stable surface.
- All fixings should be checked before the equipment is used.
- All literature relating to the use of the equipment should be retained for future reference.
- Recommended operating temperature: 5-40°C.
Remove the safety key after use to prevent unauthorized treadmill operation.
IMPORTANT ELECTRICAL INFORMATION
- Route the power cord away from any moving part of the treadmill including the elevation mechanism and transport wheels.
- NEVER remove any cover without first disconnecting AC power.
- NEVER expose this treadmill to rain or moisture. This treadmill is not designed for use outdoors, near a pool, or in any other high humidity environment.
- This is a high-power item; please do not share the same outlet with other high-power machines such as, fridges, air conditioning etc. Please choose an outlet exclusively for the machine and make sure the fuse is 10A.
IMPORTANT OPERATING INSTRUCTIONS
- Understand that changes in speed and incline do not occur immediately. Set your desired speed
on the computer console and release the adjustment key. The computer will obey the command gradually. - Use caution while participating in other activities while walking on your treadmill, such as watching television, reading, etc. These distractions may cause you to lose balance or stray from walking in the centre of the belt; which may result in serious injury.
- This unit starts with at a very low speed. To use, we recommend standing on the side rails and starting the machine first then start to walk on the belt. This prolongs the life of the motor.
For safety, ensure the speed is not fast when you mount. - Always hold on to handrail while making control changes.
- A safety key is provided with this machine. Remove the safety key will stop the walking belt immediately; the treadmill will shut off automatically. Inserting the safety key will reset the display.
- Do not use excessive pressure on console control keys. They are precision set to function properly with little finger pressure.
- Replace any defective components immediately. The machine must be kept out of use until repaired.
- Belt wear-in period: all treadmills make a certain type of thumping noise due to the belt riding over the rollers, especially new treadmills. This noise will diminish over time, although may not completely go away. The belt will stretch over time, causing it to ride smoother over the rollers.
ASSEMBLY INSTRUCTIONS
Parts

ASSEMBLY TOOLS
T shape Allen wrench 1pc, 8 #Allen wrench 1pc Cross wrench with screw driver S=13, 14, 15 1pc
No. | Description | Size | Qty |
A | Main frame | 1 | |
B | Left upright tube | 1 | |
C | Right upright tube | 1 | |
D | Console base | 1 | |
E | Console panel set | 1 | |
F | Safety key | 1 | |
B10 | T shape Allen wrench | 1 | |
B11 | 8 #Allen wrench | 1 | |
B12 | Cross wrench with screw driver | 1 | |
D09 | Power wire | 1 | |
E04 | Bolt | M10*30 | 14 |
E07 | Bolt | M8*20 | 2 |
E28 | Spring washer | 10 | 14 |
E29 | Spring washer | 8 | 2 |
E35 | Flat washer | 10 | 14 |
E36 | Flat washer | 8 | 2 |
Do not plug in the power cord until all assembly steps are completed. During each assembly step, ensure that ALL nuts and bolts are in place and partially threaded in before completely tightening any ONE bolt.
Make sure that all parts are properly tightened before you use the treadmill.
STEP 1
- Place the Main frame (A) on level ground and ensure that you have a clean work space that has adequate space.

STEP 2
- Fix the Left upright tube (B) to the main frame (A) with 4 x bolt (E04), 4 x spring washer (E28), 4 x flat washer (E35) by using 8 #Allen wrench (B11).
- Before assembling the right upright tube, please connect the Console middle signal wire (D23) with Console bottom signal wire (D22). Do not pinch the signal wires during assembly.

STEP 3
- Connect the Console middle signal wire (D23) with Console top signal wire (D24). Do not pinch the signal wires during assembly.
- Fix the Console base (D) to the Left upright tube (B) and Right upright tube (C) with 6 x bolt (E04), 6 x spring washer (E28), 6 x flat washer (E35) by using 8 #Allen wrench

STEP 4
- Disassemble the Console back cover (C09). Loosen 4 x screw (E24) and remove the Console back cover (C09) by using cross wrench with screw driver (B12).

STEP 5
- Connect the signal wires before assembling the Console panel set (E).
- Fix the Console panel set (E) to the Console base (D) with 2 x bolt (E07), 2 x spring washer (E29), 2 x flat washer (E36) by using T shape Allen wrench (B10).

STEP 6
- Fix the Console back cover (C09) to the Console base (D) with 4 x screw (E24) by using cross wrench with screw driver (B12).


- Before running, please clip the safety key to your cloth.
- For any emergency, please pull the safety key rope, and the machine will stop.

- Hold the end of the machine (figure H) and tilt machine on its wheels.
OPERATION GUIDE

- VOLUME + BUTTON: Press this button to turn up the volume.
- PREVIOUS SONG: Press this button to choose the previous song from USB storage.
- PLAY/PAUSE BUTTON: Press this button to choose the previous song from USB storage.
- THE NEXT SONG: Press this button to choose the next song from USB storage.
- VOLUME – BUTTON: Press this button to turn down the volume.
- HOME BUTTON: Press this button to return to the main page.
- INSTANT INCLINE: Press 3-6 to choose incline quickly.
- INSTANT SPEED: Press 6-9 to choose speed quickly.
- INCLINE+/INCLINE- : Press this button to adjust the incline.
- QUICK START: Press this button at any time to start the machine.
- PAUSE: Press this button to pause the machine.
- STOP: Press this button to stop the machine.
- SPEED+/SPEED-: Press this button to adjust the speed.
- UP BUTTON: Press this button to move up.
- DOWN BUTTON: Press this button to move down.
- LEFT BUTTON: Press this button to move left.
- RIGHT BUTTON: Press this button to move right.
- ENTER BUTTON: Press this button to enter what you choose.
- BACK BUTTON: Press this button to return to the previous page.
COMPUTER FUNCTION
- QUICK START Press START, the system will count down for 3 seconds, and make a sound.
- Press SPEED+/- to adjust the speed of the machine or set the target value.
- Press INCLINE+/- to adjust the incline of the machine or set the target value.
WORK OUT: BUILD-IN 12 PROGRAMS
- Press ENTER to enter this category.
- Press UP/DOWN/LEFT/RIGHT button to select a workout program.
- Press ENTER to enter the setting interface.
- Press LEFT/RIGHT button to set the value.
- Each program can be divided into 16 sections.
- Press QUICK START to start the treadmill, the system will count down for 3 seconds, and make a sound.
- Press SPEED+/- or INCLINE+/- to change the speed or incline during each section.
VIRTUAL SCENE WORKOUT:BUILT 6 VIDEOS
- Press ENTER to enter this category.
- Press UP/DOWN/LEFT/RIGHT button to select a Virtual scene workout.
- Press QUICK START to start the treadmill, the system will count down for 3 seconds, and make a sound.
- Press SPEED+/- or INCLINE+/- to change the speed or incline during running.
- Press BACK/HOME button to stop the treadmill and press enter to confirm to stop.
MULTIMEDIA: MUSIC OR VIDEO
You can read MP3 / WAV audio format and MP4 / WKV / AVI video format from U-disk.
- Press ENTER to enter the Multimedia.
- Press LEFT/RIGHT button to select the media category.
- Press ENTER to enter the music or video.
- Press UP/DOWN button to select the songs or videos.
- Press ENTER to play the music or video.
- Press “PLAY/PAUSE” button, “Volume+”, “Volume-“, “Previous Song”, “Next Song” buttons to perform and implement the related functions.
- The song list will be automatically eliminated after about 5 seconds or when there’s no operation conducted for about 5 seconds. Use “UP” or “DOWN” buttons or use “RIGHT” button on the keypad to awaken the song list.
USER PROGRAMS: BUILT-IN 6 USER PROGRAMS
- Press ENTER to enter this category.
- Press UP/DOWN/LEFT/RIGHT button to select a user program.
- Press ENTER to enter the setting interface.
- Press LEFT/RIGHT button to set the value.
- Press QUICK START to start the treadmill, the system will count down for 3 seconds, and make a sound.
- Press SPEED+/- or INCLINE+/- to change the speed or incline during each section.
HRC: BUILT-IN 2 HRC MODE
- Press ENTER to enter this category.
- Press UP/DOWN button to select the HRC section.
- Press LEFT/RIGHT button to select the exercise type or set the value.
- Press QUICK START to start the treadmill, the system will count down for 3 seconds, and make a sound.
- Press SPEED+/- or INCLINE+/- to change the speed or incline during running.
- Press BACK/HOME button to stop the treadmill and press enter to confirm to stop.
CAST SCREEN
Use mobile phone for screen projection, it can be divided into mobile phone projection and video projection.
8.1. Mobile Phone Projection (Only Supports Apple Mobile Device)
Connect mobile phone and treadmill to the same WIFI signal, click AirPlay Mirroring on the phone’s drop- down menu, select the name of the projection device to realize a direct phone projection (some third-party online videos do not support direct phone projection viewing, please exit mobile phone direct projection and use video direct projection function).
The mobile phone screen will be synchronized to the treadmill screen after projection to the treadmill. Press “NEXT SONG” button to eliminate treadmill parameter column. Press “PREVIOUS SONG” button to open the movement parameter column (you can also use the speed increase or decrease buttons or speed shortcut buttons to open the movement parameter column during exercise), when using “video direct projection”, you can use “LEFT” button to rewind the video and use “RIGHT” button to fast forward the video.
Note: The system version, hardware performance and current network signal are the factors that could affect the implementation of the screen projection. When the screen projection is completed, content of the mobile phone will be synchronized to the treadmill screen.
8.2. Video direct projection (support Apple and Android mobile phones)
Open a third-party online video (such as YouTube, etc.) on a mobile phone, click on the corresponding icon (TV projection icon), and then click on the name of the projection device to realize a direct video projection to the treadmill screen.
Note: The system version, hardware performance and current network signal are the factors that could affect the implementation of the screen projection. When the screen projection is completed, content of the mobile phone will be synchronized to the treadmill screen.
SETTINGS
Including WiFi settings, backlight brightness settings, system upgrades (including online upgrade and system restore), engineering mode, about the system.
WiFi Settings
- Press “ENTER” button to enter this category.
- Press UP/DOWN/LEFT/RIGHT buttons to select a WIFI network.
- Press “ENTER” button to enter the network signal password settings.
- Press “ENTER” button to activate the keypad
- Press UP/DOWN/LEFT/RIGHT buttons to toggle between options and characters selections.
- Press “ENTER” button to determine the character. Enter the correct Wi-Fi password to connect to the network.
Backlight Brightness
- Press “ENTER” button to enter this category.
- Press “LEFT”, “RIGHT” buttons to adjust the brightness of the backlight. The adjustment will be saved automatically after exit.
System update
- Press “ENTER” button to enter this category.
- Press “UP”, “DOWN” buttons to select the options.
- Press “ENTER” button to choose online upgrade option.
- Press “LEFT” and “RIGHT” buttons to select the options and perform the corresponding operations.
- Select the system restore and press “ENTER” button.
- Press “ENTER” button to enter the factory data reset interface.
- Press “ENTER” button, the SD card will be formatted and enter the factory reset interface
Note: The system will delete the system garbage and update and restart. This process takes time. Please wait patiently until the system returns to the main page.
Service Mode
Press “ENTER” button to enter this category.
Note: This function is convenient for manufacturers and maintenance personnel to operate the configuration file.
About
- Press “ENTER” button to enter this category.
- This interface provides related parameters of system software and hardware.
SAFETY LOCK FUNCTION
Under any mode, if you pull away the safety key, the machine will stop. The window will show a warning with reminding sound. The machine cannot work until safety key is inserted back.
POWER ON AND POWER OFF
Switch off the power: You can switch off the power to stop the treadmill, which won’t be damaged at any time.
CAUTION:
- We recommend that you maintain a slow speed at the beginning of a session and hold on to the handrails until you become comfortable and familiar with the treadmill.
- Attach the magnet end of the safety pulling rope to the computer and also attach the clip of the safety pulling rope to your clothing.
- To end your workout safely, press the STOP button or pull out the safety pulling rope, then the treadmill will stop immediately.
EXERCISE GUIDE
Before beginning any exercise program, consult your physician. This is important especially if you are over the age of 45 or individuals with pre-existing health problems.
The pulse sensors are not medical devices. Various factors, including the user’s movement, may affect the accuracy of heart rate readings. The pulse sensors are intended only as an exercise aid in determining heart rate trends in general.
Exercising is great way to control your weight, improving your fitness and reduce the effect of aging and stress. The key to success is to make exercise a regular and enjoyable part of your everyday life.
The condition of your heart and lungs and how efficient they are in delivering oxygen via your blood to your muscles is an important factor to your fitness. Your muscles use this oxygen to provide enough energy for daily activity. This is called aerobic activity. When you are fit, your heart will not have to work so hard. It will pump a lot fewer times per minute, reducing the wear and tear of your heart.
So as you can see, the fitter you are, the healthier and greater you will feel.

WARM UP
Start each workout with 5 to 10 minutes of stretching and some light exercises. A proper warm-up increases your body temperature, heart rate and circulation in preparation for exercise. Ease into your exercise.
After warming up, increase the intensity to your desired exercise program. Be sure to maintain your intensity for maximum performance. Breathe regularly and deeply as you exercise.
COOL DOWN
Finish each workout with a light jog or walk for at least 1 minute. Then complete 5 to 10 minutes of stretching to cool down. This will increase the flexibility of your muscles and will help prevent post-exercise problems.
WORKOUT GUIDELINES

This is how your pulse should behave during general fitness exercise. Remember to warm up and cool down for a few minutes.
MAINTENANCE INSTRUCTIONS
Reasonable cleaning/lubricating should be made to extend the lifetime of this unit. Performance is maximized when the belt and mat are kept as clean as possible.
WARNING
- The mat/deck friction may lay a major role in the function and life of your treadmill and that is why we recommend you constantly lubricate this friction point to prolong the useful life of your treadmill. Failing to do this may void your warranty.
- Unplug power cord before maintenance.
- Stop treadmill before folding.
GENERAL CLEANING
- Use a soft, damp cloth to wipe the edge of the belt and the area between the belt edge and frame. A mild soap and water solution along with a nylon scrub brush will clean the top of the textured belt. This task should be done once a month. Allow to dry before using.
- On a monthly basis, vacuum underneath your treadmill to prevent dust build up. Once a year, you should remove the black motor shield and vacuum out dirt that may accumulate.
GENERAL CARE
- Check parts for wear before use.
- Pay particular attention to the fixing knobs and make sure they are tight.
- Always replace the mat if worn and any other defective parts.
- If in doubt do not use the treadmill and contact us.
Take care to protect carpets and floor in case of leakages. This product is a machine that contains moving parts which have been greased/lubricated and could leak.
BELT/DECK/ROLLER LUBRICATION
The mat/deck friction may play a major role in the function and life of your treadmill and that is why we recommend you constantly lubricate this friction point to prolong the useful life of your treadmill. You should apply lubrication after approximately the first 30 hours of operation.
We recommend lubrication of the deck according to the following timetable:
- Light use (less than 3 hours per week) every 6 months.
- Medium use (3-5 hours a week) every 3 months.
- Heavy use (more than 5 hours per week) every 6-8 weeks.
See below procedures for lubricating:
- On the side rail there is a lid to top up the lubrication tub.
- Refill it once it is low and this will self-lubricate the belt.
We recommend that you use a silicone-based oil to lubricate your Lifespan treadmill. This can be purchased directly from us or any hardware store.
Video Tutorial Available at: http://youtu.be/cP9NtFHfWlc
Lifespan Fitness YouTube Channel: http://www.youtube.com/user/treadmillsvideos
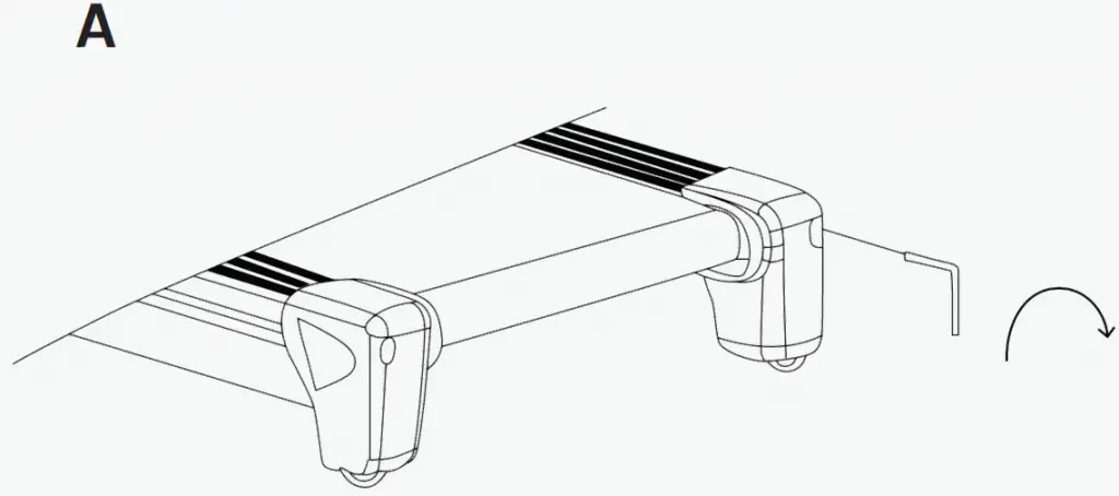
ADJUSTING THE RUNNING BELT
Place treadmill on a level surface. Run treadmill at approximately 4km/h, checking the running condition.

If the belt has drifted to the right: Whilst the treadmill is running at 4km/h, carefully turn the right adjusting bolt 1/4 turn clockwise. Then monitor treadmill until the belt centers. Repeat until the belt correctly centers.
See Picture A
If you have over adjusted the belt and it drifts to the right, carefully turn the right adjusting bolt anticlockwise until the belt centers.

If the belt has drifted to the left: Whilst the treadmill is running at 4km/h, carefully turn the left adjusting bolt 1/4 turn clockwise. Then monitor treadmill until the belt centers. Repeat until the belt correctly centers.
See Picture B
If you have over adjusted it, carefully turn the left adjusting bolt anticlockwise and until the belt centers.

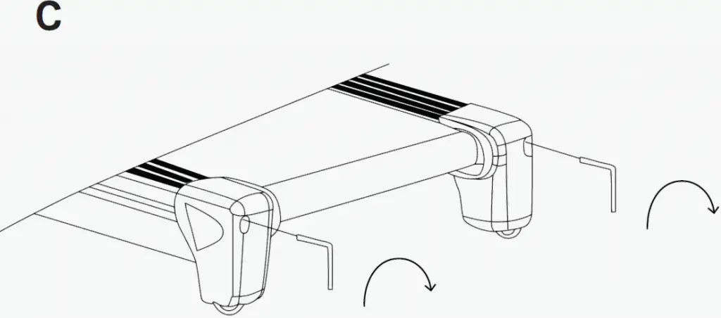
To adjust the tightness of the belt: Turn the treadmill off. Turn both the left and right adjusting bolts 1/4 turn clockwise. Repeat until the belt correctly tightens.
See Picture C
If the belt is over tightened, simply do the opposite to loosen.
NOTE:
When properly tightened,you should be able to peel the very edge of the side of the belt up approximately 2 inches. However, this is a rough reference and not all treadmills are the same. Some treadmills that have longer belts may give different measurements for correct belt tightness.
Simply, if the belt begins to slip during use, this is an indication that the belt still needs tightening.

Video Tutorial Available at: http://youtu.be/vllsamTSvvA
Lifespan Fitness YouTube Channel: http://www.youtube.com/user/treadmillsvideos
EXPLODED DIAGRAM

WARRANTY
AUSTRALIAN CONSUMER LAW
Many of our products come with a guarantee or warranty from the manufacturer. In addition, they come with guarantees that cannot be excluded under the Australian Consumer Law. You are entitled to a replacement or refund for a major failure and compensation for any other reasonably foreseeable loss or damage.
You are entitled to have the goods repaired or replaced if the goods fail to be of acceptable quality and the failure does not amount to a major failure. Full details of your consumer rights may be found at www.consumerlaw.gov.au.
Please visit our website to view our full warranty terms and conditions: http://www.lifespanfitness.com.au/warranty-repairs
WARRANTY AND SUPPORT
Any claim against this warranty must be made through your original place of purchase.
Proof of purchase is required before a warranty claim may be processed.
If you have purchased this product from the Official Lifespan Fitness website, please visit https://lifespanfitness.com.au/warranty-form
For support outside of warranty, if you wish to purchase replacement parts or request a repair or service, please visit https://lifespanfitness.com.au/warranty-form and fill in our Repair/Service Request Form or Parts Purchase Form.
Scan this QR code with your device to go to lifespanfitness.com.au/warranty-form

HAND PULSE TECHNOLOGY
Our products come equipped with hand pulse sensors which are used to pick up tiny EKG/ECG signals that run through the body when your heart beats. These electrical EKG/ECG signals are very small and that they must be amplified 1000 times to make the signal useful for the computer to display your pulse.
To ensure proper operation:
- The user must maintain good, consistent contact on all four sensors
- The users skin cannot be too dry or too wet
Other factors that could affect the reading:
- Change of grip on the sensors (during slow pace walking and up to running)
- Tightening of hand muscles will produce small electrical signals
- Static electricity charges from the air or from walking on the treadmill
EKG/ECG Sensors may filter through actual EKG/ECG signals and “Noise” factors that may affect the reading. This will cause the pulse reading to be delayed and will take longer to update the display as the heart rate changes. Too much noise will create an incorrect reading. Medical conditions or having no electrical signal in the hands are other factors that may affect pulse readings as well.
These are limitations of hand pulse technology and even the most expensive systems (which can cost upwards of $3,000) used in hospitals have the same problems. The difference is that a patient in a hospital is not running on a treadmill. Hand pulse technology works well on stationary exercise machines like bikes and even elliptical cross trainers but are not perfect on a treadmill. We offer treadmills with a wireless heart rate receiver which may be a more accurate option.
To test if your hand pulse sensors are working up to specification, hold them while standing on the side step rails, not walking, and see if the reading is more in line with what you would expect. This will eliminate the movement and static electricity factors. If your hands are dry, then wet them slightly (saliva works as a great conductor if this doesn’t bother you).
























