TR800B Treadmill Base
Owner’s Manual
TR800B/TR1000B/TR1200B/TR5000B
Welcome
Welcome to LifeSpan Workplace!!
Congratulations on stepping into the growing movement of workplace activity. You’re joining an enthusiastic community, one that’s dedicated to a gentle pace towards better living and more productive work environments.
You’ve picked the right partner. LifeSpan is the originator of active workstations and the global leader in safe and efficient workplace motion. We trust our mission will directly benefit your own, a task we don’t take sitting down. With our company-wide dedication to quality and reliability, we’re certain you’ll be satisfied with your newfound health. Before you assemble or operate your product, please read this manual thoroughly. Important information regarding safety precautions, product maintenance, assembly instructions and proper operation are included.
If you need to contact LifeSpan customer service, please visit the customer service section of www.LifeSpanFitness.com. Submitted service requests will be responded to within one business day. Consumers in the United States and Canada can also dial (877) 654-3837, option 4.
We recommend you take a personal approach to add movement to your day. Begin slowly, gently increasing your activity in a way that is both comfortable and enjoyable. We have a wealth of helpful information available on our website, feel free to use us as a resource as you utilize your new product. We’d love to share our strategies and provide you with proven methods for success.
Please thoroughly read this manual before you assemble or operate your treadmill. Neither LifeSpan nor its representatives can accept responsibility for any damages or injury incurred as a result of information presented in this manual except under the terms of the product warranty.
Safety First
When using active workstations, basic precautions should always be followed, including:
- Never drop or insert any object into any opening. If an object falls into an opening, turn the power off and unplug the power cord from the outlet. Remove the object or call customer service at 877.654.3837 option 4.
- Never operate this treadmill if it has been damaged or partially submerged in water.
- To reduce the risk of electric shock, unplug the treadmill from the wall outlet when not in use, before performing any maintenance, or before moving the treadmill.
- Do not use outdoors or in areas of high humidity or extreme temperature changes.
- Do not operate where aerosol spray products are being used or where oxygen is being administered.
- Never place the power cord under carpeting or place any object on top of the cord, this may pinch or damage the cord causing fire damage or personal injury.
- Use this product for its intended use as described in this Owner’s Manual. Do not use attachments that are not recommended by LifeSpan.
- Do not leave your treadmill running while not in use.
Children and Pets
- Keep children from playing on your treadmill at all times.
- When in use children and pets should be kept at least 10 feet (3m) away.
- This treadmill should only be used by those 12 years of age and older.
Users, especially those with known health conditions, should consult a physician prior to beginning an activity program. - Cleaning and user maintenance shall not be made by children without supervision.
Safety Tips While in Use
- Always consult a physician before beginning an exercise program.
- If you experience chest pains, nausea, dizziness, or shortness of
breath, stop exercising immediately and consult your physician before continuing. Do not wear clothing or jewelry that might catch on any part of the treadmill. - Wear shoes with high traction rubber soles. Do not wear shoes with heels, leather soles, cleats, or spikes.
- Do not walk or run backward on the treadmill, always face forward.
- Allow the running belt to fully stop prior to getting off the treadmill.
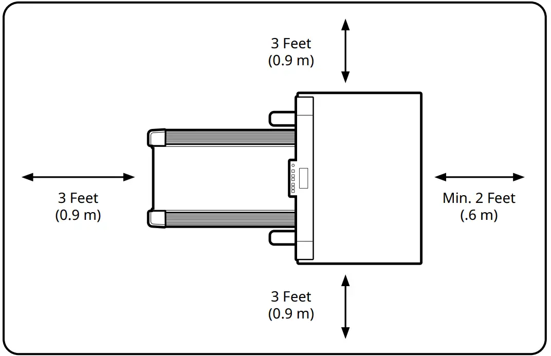
- Make sure the area behind the treadmill remains completely clear during use. A minimum of 3 feet (1m) of clearance is required for safety reasons. There should be a minimum of 2 ft. (.6 m) on at least one side of the treadmill.
Safety Clearance
Note: Read all instructions and save them for future reference.
About Your Treadmill Base
Specifications
TR800B
| Walking Belt Size | 18″ x 45″ (45.7 cm x 111.7 cm) |
| Drive Motor | 2.0 HP Continuous Duty |
| Max User Weight | 200 lbs. (136 kg) |
| Dimensions | 60.5” L x 26” W (153.6 cm x 66 cm) |
TR1000B
| Walking Belt Size | 20” x 45” (51 cm x 114.3 cm) |
| Drive Motor | 2.25 HP Continuous Duty DC |
| Max User Weight | 300 lbs. (136kg) |
| Dimensions | 58.7”L x 28.7” W(149 cm x 73 cm) |
TR12000B
| Walking Belt Size | 20″ x 50″ (51 cm x 127 cm) |
| Drive Motor | 2.25 HP Continuous Duty DC |
| Max User Weight | 350 lbs. (159 kg) |
| Dimensions | 64” L x 29” W (160 cm x 73.7 cm) |
TR5000B
| Walking Belt Size | 20″ x 50″ (51 cm x 127 cm) |
| Drive Motor | 3.0 HP Continuous Duty |
| Max User Weight | 400 lbs. (182 kg) |
| Dimensions | 64” L x 29” W (160 cm x 73.7 cm) |
All Treadmill Bases
| Speed Range | 0.4 – 4.0 mph (0.6 – 6.4 kph) |
| Roller Size | Tapered Front 2.4” (6 cm), Rear 2.0” (5 cm) |
| Deck | 1″ (2.5 cm) Phenolic Deck |
| Deck Suspension | 6 Independent Compression Shocks |
Warranty
Your LifeSpan treadmill base comes with the following limited warranty valid in North America. If you are outside of these areas contact your local distributor for warranty information or visit www.LifeSpanFitness.com.
| Treadmill Frame | TR800B | TR1000B | TR1200B | TR5000B |
| Lifetime | Lifetime | Lifetime | Lifetime | |
| Motor | 3 Years | 3 Years | 3 Years | 3 Years |
| Parts | 1 Year | 1 Year | 2 Years | 2 Years |
| Labor | 1 Year | 1 Year | 1 Year | 1 Year |
LifeSpan warrants the equipment it manufactures to be free from defects in materials and workmanship under normal use and services. The periods above are based on the date of purchase. During these periods, LifeSpan will repair or replace any defective part. Free labor is included on all parts that are not normally assembled or replaced by the customer within the labor period.
If within the time frames specified above, any part fails to operate properly, login to our website at www.LifeSpanFitness.com, click on “Customer Service” and complete the form to request assistance or call 877.654.3837 option 4 for a Customer Service Agent (please note that certain kinds of service should only be performed by a qualified service technician).
LifeSpan reserves the right to make changes and improvements to our products without incurring any obligations to similarly alter any product purchased. In order to ensure our product warranty and to ensure the safe and efficient operation of your LifeSpan product, only authorized parts can be used. The warranty is void if any parts other than those provided by LifeSpan are used.
Exclusions and Limitations:
- This warranty does not apply to any defects caused by negligence, misuse, improper assembly, maintenance, accident, or “act of God.”
- This warranty does not apply to the discoloration of paints or plastics.
- LifeSpan shall not be responsible for incidental or consequential damages.
- This warranty is non-transferable from the original owner.
Proper Grounding
LifeSpan equipment must be grounded. Improper connection of the equipment’s grounding conductor can result in the risk of electric shock. Check with a qualified electrician or service person if you are in doubt as to whether the outlet is properly grounded. Do not modify the plug provided with the product or use a ground plug adapter to adapt to a non-grounded outlet. If the plug will not fit in the outlet, have the proper outlet installed by a qualified electrician.
Power Cord Options
This treadmill should only be used with the proper power cord and power outlet. Several power cord options (shown below) are available from LifeSpan. We do our best to include the correct power cord with the treadmill for your area. In the event that the correct power cord is not included in the packaging please contact your local distributor.
Do not use extension cords between the treadmill and power outlet.
Do not plug into a GFI outlet or circuit as it may trip the breaker.
Maintenance and Tips
Belt Lubrication
Use only 100% silicone and avoid using aerosol silicone sprays which include additives and petroleum distillates. One ounce of silicone should be used for each application. LifeSpan offers 100% silicone lubricant that can be ordered at www.LifeSpanFitness.com.
The walking belt should be lubricated with one fluid ounce every 50 hours of use or three months, whichever comes first.
To lubricate, unplug your treadmill.
- Power off your treadmill and unplug it from the power outlet.
- Starting toward the front (motor end) of your treadmill, slide your hand underneath the belt and create separation between the deck and belt.
- Slide the lube tube as close to the center of the deck as possible.
- While gently applying controlled pressure to the squeeze bottle, apply approximately ½ oz (1/8 of the bottle) to the underside of the belt. Apply as close to the middle of the belt as possible, since this is where your feet make contact.
- Move the belt with your hands or feet so that you apply a full ounce on the entire inner surface of the belt.
- Plugin the treadmill, power it on, and run the belt without walking on it at 3 mph for 3 minutes to disperse the treadmill lubricant evenly.
Note: When lubricating the belt, make sure the treadmill is on a surface that can be easily cleaned. After lubricating clean any excess silicone off the walking surface of the belt and side rails.
For a full video demonstration on lubricating your treadmill, scan the QR code to watch our YouTube video.
Daily Cleaning
It is recommended to wipe the treadmill down after each use to keep the treadmill clean and dry. A mild detergent may be used at times to help remove all dirt and salt from the belt, painted parts, and the display.
Monthly Cleaning
This cleaning includes removing the motor cover and cleaning around the motor and electronics. It is recommended to clean the motor compartment if the treadmill is in an area where there might be plush carpet fibers that could get pulled up into the motor compartment. It is a good idea at this time to tighten all assembly hardware and check the power cord for damage, or anything else that would indicate the need for service.
Safety and Integrity
The safety and integrity designed into the machine can only be maintained when the treadmill is regularly examined for damage and repaired. Worn or damaged components shall be replaced immediately or the treadmill is removed from service until the repair is made. Pay special attention to components most susceptible to wear.
WARNING: Keep treadmill stable on flat ground.
WARNING: Unplug the power cord before removing the motor cover.
IMPORTANT: If service is required, turn the power off and remove the power cord to ensure the unit cannot be used. Let all other users know the treadmill needs service.
CAUTION: Acidic cleaning detergents may damage painted or powder-coated surfaces and should not be used. Such cleaners may void the LifeSpan warranty.
Belt Tensioning
If the belt begins to slip and needs to be tensioned, tension bolts are accessible from the back of the treadmill. Before tensioning the belt, start the treadmill and set the speed to 3 mph (5 kph).
A. Using a 6 mm Allen wrench, included in your hardware bag, turn the right and left tension bolts 1/2 turn clockwise.
B. Test to see if the slipping is eliminated. If the belt slips repeat step A and test again.
Note: Adjusting one side more than the other will cause the belt to drift to the side of the treadmill and will require belt alignment. Check to be sure the running belt is still aligned. If belt alignment is off refer to the Belt Alignment section.
CAUTION: DO NOT tighten more than 2 full turns on each side.
Over tensioning the belt can cause unnecessary friction and wear and tear on the belt, motor, and electronics.
Belt Alignment
A. Press Start, then increase the treadmill speed to 3 mph (5 kph).
B. Stand behind the treadmill to see which way the belt is drifting.
C. If the belt drifts to the left, turn the left adjustment bolt 1/4 turn clockwise and the right adjustment bolt 1/4 turn counter-clockwise. (See FIG. 1)
D. If the belt drifts to the right, turn the left adjustment bolt 1/4 turn counter-clockwise and the right adjustment bolt 1/4 turn clockwise. (See FIG. 2)
E. Observe the alignment for two minutes. Repeat steps A-D as needed.
Visit https://www.lifespanfitness.com/support/frequently-asked-questions for a full video demonstration on aligning your treadmill belt.
Moving the Treadmill Base
- Make sure the ON/OFF switch is turned OFF. Unplug the power cord and data cable from the treadmill.
- Make sure nothing is on or near your treadmill which might spill, be knocked off, or prevent the treadmill from moving.
- Place both hands under the support bar located under the back of the walking belt to make sure you have a solid lifting point.
- Lift the back of the treadmill and roll to the desired location.

CAUTION: When lifting, use proper safety precautions and lifting techniques. Bend your knees and elbows, keep your back straight and lift evenly with both arms.
LifeSpan Fitness
785 West 1700 South Suite 1
Salt Lake City, UT. 84104
Phone: 877.654.3837
www.LifeSpanFitness.com
Version 2.0





















