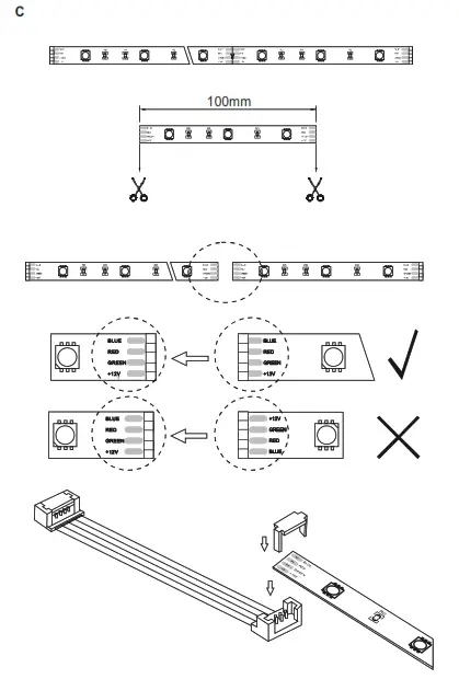
1205-70 LED RGB Dimmable Strip TENIA
Instruction Manual
826272 – TEANIA
LED RGB Dimmable Strip TEANIA



![]() | ![]() |
Paul Neuhaus GmbH
Olakenweg 36 · D-59457 Werl
+49(0)2922 9721 9290
[email protected]
www.paul-neuhaus.de
1205-70 LED RGB Dimmable Strip TENIA
Instruction Manual
826272 – TEANIA



![]() | ![]() |
Paul Neuhaus GmbH
Olakenweg 36 · D-59457 Werl
+49(0)2922 9721 9290
[email protected]
www.paul-neuhaus.de
Download manual
Here you can download full pdf version of manual, it may contain additional safety instructions, warranty information, FCC rules, etc.