mistral Flame Effect Electric Fireplace MF850UBY21 Instruction Manual
Important Safeguards
When using electrical appliances, in order to reduce the risk of fire, electric shock, and/or injury to persons, basic safety precautions should always be followed, including:’
For Your Safety
When using this appliance, below safety precautions should always be followed.
- To prevent fire or shock hazard, DO NOT expose this appliance to rain or moisture.
- Dangerous high voltages are present inside this enclosure. To avoid electric shock, DO NOT open the cabinet, refer servicing to qualified personnel only.
- To protect against fire, electrical shock and injury to persons, do not immerse the unit, plug or cord in water or spray with liquids.
- The apparatus shall not be exposed to dripping or splashing and no objects filled with liquids, such as vases, shall be placed near the product. Dry location use only.
- No naked flames sources, such as candles, should be placed on the product.
- Any ventilation holes should not be impeded by covering with items, such as newspaper, table paper, tablecloths, curtains etc. Slots and opening are provided for ventilation to ensure reliable operation of the product and to protect it from overheating. Never obstruct the air inlet and outlet. Do not use any object to cover this appliance.
- Only connect to a suitable AC 230-240V~50Hz mains wall outlet. Do not overload the wall outlet.
- This appliance is not intended to be operated by means of an external timer or separate remote-control system. Other use not recommended may cause fire, electric shock or injury.
- This appliance is not intended for use by persons(including children) with reduced physical, sensory or mental capabilities, or lack of experience and knowledge, unless they have been given supervision or instruction concerning use of the appliance by a person responsible for their safety.
- Keep out of reach of children. Children should be supervised to ensure that they do not play with the appliance.
- To disconnect, grip the plug and pull it from the wall outlet. Never pull by the cord. Do not use with wet hands or in damp environments.
- Do not attempt to repair, disassemble or modify the appliance. There are no user serviceable parts inside. Repairs should only be performed by qualified personnel.
- If the supply cord is damaged, it must be replaced by the manufacturer, its service agent or similarly qualified persons in order to avoid a hazard.
- Do not use this appliance outdoors. This appliance is for household use only and not for commercial or industrial use.
- Do not use if there are visible signs of damage to the heater.
- Use this heater on a horizontal and stable surface, or fix it to the wall, as applicable.
- Do not use this heater with a programmer, timer, separate remote-control system or any other device that switches the heater on automatically, since a fire risk exists if the heater is covered or positioned incorrectly.
WARNING: Do not use this heater in small rooms when they are occupied by persons not capable of leaving the room on their own, unless constant supervision is provided.
Warning: In order to avoid overheating, DO NOT COVER the appliance.
Warning: Do not place the heater on LONG PILE CARPET OR FLOKATI RUGS. Use a heat board if necessary.
WARNING: To reduce the risk of fire, keep textiles, curtains, or any other flammable material a minimum distance of 1 m from the air outlet.
WARNING: FIRE RISK EXISTS IF THE HEATER IS COVERED BY OR POSITIONED CLOSE TO CURTAINS OR OTHER COMBUSTIBLE MATERIALS.
The heater must not be located immediately below a socket outlet.
Do not use this heater in the immediate surroundings of a bath, a shower or a swimming pool.
Do not use this heater if it has been dropped;
Always
- Always position the heater in accordance with the instructions.
- Always make sure the electrical socket is accessible and located adjacent to, but not above the heater.
- Always use a fire guard when children, animals and infirm persons can come into contact with the heater. Pay attention! The air outlet gets hot during operation.
- Always turn the appliance OFF and unplug it from the mains wall outlet when it is not in use, when moving the appliance from one location to another and before cleaning.
Never
- Never leave the appliance unattended when it is in use. Never leave children unsupervised in a room where the heater is ON and unguarded.
- Never obstruct or cover the air outlet or force items into the heater openings, this could cause overheating and consequent risk of fire. Never insert or allow foreign objects to enter the air outlet as this may cause damage to the appliance.
- Never position or use the heater in the immediate vicinity of water, such as bathtub, shower, washbowls, swimming pool etc.
- Never use aerosols or steam cleaners on or around the heater.
- Never use the heater in rooms with explosive gas or while using flammable solvents, varnish or glue.
- Never route the power supply cord under carpet etc.
- Never use the heater to dry clothes, etc.
- Never operate the appliance with a damaged cord or plug, after a malfunction or if it is not working normally, dropped or damaged in any way.
- Never let the power cord hang over the edge of a table or counter or let it touch any hot surfaces.
- Never move the appliance by pulling the cord.
- Never immerse the product in water or any other liquid for any reasons.
- Never use accessories that are not recommended or supplied by the manufacturer.
Position Instructions
This heater (where used with the stand) must be placed on a hard, level, heat resistant surface. or fix it to the wall, as applicable. When positioning, please keep the following points in mind:
- This heater must not be located immediately below an electrical outlet.
- The heater MUST only directly be plugged in to a fixed Domestic Power outlet , DO NOT use in conjunction with Extension cords , Power Boards or Double Adaptors , as these can overheat when overloaded.
- Do not use the appliance in rooms less than 4m2 areas.
- Keep the air inlet and outlet free from objects at least 100cm in front and 50cm behind the heater. Do not hang anything on or in front of the heater.
- Never position the heater close to curtains or combustible materials such as furniture, cushions, bedding, paper, clothes, curtains etc. Keep the the appliance at least 100cm (1m) away from walls and any combustible materials when using heater as a portable appliance ( Refer to separate installation conditions when wall mounting this heater ).
- Never position or use the heater in the immediate vicinity of water, such as bathtub, washbowls, swimming pool etc. where the likelihood of immersion or splashing could occur.
- Keep hearthrugs and other soft furnishings away from the front of the heater. They could obstruct the free flow of hot air and damage both soft furnishings and heater.
Cautions:
Do not operate the appliance on an inclined surface. Do not move the appliance while the appliance is switched on.
In order to avoid a hazard due to inadvertent resetting of the thermal cutout, this appliance must not be supplied through an external switching device, such as a timer, or connected to a circuit that is regularly switched on and off by the utility.
This heater is hot when in use or directly after use. To avoid burns, do not let bare skin touch hot surfaces. Keep combustible materials such as furniture, pillows, bedding, papers, clothes and curtains well away from the heater. Do not drape laundry or any other items over the heater.
At the end of the product’s serviceable life it should be disposed of carefully and safely in accordance with local authority regulations.
Features of Your Flame Effect Electric Fireplace

Control panel

Remote control

Assembly
Before using the heater, the feet (supplied separately in the carton), must be fitted to the unit. Remove the heater and the feet from the carton, feet mounting screws are contained in the satchel with the Instruction Manual.
When using heater as a portable appliance than the feet (Supplied separately in carton) must first be fitted.
The feet are to be attached to the base of the heater enclosure with the 4 screws (M4X30 4pcs) provided and following the steps below:
- Place the heater on the floor with the bottom facing up. Please take care of the power switch while the heater is bottom up.
- There are four feet mounting holes at bottom of the heater as indicated Fig1.

- The plastic feet have a location post, make sure these posts are aligned and positioned in the corresponding holes at the base of the heater, then turn feet to align with the two screw mounting holes as shown in Fig2.

- Attached the feet to the base of the heater with 2 screws for each of the feet and tighten with a screwdriver to secure as shown in Fig3.

Parts List


Your Flame Effect Electric Fireplace
Congratulations on the purchase of your new Heater. Before using your new heater, it is important that you read and follow the instructions in this Use and Care booklet, even if you feel that you are quite familiar with this appliance. Find a place to keep this booklet handy for future reference. Attention is drawn to section dealing with ‘IMPORTANT SAFEGUARDS.’
This appliance has been designed to operate from a standard domestic power outlet. It is not intended for industrial or commercial use.
Wall-mount Instructions
This Flame Effect Electric Fireplace also comes with a wall mounting kit if the preferred option is to wall mount the heater.
The following installation instructions must be adhered to in order to ensure that it is installed and secured safely:
- Only mount heater horizontally, For installation of the heater, care must be taken not to damage concealed cables.
- Minimum of 300mm in height from the floor and minimum 1000mm from the ceiling.
- Install the heater near and in within reach of a domestic power outlet, where such power outlet is adjacent and to the right hand side of the heater ( Where the power cord exits from the heater). Do not use extension leads to reach the nearest power outlet.
- Wall mount bracket(s) must be secured in to solid substrate ( Brick , concrete etc.) or aligned with timber or metal wall studs,
DO NOT secure onto just plaster or similar materials that cannot support the weight of the heater. Mounting brackets, screws and wall plugs are included. - Ensure that heater is mounted away from any surrounding combustible materials.
- Do not connect the heater until properly fixed to the wall and the instructions are read fully. The minimum distances must be observed.
- Please be careful while drilling the holes.
Note: When wall mounting heater, ensure that the the feet are not fitted to the heater enclosure. So don’t assemble at all or remove when changing from a portable appliance to wall mount fit.
For optimum viewing, mark the top five screws fixing positions on wall in accordance with the recommend fixing dimensions- see Fig.2. Drill holes with a suitable drill bit for either with or without use of the wall plugs to suit the substrate.
- Although a minimum distance of 300mm from the floor is to be adhered to, for optimum viewing of the fuel bed,600mm height is recommended, ( Fig.1).

- Mark the top five screws holes (Applicable to solid substrate of Brick concrete etc.) and ensure it is level. Use 8.0mm Masonry drill bit, drill 40mm deep holes , insert wall plugs and secure bracket with the 5x40mm screws provided. For plaster walls with Timber or Steel wall studs ensure to secure bracket to at least 2 wall studs (Additional pilot hole may need to be drilled into bracket to obtain alignment with 2 studs). In this instance there is no need to drill holes to insert wall plugs, but can secure bracket with screws directly into studs. (Fig 2).

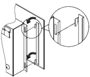
Note: Ensure the bracket is level by using a spirit level whilst marking out the hole positions. - First Loosen the 2 screws on the side cover, remove the glass panel from the front of the enclosure. To remove , have firm grip on the glass panel with both hands , slide upwards to unlock and then pull forward to remove. Place the heater upside down on a soft cloth or carpet. Secure the bottom bracket onto the base of the heater enclosure with the ST4 x 8mm screws provided. With the help of another person(to avoid injury, damage to property or appliance),lift the heater into place and engage the heater with the top wall bracket(Fig.3 & Fig 4) and is positioned centrally. Now mark the position of the 2 holes that secures the bottom bracket. Lift heater away from the wall and drill the holes (Solid walls, brick/concrete). For plaster wall , use plaster wall anchors ( Not Supplied).


- Fix the Wall bracket. Again with the help of another person (to avoid injury, damage to property or appliance), lift the heater into place and engage the heater with the top wall bracket(Fig.5), is positioned centrally, then gently angle heater down against the wall and secure bottom bracket with 2 screws (40mm) against the wall.

- The glass panel can now be placed back into position. Align metal hooks on the glass panel with the corresponding slots of the heater enclosure, push into slots and slide down to secure in place, attach into place with the 2 side cover screws and tighten to secure. (Fig.6).

Note: Positioning the flat glass panel in place should ideally be done with assistance(Person on each side holding glass) to safely align and secure in place.
Control Panel

- Power ON/OFF Switch: Press the power switch once to switch On power, push the power switch button once again to turn main power off.
- Dimmer adjustable Button: Press once the O/I button to turn on the appliance and fire effect. A red indicator light will appear to indicate that the function is ON. Press the O/I button for 3 seconds this will operate the dimmer mode.
- 1000W Heating select button: Press the 1000W button once for the low heat settings; press twice to switch off the heat setting.
- 2000W Heating select button: Press the 2000W button once for the high heat settings; press twice to switch off the heat setting.
Remote control

- In order to operate the heater with the remote control, the ON/OFF switch on the heater itself must be in the ON(I) position.
- It takes some time for the receiver to respond to the transmitter. Do not PRESS the buttons more than once within two seconds for correct operation.
- the ON/OFF button once on the remote control to activate the flame Effect aspect of the heater, press button again to turn it OFF.
- Press the 1000W button once for the low heat settings; press twice to switch off the heat setting.
- Press the 2000W button once for the high heat settings; press twice to switch off the heat setting.
- Press the DIMMER button in order to operate the light intensity dimming by selecting one of 5 light intensity levels that you desire.
Battery installations: Open the battery cover.
Insert 2x 1.5V AAA batteries in the battery compartment.
Reattach battery cover.
Note: Make sure the batteries are installed correctly in the remote control by aligning the +/- polarity marking in the battery compartment with the batteries.
Operation
When operated for the first time, the unit may emit an unpleasant burning type smell. This is normal, and will disappear after a short period of use. Always choose a safe location for the heater, keeping in mind the safety precautions outlined.
Ensure that all packaging has been removed from the unit before use.
The appliance can be operated either by the switches located on the top right hand side of the heater or by supplied remote control.
- Place the heater on a level, hard and heat resistant surface or fix it to the wall, as applicable.
- Plug the power cord into a suitable 230 – 240V~50Hz wall outlet.
- Set power on/off switch to position “I”.
- Press on the O/I button, or press the button ON/OFF on the remote control, the flame effect illumination will be activated.
- Select the desired function:
- Dimmer button: Press and repeatedly press this button to control the flame effect illumination intensity or turn illumination Off. This dimming feature is not step-less, but can make selection of 5 light intensity levels.
- Press the Heating select button, or press corresponding heat selection button on the remote control: This flame effect heater consists of fan forced heating with two dedicated heating setting, 1000watts or 2000 watts. For low heat, push the 1000W heat button once. For high heat, push the 2000W heat button.
Warning: The heating element box and fan air intake / outlet is positioned on top the heater. This area gets hot during operation and should not be operated under , near or on top of flammable materials such as curtains drapes , other non -heat resistant materials like Carpet , Vinyl , floating or Timber floors that could discolor or be permanently damaged as a result of accidental airflow obstruction , position heater on heat board between heater and non-heat resistant substrate. Do not insert or allow foreign objects to enter any grille opening as this may cause an electric shock , fire or damage the heater, contact with the elements inside the heater could result in electric shock.
Thermal Safety Cut-out
This appliance is fitted with a safety cut out, which will operate if the heater overheats (eg, due to blocked air outlet). For safety reasons, the heater will NOT automatically reset. To reset the heater, disconnect the heater from the power outlet. Let the heater cool down before reconnecting the heater to the power outlet and switching it back on.
WARNING: In order to avoid a hazard due to inadvertently resetting the thermal cutout, this appliance must not be supplied through an external switching device, such as a timer, or connected to a circuit that is regularly switched on and off by the utility.
Safety Tip Over Switch
The heater comes equipped with a safety tip over switch. It will cut off the power due to accidental knocking over.
Technical Specifications
- Power Supply: AC 220-240V ~ 50Hz
- Power Consumption: 2000W
NOTE: As a result of continual improvements, the design and specifications of the product within may differ slightly to the unit illustrated on the packaging.
Care and Cleaning
- Before cleaning, ensure that the heater is switched in the off position and is unplugged from the socket.
- Clean the exterior surfaces of the heater with a dry, soft cloth.
- Never use any form of detergents or solvents to clean the heater.
- Never spray with liquids or submerge in liquids or water.
- DO NOT attempt to clean the interior of the heater.
- DO NOT ATTEMPT TO OPEN THE CASE OF THIS HEATER at any time. There are no consumer serviceable parts inside this unit.
- When the heater is stored during the off season, neatly wind the cord around the base of the heater to prevent any damage to the cord.
Disposal
Do not dispose of packaging or the product through your household waste!
The product and packaging are made from recyclable materials (plastics, metals, paper).
If the product is no longer suitable for use dispose of it in an environmentally friendly manner in accordance with your local council.
Warranty
Warranty Conditions for purchase in Australia & New Zealand
Any claim under this warranty must be made within 2 years of the date of purchase of the product. To make a claim under the warranty in Australia, take the product (with proof of purchase) to any Bunnings store (see www.bunnings.com.au in Australia or www.bunnings.co.nz in New Zealand for store locations).
GSM Retail Group bears reasonable, direct, expenses of claiming under the warranty in Australia. You may submit details and proof to a Bunnings store for consideration or contact our service agent below.
This warranty is provided in addition to other rights and remedies you may have under law: our goods come with guarantees which cannot be excluded under the Australian Consumer Law (if purchased in Australia) or the Consumer Guarantees Act 1993 (if purchased in New Zealand). You are entitled to replacement or refund for a major failure and to compensation for other reasonably foreseeable loss or damage. You are also entitled to have the goods repaired or replaced if the goods fail to be of acceptable quality and the failure does not amount to a major failure
The warranty excludes damage resulting from product misuse or product neglect. The warranty covers domestic use only and does not apply to commercial applications.
This warranty is given by GSM Retail Group
ABN: 53007682475
For Warranty and technical queries: 1300 373 199 Aus Or 0800 200 037 NZ
Warranty Exclusions
Damage to the base or diffuser or any part through accident, misuse or negligence.
Consumer Service Centre :
Aus: 1300 373 199
NZ: 0800 200 037
GSM Retail Group has a policy of continual improvement throughout the product range. As such the unit contained within may differ slightly from the unit illustrated on the pack. MADE IN CHINA for GSM Retail Group Mistral is a registered trademark of GSM Retail Group.




























