DECOR LOE-333 Modern Flame Mounted Electric Fireplace Instruction Manual
LOE-333 Modern Flame Mounted Electric Fireplace
Purchase Date: / / Order/Customer Reference Number:
Thank you for choosing Sunnydaze Decor. We stand behind our brand and the quality of the items we sell.
Replacement parts or products will be sent at our discretion within the 1-year warranty period. Proof of purchase, with the date of purchase as well as photos of the merchandise defect, must be provided. Photos are used to determine the cause of defects and for future quality control. Register your warranty at https://tiny.cc/SunnydazeWarranty
If you have any questions, comments or concerns, feel free to contact us by phone at 833-982-1977, by email: [email protected], or via our contact us page at https://tiny.cc/SunnydazeContact
MODERN FLAME MOUNTED ELECTRIC FIREPLACE
WARNING
Read and understand this entire manual, including all safety information, before plugging in or using this product. Failure to do so could result in fire, electric shock, or serious personal injury.

2-PERSON ASSEMBLY/ INSTALLATION RECOMMENDED
Remote Control Requires (2) ‘AAA’ Batteries (batteries not included)
![]()
![]()
WARNING!
Manufacturer and seller expressly disclaim any and all liability from personal injury, property damage or loss, whether direct or indirect, or incidental, resulting from the incorrect attachment, improper use, inadequate maintenance, or neglect of this product.
IMPORTANT SAFETY INFORMATION 
WARNING![]()
Read all instructions before using this heater!
- This heater is hot when in use. To avoid burns, DO NOT touch hot surfaces.
- Keep combustible materials, such as furniture, pillows, bedding, papers, clothes, and curtains at least 3 feet (0.9m) from all sides of the heater.
- If provided, use handles when moving the heater.
- Extreme caution is necessary when any heater is used. NEVER leave the unit unattended while heater is in use.
- Ensure adequate safety measures are incorporated to protect infants/toddlers from touching hot surfaces.
- DO NOT operate any heater if the cord is damaged, the heater malfunctions, has been dropped, or damaged in any manner. Discard heater or have it serviced by a certified professional.
- DO NOT run the power cord under carpeting, throw rugs, runners, or similar floor coverings. DO NOT route the power cord under furniture or appliances. Arrange power cord away from traffic area, and where it will not be tripped over.
- Connect to properly grounded outlet ONLY.
- DO NOT insert or allow foreign objects to enter any ventilation or exhaust opening, as this may damage the heater, cause electric shock or fire.
- DO NOT block air intakes or exhaust in any manner as doing so could cause a fire.
- DO NOT use on soft surfaces, like a bed, where openings may become blocked.
- A heater has arcing or sparking parts inside and becomes HOT. DO NOT use it in areas where gasoline, paint, or any flammable liquids are used or stored or where flammable vapors are present.
- Only use this heater as described in this manual. Any other use may cause fire, electric shock, personal injury or death.
- ALWAYS plug heaters directly into a wall outlet/receptacle. NEVER use this unit with an extension cord or relocatable power tap (power strip).
- DO NOT install the heater near a bed, objects such as pillows or blankets can fall off the bed and be ignited by the heater.
- NEVER use this heater in bathrooms, laundry rooms, or any other location where the heater could come in contact with water or be exposed to high moisture.
- AVOID FIRE! It is imperative that the control compartments, circulating blower, and its passageway in the fireplace is kept clean. Regularly inspect all air vents to make sure they are free from dust, lint, or other blockages. Unplug the unit and clean with a vacuum ONLY. DO NOT rinse or get wet.
- NEVER hang this unit on a wall directly below an electrical outlet.
- Ensure clearances to combustibles are maintained when building a mantel or shelves near the fireplace. Elevated temperatures on the wall or in the air around the fireplace can cause melting, discoloration or damage to decorations, a TV or other electronic components.
- ALWAYS mount onto the wall bracket before use. DO NOT set this unit on the floor or any other surfaces to use.
- NEVER use a wall mount bracket from another manufacturer.
WARNING ![]()
- Do not install the fireplace against a vapor barrier or exposed insulation.
- For residential use only! NOT for commercial use! Any commercial or public use of this heater voids all warranties and could cause injury.
- This product is not intended to be a primary heat source. It is for supplemental heat only.
- INDOOR use only! NEVER use this heater outdoors! Doing so may result in electric shock!
- DO NOT OPEN! Risk of electric shock! No user-serviceable parts inside!
- NEVER modify this heater. Doing so could result in personal injury or property damage. Modification of this fireplace completely voids all warranties.
- ALWAYS turn this heater off before unplugging it from the outlet.
- ALWAYS disconnect this unit from the power supply before performing any assembly or cleaning, or before relocating the electric fireplace.
- NEVER leave this heater unattended. ALWAYS unplug this heater when it is not in use.
- ALWAYS store this heater in a dry location. NEVER use the fireplace in a location where it may become wet.
- NEVER plug this heater into an outlet that is old, cracked, or has any loose wires or connections. Plugging this heater into a faulty outlet could result in electric arcing within the outlet that could cause the outlet to overheat or catch fire.
- ALWAYS check your heater cord and plug connections with each use!
i) MAKE SURE the plug fits tightly in the outlet! Faulty wall outlet connections or loose plugs can cause the outlet to overheat.
ii) Heaters draw more current than small appliances. Overheating may occur even if it has not occurred with the use of other appliances.
iii) During use, frequently check to see if the plug outlet or faceplate is HOT!
iv) If the outlet or faceplate is HOT, discontinue use immediately and have a qualified electrician inspect and/or replace the faulty outlets. - The power cord supplied with the heater has a plug with two flat blades (live and neutral) and one round pin (ground). If a 3-slot receptacle is not available, an
adapter MUST be used. The adapter MUST be properly grounded to the outlet box (see figure at right). - NOTE: Adapter NOT INCLUDED.

- Under no circumstances should this fireplace be modified.
Any modification to the product or failure to follow recommended care will void the product warranty.
WARNING!
Manufacturer and seller expressly disclaim any and all liability from personal injury, property damage or loss, whether direct or indirect, or incidental, resulting from the incorrect attachment, improper use, inadequate maintenance, or neglect of this product.
Parts and Hardware
| No. | Parts | Qty. |
| A | Fireplace | 1 |
| B | 5 | |
| C | 7 | |
| D | 7 | |
| E | Remote Control | 1 |
| F | Metal Bracket | 1 |
| G | 7 | |
| I | Decorative Crystals | 1PK |
| J | 7 |
Inspect packaging to ensure all parts are accounted for before disposing of packing materials.
WARNING
CHOKING HAZARD — This item contains small parts that can be swallowed. Keep children away during assembly.
Preparation
This product includes a GLASS panel! Always use extreme caution when handling glass.
Failure to do so could result in personal injury or property damage.
Remove all parts and hardware from the carton and place them on a clean, soft, dry surface. Assembly steps are grouped for wall-hanging or recessed installation. Check the parts list to make sure nothing is missing.
Dispose of packaging materials properly. Please recycle whenever possible.
Before installation, plug the unit into a properly grounded outlet for a brief test to ensure the unit works properly. Do not continue to operate until packing material has been removed from inside the unit.
Tools needed for installation (not included):
Phillips screwdriver, stud finder, level, tape measure, pencil, power drill, 1/4″ wood drill bit, hammer
WARNING ![]()
When using paint or lacquer to finish a mantel, the paint or lacquer must be heat resistant.
Installation and Assembly
This electric fireplace is a wall-mounted, recessed or firebox installed appliance. Select a suitable location that is not susceptible to moisture and is away from drapes, furniture and high traffic areas.
NOTE: Follow all National and local electrical codes.

Install in a safe location![]()
Minimum clearance on each side: 19.7″ (50 cm)
Minimum clearance below: 19.7″ (50 cm)
Minimum clearance above: 39.4″ (100 cm)
Minimum clearance from the front: 36″ (92 cm)
Choose a location near a properly grounded outlet. Do not use an extension cord.
DO NOT position the unit directly below a power outlet.
See Important Safety Information on pages 2 and 3 for warnings about safe placement, safe installation, and proper use of this product.
WARNING
Read and understand this entire manual, including all safety information, before plugging in or using this product. Failure to do so could result in fire, electric shock, or serious personal injury.
Wall-Mounted Installation
Due to the many different materials used on walls, it is highly recommended to consult a certified home contractor before installing this appliance on the wall.
ENSURE the fireplace is unplugged before assembly, installation, cleaning or relocating. Failure to do so could result in electric shock, fire, or personal injury.

A. Select a location that is not prone to moisture and follows clearances as noted on page 5.
B. Place the unit face-down on a soft, non-abrasive surface. Remove the mounting bracket from the back of the unit by removing the screws. [Figure 1]
C. Carefully flip the unit over and lay it face-up. Remove the screws that are on both sides of the front glass panel. [Figure 2] Save the screws for reinstalling the glass panel.
D. Carefully lift the glass panel off the fireplace and place it on a soft, clean surface. Remove the packing paper and log media from inside the unit. [Figure 3]

E. Ensuring the bracket is level and the hooks are facing upward, use the mounting bracket and a pencil to mark the locations on the wall where the anchors will install. This bracket MUST have the hooks facing upward and be level.
F. Install the anchors into the wall. Then install the bracket to the wall using the supplied screws. [Figure 4] Hang the fireplace on the mounting bracket.
NOTE: When installing on drywall, it is strongly recommended that the mounting bracket be screwed into the wall studs where possible. If the wall studs cannot be used, ensure that the supplied anchors are used to affix the bracket(s) to the wall and the bracket is adequately secured.

G. Align Metal Bracket (F) with where it will install on the underside of the fireplace. Mark the location where the bracket will install into the wall and install the anchor. Secure Metal Bracket (F) to the bottom of the fireplace using M4 x 8mm Screw (C). Use a wall screw to secure the bracket to the wall. [Figure 5]

H. Determine the desired media for inside the fireplace (log or decorative crystals). Install the log media or decorative crystals on the tray inside the fireplace. If using the decorative crystals, cover and store the log media in a safe place. [Figure 6]
I. Reinstall the front glass using the screws that were removed during Step C. Ensure the glass is fully secured and stable before operating the unit. [Figure 7]
Read and understand this entire owner’s manual, including all safety information, before plugging in or using this product. Failure to do so could result in electric shock, fire, serious injury, or death.
Recessed Installation
WARNING: Do not cut into walls without consulting a certified home contractor. Doing so could cause property damage, serious injury or death. It is highly recommended that a certified professional perform recessed installation.
Manufacturer and seller expressly disclaim any and all liability from personal injury, property damage or loss, whether direct or indirect, or incidental, resulting from the incorrect attachment, improper use, inadequate maintenance, or neglect of this product.
ENSURE the fireplace is unplugged before assembly, installation, cleaning or relocating. Failure to do so could result in electric shock, fire, or personal injury.

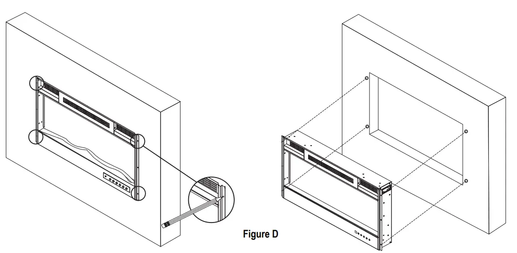
- Select a location that is not prone to moisture and follows clearances as noted on page 5. Ensure the opening is large enough for the fireplace box. [Figure A]
FIREBOX/FRAMING SIZEITEM NUMBER WIDTH HEIGHT LOE-340 28.43″ (72.2 cm) 17.44″ (44.3 cm) LOE-357 32.40″ (82.3 cm) 17.44″ (44.3 cm) LOE-333 36.42″ (92.5 cm) 17.44″ (44.3 cm) 
- Place the unit face-up on a soft, non abrasive surface. Remove the screws that are on both sides of the front glass panel. [Figure B] Save the screws for reinstalling the glass panel.
- Carefully lift the glass panel off the fireplace and place it on a soft, clean surface. Remove the packing paper and log media from inside the unit. [Figure C]
NOTE: If installing into drywall, and the unit is not being mounted into studs, mark the locations where the anchors will be installed into the wall. Drill the holes and insert the anchors before securing the unit to the wall. - Place the fireplace box into the opening and install the unit using the supplied screws. [Figure D]

- Determine the desired media (log or decorative crystals) and place it on the media tray. [Figure E]
- Reinstall the front glass using the screws that were removed during Step 2. Ensure the glass is fully secured and stable before releasing the glass. [Figure F]
Operation
WARNING ![]()
Do not remove the glass panel while the fireplace is plugged in and operating as it will cause the remote control and touch panel to no longer function.
Ensure the circuit breaker(s) for the power supply are turned on.
Once the appliance has been plugged into a properly grounded electrical outlet, it is ready to operate.
NOTE: In the event of a power failure, the appliance will lose its memory function and will reset to factory mode when the power returns.
MASTER SWITCH
The Master Power Switch is located at the top right side on the front of the appliance.
The master power switch must be turned ON (—) for the unit to operate. The unit will make a short alarm sound to indicate it is ready to use. If no sound is heard, the unit may not be plugged in, the circuit breaker may have tripped, or there is a malfunction.
Turn the master switch OFF (O) to shut off electric supply.
Methods of Operation
This electric fireplace can be operated by the CONTROL PANEL, located on the bottom right of the fireplace, or by the battery-powered REMOTE CONTROL (batteries not included).
The operation and functions of the two methods are the same.
Before operating, please review the IMPORTANT SAFETY INFORMATION on Pages 2 and 3, and heed all warnings.
REMOTE
Requires (2) ‘AAA’ Batteries (batteries not included)
- Remove the battery housing cover from the back of the remote.
- Paying attention to the positive and negative terminals, gently insert two new ‘AAA’ batteries (not included).
- Replace the battery housing cover.
- NOTE: Promptly remove expelled batteries. Do not mix old and new batteries; mixing batteries could cause the acid inside the batteries to leak, damaging the remote.
NOTICE
To improve operation, aim the remote control at the front of the fireplace. DO NOT press the buttons too quickly. Give the unit time to respond to each command.
NEVER dispose of batteries in fire. Failure to observe this precaution may result in an explosion. Dispose of batteries at your local hazardous material processing center.
CONTROL PANEL

| BurroN | FUNCTION | ACTION AND INDICATION |
MASTER SWITCH | ON (—) Enables all functions. OFF (0) All functions on the control panel and remote control are disabled. | 1.Press ON (—). Power turns on. All functions are enabled. 2.Press OFF (0). Power, flame effect, and all functions turn off. |
| ON: Enables control panel and remote control function. Turns on the flame effect. OFF: Disables control panel and remote control function. Turns off the flame effect. | 1.Press once. Indicator light turns on. Power turns on. All functions are enabled. 2.Press again, power and all functions turn off. Unit goes to standby. | |
| COLOR button: Changes the color flame effect. 9 color settings: C1, C2, C3….C9 | 1.Press once to change the color flame effect. 2.Press again until desired setting is reached. | |
| FLAME button: Makes flame effect brighter and dimmer. NOTE: Flame effect stays on until power button is turned off. Flame effect must be on for the heater to turn on. 5 brightness settings: L1, L2, L3….L5 | 1.Press once to change flame color brightness. 2.Press again until desired setting is reached; L1 is dimmest, L5 is brightest. | |
| HEATER button: Turns heater on and off. NOTE: To prevent overheating, the heater fan will blow out cool air for 30 seconds after the heater turn off. 00, LL, HH will show on the display. | 1.Press button, LL (low heat) about 750W. 2.Press button, HH (high heat) about 1500W. 3.Press button, 00, heat function is off. | |
| TEMPERATURE button: Changes the temperature setting. Setting ranges from 62°F to 82°F 62, 63, 64….82 will show on the display. | Press button until desired setting is reached. LED display shows selected setting. Once the desired temperature is reached, the heater will stop heating the room. Heat will automatically turn back on when room temperature falls below the set temperature. | |
| TIMER button: Controls the timer settings to automatically turn the fireplace off. Settings range from 1 hour to 8 hours. OH, 1H, 2H….8H will show on the display. | Press button until desired setting is reached. LED display will show the setting. When time reaches the selected setting, the unit will automatically turn off. OH disables the timer function. |
NOTICE
When the heater is first turned on, a slight odor may be present. This is normal and should not occur again unless the heater is not used for a long period of time.
WARNING: Do not move or remove the glass panel when the appliance is plugged in and operating as it will cause the remote control and touch panel to no longer function.
Temperature Limiting Control
This heater is equipped with a Temperature Limiting Control. Should the heater reach an unsafe temperature, the heater will automatically turn OFF.
To reset:
- Turn the Master Switch OFF (O).
- Unplug the power cord from the outlet.
- Wait at least 15 minutes before plugging the unit back in.
- Turn the Master Switch ON (—) and press the power button to restart the unit.
- If the unit does not power on, allow the unit to thoroughly cool down and inspect the fireplace to make sure no vents are blocked, or clogged with dust or lint. If they are, use a vacuum to clean the vent areas.
- If the problem continues, have your outlet and wiring inspected by a professional.
Cleaning
ALWAYS turn the heater OFF and unplug the power cord from the outlet before cleaning, performing maintenance, or moving this fireplace. Failure to do so could result in electric shock, fire, or personal injury.
NEVER immerse in water or spray with water or cleaning solutions. Doing so could result in electric shock, fire, or personal injury.
DO NOT CLEAN WHILE THE UNIT IS HOT! Wait at least 45 minutes after the unit is powered off before attempting to clean. If the unit still feels hot, wait until it is completely cooled.
Metal:
- Dust using a soft cloth. Clean with a slightly damp cloth or duster. Dry thoroughly with a paper towel or a soft, lint-free cloth.
- DO NOT use brass polish or household cleaners as these products will damage the metal trim.
Glass:
- Use a good quality glass cleaner sprayed onto a cloth or towel to clean the glass. Dry thoroughly with a paper towel or a soft, lint-free cloth.
- NEVER use abrasive cleansers, liquid sprays, or any cleaner or cloth that could scratch the surface.
Vents:
- Use a vacuum or duster to remove dust and dirt from the heater and vent areas.
- Clean the exterior of the fireplace with a slightly damp cloth or duster.
Maintenance
Risk of electric shock! DO NOT OPEN! No user-serviceable parts inside!
ALWAYS turn the heater OFF and unplug the power cord from the outlet before cleaning, performing maintenance, or moving this fireplace. Failure to do so could result in electric shock, fire, or personal injury.
Electrical and Moving Parts:
- The fan motors are lubricated at the factory and will not require lubrication.
- Electrical components are integrated in the fireplace and are not serviceable by the consumer.
Storage:
- Store heater in a clean dry place when not in use.
WARNING: No other servicing should be performed by the consumer. Do not service the unit yourself.
NOTICE
Keep this owner’s manual for future reference. If you sell or give this product away, make sure this manual accompanies this product.
WARNING!
Manufacturer and seller expressly disclaim any and all liability from personal injury, property damage or loss, whether direct or indirect, or incidental, resulting from the incorrect attachment, improper use, inadequate maintenance, or neglect of this product.
Sunnydaze Decor
SunnydazeDecor.com
IF-FSBTS
10/2022 Page 13 / 13


Remote Control
Metal Bracket
Decorative Crystals
NOTE: If installing into drywall, and the unit is not being mounted into studs, mark the locations where the anchors will be installed into the wall. Drill the holes and insert the anchors before securing the unit to the wall.


















