QUICK START GUIDE
Home PLUS 4K/10K
Package Contents

Overview

How It Works

Getting Stared
![]() | Step 1 Download the Signal Supervisor App and register an account. Tips: Find it in the App Store or on Google Play. |
![]() | Step 2 Connect the booster from Bluetooth and tap “Add Device” on your App. Tips: Ensure your Location Services and Bluetooth are turned on, as well as enabling their use in your phones Privacy Settings. Stand within 20 feet of the Indoor antenna while connecting. Add your home’s wireless network at this point to enable remote monitoring of your signal strength. |
![]() | Step 3 Connect the outdoor antenna. Tips: The Outdoor antenna screws firmly into the port labeled Outdoor. |
![]() | Step 4 Use the gauges found in the Quick Setup guide to finding the best place to point your Outdoor antenna to achieve maximum gain. Tips: Move the antenna only about an inch at a time, then wait 4-5 seconds for the change to register on your App. These readings correspond to the “Power dBm’ column on your LCD screen. -24 dBm is the worst reading, +12 dBm is the best. DO NOT INSTALL AN OUTDOOR DIRECTIONAL ANTENNA IN THE CENTER OF YOUR ROOF. |
![]() | Step 5 Mount Outdoor antenna in the position found to have the maximum gain. Tips: Make sure that the drain hole in the plastic casing is facing the ground, and that the antenna itself is at least 20 feet higher in elevation than the location of your Indoor antenna. |
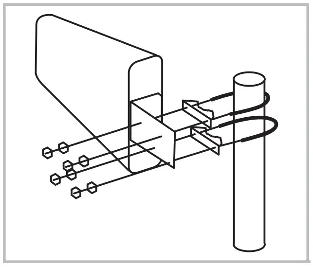
![]() | Step 6 Connect the indoor antenna to the indoor antenna port 1. Mount your Indoor antenna facing 180 degrees from the direction your Outdoor antenna is pointing, and 20 feet lower in elevation. Tips: If trying to make up the separation horizontally, be aware that at least 3 times more distance is needed than if separating vertically. |
![]() | Step 7 Mount your booster up and out of reach children or pets. If you encounter issues with installation please see the “Troubleshooting’ section of the User Manual. |
QUICK START GUIDE
Home PLUS Pro 4K/10K
Package Contents

Overview

How It Works

Getting Started
![]() | Step 1 Download the Signal Supervisor App and register an account. Tips: Find it in the App Store or on Google Play. |
![]() | Step 2 Connect the booster from Bluetooth and tap “Add Devices on your App. Tips: Ensure your Location Services and Bluetooth are turned on, as well as enabling their use in your phone’s Privacy Settings. Stand within 20 feet of the Indoor antenna while connecting. Add your home’s wireless network at this point to enable remote monitoring of your signal strength. |
![]() | Step 3 Connect the Outdoor antenna. Tips: The Outdoor antenna screws firmly into the port labeled Outdoor. |
![]() | Step 4 Use the gauges found in the Quick Setup guide to finding the best place to point your Outdoor antenna to achieve maximum gain. Tips: Move the antenna only about an inch at a time, then wait 4-5 seconds for the change to register on your App. These readings correspond to the “Power dBm• column on your LCD screen. •24 dBm is the worst reading, +12 dem is the best. DO NOT INSTALL AN OUTDOOR DIRECTIONAL ANTENNA IN THE CENTER OF YOUR ROOF. |
![]() | Step 5 Mount your booster up and out of reach children or pets. make sure your booster facing 180 degrees from the direction your Outdoor antenna is pointing, and 20 feet lower in elevation if you encounter issues with installation please see the “Troubleshooting’ section of the User Manual. |































