
GE PROFILE SMART MIXER WITH AUTO SENSE QUICK START GUIDE
WARNING
Read the full safety information listed in the Owner’s Manual before operating your Stand Mixer.
- DO NOT immerse the appliance in water or any other liquids. This will damage the appliance and be a risk of an electric shock.
- DO NOT use an extension power cord.
- Remove beater, whisk, and dough hook from appliance before washing.
- Slowly pour hot liquids in the mixing bowl to avoid splashing and burns.
- Avoid contacting moving parts. Keep hands, hair, clothing, as well as spatulas and other utensils away from attachments (beaters, whisks, dough hook, etc) during operation to reduce the risk of injury to persons, or damage to the mixer.
- Do not use outdoors.
- Use this product only for its intended purpose as described in this user manual.
Accessories



Bowl 11-Wire Whisk Bowl Shield

Commercial Grade Stainless Steal Beater

Commercial Grade Stainless Steel Dough Hook
WiFi Setup
Download the Smart HQ app from the Apple Store or Google Play.
Slide the speed dial to the connected icon
and follow the directions within the Smart HQ app to get connected. After the Smart HQ app is downloaded from the Apple Store or Google Play, log in or create a new account. Then click on the add connected appliance in the top right corner and select the Profile brand to add your Smart Mixer to the app.
Once connected, follow the directions within the app for how to use the Smart Features.
For assistance with connectivity to your appliance or to learn more about your Smart appliance features visit geappliances.com/ge/connected-appliances/
Getting Started

- Control
- Speed Dial
- Connected position
- Screen
NOTE: If your stand mixer is plugged in and not turned on, press any button to wake up the machine.
Scale
The Manual Scale mode measures the amount of ingredients in the mixer bowl in grams/lb/kg/oz.
The direct weight can be taken in the mixer bowl or in any container on the base of the stand mixer.
To start, in the OFF position, press the Scale/ Timer Button. The light bar will show yellow.
Make sure the screen shows zero before weighing your ingredients.
Then the screen will read the weight. Example: “200g”
To Zero the scale feature, press the Rev/Zero button. The Stand mixer screen will show “—-” while it is setting to zero. Then “0g” will show on the screen when it is complete. If the screen does not show zero, press the Rev/ Zero button to reset. Make sure the screen shows zero before weighing your ingredients.
Use the toggle arrows when using the scale to change the scale’s units.
Timer ![]()
Press the Timer button to initiate the Timer setting. The screen will briefly read “Timer” then switch to 00:00. The light bar will show blue. Use the left and right arrows to set the timer to your desired mix time.
Press the center button to start the timer.
NOTE: The Timer increases at 15 second increments with a single press. Press and hold the Scale/Timer button to increase by 1 minute increments.
Auto Shutoff
The automatic shutoff feature turns the Smart Stand Mixer off when the timer ends for extra convenience and perfectly executed recipes.
NOTE: Time can be added while the timer is running.
Over-the-air (OTA) updates
With over-the-air updates, you get new features like Auto Sense and Guided Recipes as they become available, so the Smart Stand Mixer keeps getting better with time.
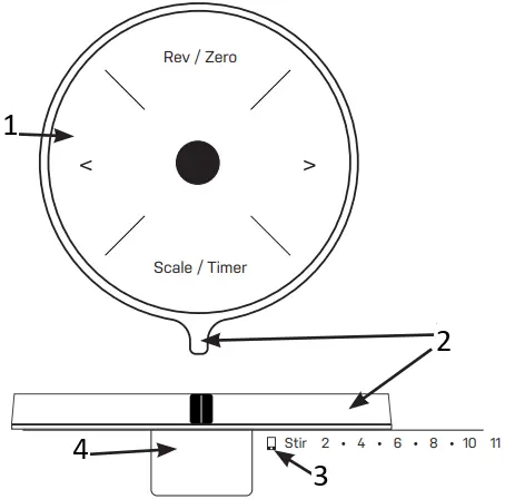
Before you begin, note the Rev/Zero and Scale/ Timer buttons are one single button with two functions that should be pressed in the middle.

1 Make sure the mixer is unplugged and turned off.

2 Lower the bowl support by pressing down on the lift arms.

3 Place the bowl into the bowl arms and align on pins. Push the bowl back towards the mixer body until it clicks into place. Insert your desired attachment. Push attachment into the output shaft until a click is heard and the attachment is held firmly in place.
Push upward

4 When the bowl and attachment are in place, raise the bowl arms by slowly pushing up on arms until they lock into place. Slide the bowl shield onto the bowl if desired.

Bowl support in locked position

5 Plug the mixer into an outlet.

6 Use the speed dial and turn to your desired speed. When finished, turn back to the off position.
Image shows the control knob in OFF position
7 Pull down on the quick change to release your attachment.
Attachment output shaft
NOTE: Refer to the full Owner’s Manual for a complete overview of functions.
GE is a trademark of the General Electric Company. Manufactured under trademark license.
49-9000048 Rev. 0 08-22 GEA


















