
The AXISTM 4D Massage Chair from Sharper Image is a state-of-the-art massage chair designed to provide a relaxing and rejuvenating massage experience. The chair features TrueFitTM Body Scanning technology that automatically adjusts the massage rollers and airbags to fit your body, providing a customized massage experience. The chair also features Bluetooth audio, LED lighting, and Intelligent Voice Command + Control for added convenience.
Product Installation & Placement
Before setting up your AXISTM 4D Massage Chair, ensure that you have enough clearance space for the chair to recline and extend the footrest. The chair should be placed at least 2 feet away from any obstacle to avoid accidents. Keep the chair at least 3 feet away from any audio or video appliance to avoid signal interference.
Product Setting Up Your Chair
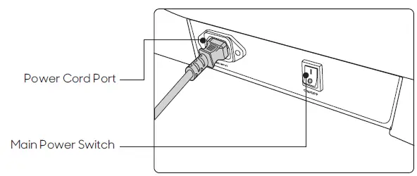
Connect the power cord to the power outlet and switch on the main power switch located on the power panel. Adjust the pillow and shoulder position to your liking using the remote control. To enter or exit the chair, use caution to avoid any hazards.
Custom Massage
The AXISTM 4D Massage Chair offers various massage modes, such as Manual Programs and Nature Sounds. Adjust the massage mode, position, speed, and width using the remote control. You can also adjust the airbag intensity, foot speed, calf speed, and heat settings to your preference.
Safety Information
When using the AXISTM 4D Massage Chair, ensure that there are no children, pets, or other obstacles around the chair to avoid accidents. Straighten the power cord while in use to avoid tangle or damage. In case of any difficulties or questions, contact Sharper Image’s customer service team.
Troubleshooting
If you experience any issues with the AXISTM 4D Massage Chair, refer to the troubleshooting section of the user manual. If you still have questions or concerns, contact Sharper Image’s customer service team for assistance.
WELCOME TO SHARPER IMAGE® MASSAGE CHAIRS
Thank you, and congratulations on purchasing your very own Sharper ImageMassage Chair – you’ve made a great buying decision. Sharper Image is an American company founded in 1977 that offers products that give people a taste of the future. The brand was the brainchild of Richard Thalheimer and started as a catalog business to sell advanced jogging watches. Later, through what had become an iconic catalog, Sharper Image expanded its product line and positioned itself as an iconic American brand for futuristic products. Inside this manual, you are going to find everything you need to safely operate your chair. If at any point you are having difficulties, or we haven’t answered one of your questions, please dont hesitate to contact our outstanding customer service team at 888-894-9150. We are here for you.
To ensure you don’t overlook any of your chair’s features, and that you use it safely, please read this manual carefully and keep it for future reference. If you lose this manual, refer to our website www.sharperimagemassagechairs.com. Here you will find additional resources, copies of all documents, and tutorial videos on our products.
Register your product at www.sharperimagemassagechairs.com/warranty/registration to ensure it is in our system. This will simplify the warranty process should you ever need it. Alternatively, scan the QR code to go directly to the URL above.

MASSAGE CHAIR TERMINOLOGY
EXTERNAL STRUCTURE

POWER PANEL

INSTALLATION & PLACEMENT
INSTALLATION SITE
CLEARANCE SPACE FOR THE CHAIR

- 2” clearance for the recline of the backrest; 14” clearance for the extension of footrest and sliding forward of the chair.
- Keep it 3 feet away from the TV, radio or other audio & video appliance to avoid signal interference.
CAUTION
- Keep the distance between the power socket and power switch within 60” to avoid damage of power cord while massage chair sliding forward.
- Straighten the power cord while in use to avoid tangle or damage.
- When the massage chair sliding forwards or back, please check to make sure there is no children, pets or other obstacles around to avoid accident.
FLOOR PROTECTION

To protect ANY floor type, hard surface or carpeted, from scratches or other markings, place the chair on a sacrificial pad or mat that extends from under the footrest to the rear of the chair.
WARNING
- Do not use the massage chair in high moisture environment such as near swimming pool or bathroom to prevent electric shock accident.
- Please keep the massage chair away from heated surfaces to prevent fire hazard or damage to the product.
MOVE METHODS

- Apply pressure to the back of the massage chair from behind to pivot on the Castors. Have a second person up front to guide the Footrest until in the correct position. Maintain clearances as mentioned above. Gently lower into place. Do not pull on the side arms.
CAUTION
- Do not move the chair when there is a user inside.
- To carry this product, do not lift by the footrest or armrest, hold the chassis and steady the backrest (have 4 or more people to carry the product).
CONNECT TO POWER
- Plug into a 110V grounded outlet.
WARNING: GROUNDING INSTRUCTIONS
- To avoid risk of electrical shock, turn power switch off before plugging unit into electrical outlet. Use only with properly grounded outlet (3 prong). Do not plug into ungrounded outlet.
WARNING

- Improper connection of the equipment-grounding conductor can result in a risk of electric shock. Check with a qualified electrician or serviceman if you are in doubt as to whether the product is properly grounded. Do not modify the plug provided with the product – if it will not fit the outlet, have a proper outlet installed by a qualified electrician.
- This product is for use on a nominal 120-V circuit and has a grounding plug that looks like the plug illustrated. Make sure that the product is connected to an outlet having the same configuration as the plug. No adapter should be used with this product.
Earthing
This massage chair is a Class 1 electrical appliance. Make sure to use a grounded outlet to the grounded power supply circuit and a properly installed earth grounding rod with ground connection, to avoid electric shock.
SETTING UP YOUR CHAIR
GETTING COMFORTABLE
MAIN POWER SWITCH

- To power up the chair, flick the main power switch located on the back of the base of the chair to ON.
CAUTION
- Children should be supervised to ensure that they do not play with the chair or touch the power box.
- Always unplug the massage chair from the electrical outlet immediately after use.
- Unplug from outlet during thunder or lightening storms, and before putting on or taking off parts.
- Turn off the power switch and unplug the massage chair from the electrical outlet while not in use to avoid children power on the massage chair accidentally.
- When not in use for a long period of time,we recommend that the chair be covered, the power cord be coiled and that the unit be placed in an environment free of dust and moisture.
ADJUST PILLOW

Take a seat in the chair and take note of where the neck pillow rests on your neck. Adjust the pillow so that it rests comfortably in the arch of your neck. Do this by removing it from the velcro, aligning it, and then reattaching to the velcro once it is in the desired position.
TRUEFIT™ BODY SCANNING

Select any auto program and press the OK button. The chair will automatically begin scanning your body, mapping your back, shoulders, and neck. During this process it is important to remain seated back into the chair without lifting your head. The scan can be viewed on the remote control screen. If fine tuning is needed just after your body scan, wait for the shoulder adjust prompt to appear and then use the Back Adjustment buttons to move the massage rollers up or down for the perfect shoulder kneading position.
RE-ADJUST SHOULDER POSITION

If you find that you need to adjust your shoulder height position after leaving the shoulder adjust screen, simply use the left and right arrows when in the in-use screen to navigate to shoulder position. Press OK to select. Once selected you will be taken back to the Shoulder adjust screen where you can use the up and down arrows to fine tune your shoulder position.
GETTING OUT OF THE CHAIR

- To easily exit the chair at any time, press the ON/OFF power button on the remote control to restore the chair to the upright position.
WARNING: Check to make sure children and pets are clear of chair before pressing on/off button to return chair to upright position. See next for detailed hazard warnings.
CHAIR ENTRY AND EXIT HAZARDS
WARNING: The areas under the footrest and behind the back rest are potentially dangerous for a child or pet. The chair back is heavy and reclines with force. A small child or pet located behind the chair could be crushed as chair is reclined resulting in serious injury or death. When chair is reclined, small children or pets who have crawled under the leg rest may not be visible to the user and could be crushed when leg rest is lowered or when chair is returned to upright position. To avoid serious injury or death, check these areas carefully before reclining, lowering leg rest, or returning chair to upright position.
DANGER

- Make sure to check for children or pets between the chair back and the base of the chair before entering zero gravity recline.
- Make sure to check for children or pets underneath the footwell before exiting zero gravity recline and returning to upright position.
- Make sure to check for children or pets between the footrest and the chair body before lowering the legrest.
USB CHARGING PORT

- Another feature of your chair is an in-built USB port for charging your devices. The USB charging port can be found on the left hand side of the seat opposite the remote cord.
REMOTE DIAGRAM

REMOTE CONTROL OPERATION
![]()
- Power: Powers up the remote or returns the chair to the exit position and powers down remote.
- Home: Shortcut to the home page of all menu screens.
- Pause: Press pause to immediately stop all massage chair activity, press again to resume.
- Feet Adjust: Press and hold up arrow to bring foot rest up, press and hold down arrow to bring foot rest down.
- 4D: Press to toggle the intensity of the 4D back massage mechanism.
- Auto: Select from 12 pre-set massage programs.
- Foot Rollers: Press this button to toggle the foot reflexology rollers on or off.
- Directional Button: Press up, down, left or right to navigate the display screen.
- OK: After navigating to the command desired on the display, push OK to select.
- Seat Back Position: Press and hold down arrow to recline the seat back and lift up footrest. Press and hold the up arrow to upright the seat back and lower footrest.
- Zero Gravity: Press once for zero gravity 1. Press twice for zero gravity 2. Press button again to return to zero gravity 1.
- Voice Command: Press once to awaken Intelligent Voice Command, hold down for 3 seconds to turn off Intelligent Voice Command.
AUTO PROGRAMS
AUTO PROGRAMS

When massage chair is operating, press the AUTO button on the remote control to enter Auto Program Menu. Choose from Quick, Total Body, Neck & Shoulder, Mid Body, Lower Body, Stretch, Shiatsu, Relieve, Renew, Stress Free, Zen, Calm and Bedtime. Press OK to enter the program you desire. Selected program will show on the home screen.
NAVIGATING THE REMOTE

To show the Auto Programs list: Use the directional buttons to highlight AUTO PROGRAM from Home display, press OK button to select. Press up or down button to navigate amongst the 12 auto programs. To select an auto program: Use the up and down directional buttons to highlight the program you wish to run. Press OK button to select and begin program.
REMOTE CONTROL IN-USE SCREEN

Whilst running an Auto Program or Manual mode, the remote control screen will return to the in-use screen (as shown below) after 10 seconds of being idle. To return to the In-use screen from any menu screen, without waiting, simply press the left button until you return.
CAUTION
- Please do not spill water or other liquids in order to avoid key malfunctions and error codes.
- Please do not place heavy objects on the controller or power cord.
Programs /What For? /Description

GETTING STARTED
AIRBAG MASSAGE

Select AIR MASSAGE from Home display, press up or down button to navigate among: POSITION and INTENSITY.
AIRBAG REGION

Navigate to POSITION, press right button, then use the up or down button to select your desired airbag region: Full Body, Upper Body, or Lower Body. Press OK button to select the airbag region.
AIRBAG INTENSITY

Navigate to INTENSITY, press right button, then use the up or down button to select your desired intensity: 1 = light, 2, 3, 4 = firm, or Off. Press OK button to select the airbag intensity.
OPTIONS

- Select AIR MASSAGE from Home display, press up or down button to navigate among: POSITION and INTENSITY.
4D INTENISTY

Navigate to 4D INTENSITY, press right button, then use the up or down button to select your desired airbag region: 1 = light, 5 = firm. Press OK button to select the 4D Intensity.
FOOT SPEED

Navigate to FOOT SPEED, press right button, then use the up or down button to select your desired intensity: 1 = light, 2, 3 = firm, or Off (deactivate rollers). Press OK button to select the Foot Roller Speed. Alternatively, press the Foot Roller button on your remote control. Pressing this button will turn off Foot rollers, press again to also turn off Calf rollers, press again to resume both. Your current foot roller speed is displayed in the in-use screen in the top left corner.
CALF SPEED

Navigate to CALF SPEED, press right button, then use the up or down button to select your desired intensity: 1 = light, 2, 3 = firm, or Off (deactivate rollers). Press OK button to select the Calf Roller Speed. Alternatively, press the Foot Roller button on your remote control. Pressing this button will turn off Foot rollers, press again to also turn off Calf rollers, press again to resume both. Your current foot roller speed is displayed in the in-use screen in the top left corner.
HEAT

Navigate to HEAT, press right button, then use the up or down button to select your desired heat level: 1 = low, 2, 3 = high, or OFF. Press OK button to select the heat level.
NATURE SOUNDS

Navigate to NATURE SOUNDS, press right button, then use the up or down button to select your desired intensity: 1 = light, 2, 3, 4 = firm, or Off. Press OK button to select the airbag intensity.
| Sounds | What is it? |
| White Noise Ocean Surf Crickets Rain Nature Airplane Car Ride Fireplace Thunderstorm Windy Night | A constant even loop of pure white noise to mask out distractions Soothing ocean waves rolling onto the shore Night time in the suburbs. Churping Crickets, water trickling from a pond, and faint traffic noises Quiet, light, refreshing rain falling to the ground Refreshing sounds of small birds peacefully singing along a tranquil stream A Cessna propeller airplane motor idling Calming inner-city traffic featuring cars, trucks, and motorcycles Crackling of fire in a fireplace Heavy rainstorm with thunder Heard from inside a cabin, a howling wind blows constantly outside |
NOTE: Bluetooth must be turned ON for sounds to work.
LED LIGHTING

Navigate to LED LIGHT, press right button then press up or down button to select your desired LED light setting: On or Off. Press OK to select LED light setting.
INTELLIGENT VOICE COMMAND + CONTROL

Your chair comes with built in intelligent voice command + control. This feature allows you to control your chair and massage experience completely hands-free by using one of the many voice commands. Voice Control will only work when the chair is powered on and active or within 20 minutes of an auto program ending.
To activate the intelligent voice control function, simply say ‘Hey Massage Chair’, or ‘Hi Massage Chair’, or press the voice control button on the remote control. You may now give your chair any of the commands below within 6 seconds. Make sure to speak clearly and slowly. After 6 seconds the Intelligent Voice Command function will turn off automatically and must be awakened again.
You can also activate intelligent voice control by using the remote control. Press the Voice Command button on your remote control, once to awaken Voice Command, or hold down for 4 seconds to turn off voice control listening.
TURN OFF LISTENING
At any time, Simply press and hold the Voice Command button for 4 seconds then release. Turn back on by pressing the Voice Command button again.
| Commands | Manual Commands | |
| Quick | Mid Body | Turn Chair ON |
| Total Body | Shiatsu | Turn Chair OFF |
| Neck & Shoulder | Relieve | Change to Point Mode |
| Lower Body | Calm | Go a Little Down |
| Renew | Zen | Go a Little Up |
| Stretch | Stress Free | |
| Bedtime | ||
MYMASSAGE™ MEMORY PROGRAMS

Your chair has the ability to save your favorite customized massage programs to memory. To create a custom memory setting you first need to set up the chair for what it is you want to record. To do this, create a manual massage program with all of your desired air, heat, speed, and intensity settings.
To save a massage program, select MEMORY STORAGE from Home Display, press up or down button to navigate to: Memory 1, Memory 2 or Memory 3. Press right button, then press OK button to save the current massage settings to memory. Once a memory program is saved it will show Saved in Red. If you hit save in a position with a program already saved, it will record over the previous setting. To run a memory program, select that program from the bottom of the Auto Programs Menu.
SETTINGS

- SETTING TOOL: Select SETTING TOOL from Home display, then use the up or down button to toggle between TIMER, LANGUAGE, BLUETOOTH, or BEEP.
- TIMER: Navigate to TIMER, press right button, then press up or down button to select your desired timer: 10 minutes, 20 minutes, or 30 minutes. Press OK to select your desired massage timer length. 20 minutes is the default setting.

- LANGUAGE: Navigate to LANGUAGE, press right button, then use the up or down button to select your desired language: ENGLISH, CHINESE, VIETNAMESE, or KOREAN. Press OK button to select language.
- BLUETOOTH AUDIO: Your massage chair includes Bluetooth compatibility so you can play and enjoy your favorite music. To turn on your chair’s Bluetooth, navigate to BLUETOOTH, press right button, then press up or down button to select your desired Bluetooth setting: On or Off. Press OK button to select Bluetooth setting. Open Bluetooth from audio device and pair with Axis 4D to play music.

- REMOTE CONTROL BEEP: Navigate to BEEP, press right button, then use the up or down button to select your desired remote control beep function: On or Off. Press OK button to select beep function.
- SLEEP MODE: Navigate to SLEEP MODE, press right button, then use the up or down button to select your desired sleep mode setting: On or Off. Press OK button to select beep function. When sleep mode is on the chair will stop in the reclined position after Auto Programs, when sleep mode is off the chair will return to a fully upright position after each Auto Program.
CUSTOM MASSAGE
MANUAL PROGRAMS

- Select MANUAL PROGRAM from Home display, press up or down button to navigate among: MODE, POSITION, SPEED, WIDTH, FOOT ROLLERS, and CALF ROLLERS.
- MASSAGE MODE: Navigate to MODE, press right button, then use the up or down button to select your desired mode: 360° Knead, Clockwise Knead, Counter-Clockwise Knead, Upper Knead, Lower Knead, Tap, Knead&Tap, Shiatsu, and Knock. Press OK button to select mode.
MASSAGE POSITION
Navigate to POSITION, press right button, then use the up or down button to select your desired massage position: Full, Upper, Lower, Partial, and Spot. Press OK button to select position.

- Full travels the entire length of the massage track.
- Upper travels from the neck down to lumbar.
- Lower travels along the lumbar and glutes.
- Partial travels a few inches above and below the current position.
- Spot stops the massage mechanism in current position.
Partial and Point location can be fine tuned from the in use screen. Use the left or right button to navigate to massage position. Press OK to select. Once in the massage position menu screen, use the up or down buttons to move the massage mechanism up or down along your back. Holding the up or down button will cause the mechanism to move faster. Press OK to confirm changes.

- MASSAGE SPEED: Navigate to SPEED, press right button, then use the up or down button to select your desired speed: 1 = slowest, 2, 3, 4, 5 = fastest. Press OK button to select the speed. (Massage speed can only be adjusted when in manual mode).
- MASSAGE WIDTH: Navigate to WIDTH, press right button, then use the up or down button to select your desired roller width: Wide, Medium, or Narrow. Press OK button to select width. (Massage Width only works in tap shiatsu and knock techniques).
STAYING SAFE
SAFETY INFORMATION
To ensure safe use of the massage chair and avoid injury or unsafe conditions, please read and follow all instructions before using product. SAVE THESE INSTRUCTIONS. Household use only
WARNING: USE NOT RECOMMENDED FOR CERTAIN PERSONS
Use of massage chair may not be safe or suitable for persons with certain medical conditions and could cause serious injury or death in some circumstances. If you have any of the following conditions, please consult a physician before using the massage chair:
- Use of implanted electronic medical devices (such as a cardiac pacemaker)
- Pregnancy
- Cancer, malignant tumors, or other growths
- Osteoporosis or spinal fracture
- Other fractures or musculoskeletal injuries
- Loss of or reduced sensitivity to heat
- Implanted medical fixation devices such as rods, pins, etc.
- Recent surgery or sutures
- Skin diseases or skin injury
- High fever
- Certain pulmonary or breathing conditions
- Impaired circulation
WARNING: To avoid possible death or serious injury to user or others, please read and follow these instructions:
- The areas under the footrest and behind the back rest are potentially dangerous for a child or pet. The chair back is heavy and reclines with force. A small child or pet located behind the chair could be crushed as chair is reclined resulting in serious injury or death. When chair is reclined, small children or pets who have crawled under the leg rest may not be visible to the user and could be crushed when leg rest is lowered or when chair is returned to upright position. To avoid serious injury or death, check these areas carefully before reclining, lowering leg rest, or returning chair to upright position.
- Chair should not be used by children under age 14. Small children could be trapped or injured by airbags, heating mechanisms, or moving parts. When chair is not in use, unplug unit and secure chair so that children cannot accidentally power on and operate chair.
- Children over age 14, persons with reduced physical, sensory, or mental capabilities, and elderly or frail persons should exercise caution and use massage chair only when supervised or assisted by a person over 16 years of age.
- Chair has a heated surface and could cause burns, particularly in persons with reduced sensitivity to heat. Such persons should use the chair only after consulting with a physician and should use extreme caution during any physician-approved use.
CAUTION: To avoid the risk of minor injury or discomfort, or damage to the massage chair or other property, please read and follow these instructions for safe use of massage chair:
- Do not stand or stack heavy objects on footrest.
- Do not operate heating features of chair while under a blanket or pillow. Excessive heating can occur and cause fire, electric shock, or injury to persons.
- To avoid pinching or crushing, please do not place body parts, especially fingers and toes, between parts of chair and keep clear of moving parts.
- To avoid overheating, injury or discomfort from overuse, do not fall asleep while using massage chair and do not use for extended periods of time (longer than 20 minutes).
- Avoid use while under the influence of alcohol, medications or other substances that my cause drowsiness, disorientation, or impairment of judgment or motor skills.
- Do not use the massage chair right after a meal, as it may cause discomfort.
- If you feel any abnormal discomfort during the operation of the massage chair, turn off the power immediately and discontinue use.
- Do not use this appliance when ambient temperature is over 40 C (104 F).
- Do not use this appliance in humid or dusty environment, or when any part of the body is in contact with plumbing or any similar ground.
- Never operate the appliance with the air openings blocked. Keep the air openings free of lint, hair, dust and the like.
- Do not use outdoors.
- Do not operate where aerosol (spray) products are being used or where oxygen is being administered.
- Place the product on a flat, level floor to reduce risk of tipping or overturning.
- Do not use or store near heat or open flame.
- Intended only for users who weigh below 300 lbs.
- Use this product only for its intended use as described in this manual. Do not use attachments not recommended by the manufacturer.
- Massage chair intended only for use by one person. Do not use by two or more persons at the same time to avoid damage to the product.
- Do not allow children to stand, jump, or play on or around massage chair, even when it is not powered on or in use.
- Remove personal accessories such as jewelry from arms and empty pockets, and remove loose clothing while using the massage features of the chair.
- Check the upholstery under the cushions and other spots for damage or loose objects that may cause injury or damage chair while operating. If any damage is present, do not use the massage chair and refer to a qualified service professional for servicing.
- To avoid damage to chair, walls, or other objects, make sure there are no obstacles behind the chair and there is enough clearance before adjusting the backrest or leg rest angle.
- Please be seated properly while using the product.
- To avoid damage to chair or floors, do not drag or push the chair or roll its casters on wood floor or carpet. See instructions on p.8 for safely moving chair.
- If massage chair is not working properly, has been dropped or damaged, or has been dropped into water or exposed to flooding, return the appliance to a service center for examination and repair before attempting to use.
- Do not drop or insert any object into any openings in chair.
WARNING: Read and follow these instructions concerning safe use of the power cord and power unit to avoid possible electric shock, fire hazard, use of chair by and injury to unattended children, or damage to chair or other property.
- To avoid risk of electric shock, connect this unit to a properly grounded outlet only. See Grounding Instructions.
- Always unplug massage chair from the electrical outlet immediately after use and before cleaning. An appliance should never be left unattended when plugged in. To disconnect, turn all controls to the off position, then remove plug from outlet.
- Do not use massage chair and unplug from outlet during thunder or lightning storms, and before putting on or taking off parts.
- To ensure safe operation, power must be supplied only at standard 110 voltage, to the specifications of the appliance. Confirm that the power voltage stated on the rating label corresponds to your local electricity supply.
- The massage chair should be used only with the power supply unit provided. Do not use with any other power source.
- Do not use a wet or damp hand to unplug the cord to avoid electric shock.
- Do not pull on the power cord to unplug. Grip by plastic end nearest outlet to unplug power cord.
- Do not squeeze, over bend, pull hard, or twist the power cord.
- Keep the power cord away from heated surfaces.
- Do not carry or drag the chair by power cord or use cord as a handle.
- If there is any smoke or unusual smell while using massage chair, stop using immediately and unplug the power cord.
- Never operate the chair if it has a damaged power cord or plug. If the power cord is damaged, it must be replaced by the manufacturer or its service agent or a similarly qualified person to avoid a hazard.
Do not disassemble, dismantle or attempt to repair massage chair. Such actions, as well as misuse of product, may cause damage to or failure of massage chair and may void the manufacturer’s warranty. For repairs, please contact an authorized dealer or repair agent at 888-894-9150. For additional details concerning terms, conditions and limitations of warranty, see https://sharperimagemassagechairs.com/warranty.
TROUBLESHOOTING
No. /Symptoms /Possible Causes /Possible Solution
| 1 | Noise is heard while in use | These noises are normal and arise from friction between the massage rollers and the faux leather cover | No need to take any measures |
| 2 | Massage Chair does not start |
|
|
| 3 | No music comes from the speaker | The volume is turned to the lowest setting | Adjust the speaker volume from the mobile device. Make sure Bluetooth setting on chair and phone are both ON |
| 4 | Backrest or footrest can not raise or recline | Excessive load has been pressed on the backrest or legrest | Reduce the load and try again |
| 5 | Airbag malfunction | The air hose is blocked | Straight the air hose and clearout the blockage. |
FCC STATEMENT
This device complies with part 15 of the FCC Rules. Operation is subject to the following two conditions:
- This device may not cause harmful interference.
- This device must accept any interference received, including interference that may cause undesired operation. Changes or modifications not expressly approved by the party responsible for compliance could void the user’s authority to operate this device.
NOTE: This equipment has been tested and found to comply with the limits for a Class B digital device, pursuant to part 15 of the FCC Rules. These limits are designed to provide reasonable protection against harmful interference in a residential installation. This equipment generates, uses, and can radiate radio frequency energy and, if not installed and used in accordance with the instructions, may cause harmful interference to radio communications, however, there is no guarantee that interference will not occur in a particular installation. If this equipment does cause harmful interference to radio or television reception, which can be determined by turning the equipment off and on, the user is encouraged to try to correct the interference by one or more of the following measures:
- Reorient or relocate the receiving antenna.
- Increase the separation between the equipment and receiver.
- Connect the equipment into an outlet on a circuit different from that to which the receiver is connected.
- Consult the dealer or an experienced radio/TV technician for help.
- To satisfy FCC RF exposure requirements, a separation distance of 20 cm or more should be maintained between the antenna of this device and persons during device operation.
- To ensure compliance, operations at closer than this distance is not recommended.
FREQUENTLY ASKED QUESTIONS
Q: I FIND THE CHAIR IS TOO INTENSE TO BE COMFORTABLE. WHAT CAN I DO?
A: Your body needs to become acclimated to therapeutic massage. To be effective, the massage techniques must compress the tissue in your body. We recommend the following steps to help get started. Then over time as your body acclimates you can increase the intensity by reducing the layers between you and the chair.
- Use the body pillow and pillow pad to reduce upper body intensity
- Go into Airbag on the main menu, select air intensity setting 1
- If a specific airbag is too intense, turn off Full and turn only the airbags you want
- Press the foot roller button until you feel the foot rollers turn off
- Adjust the recline on the remote. More upright will be less intense. Zero Gravity will be more intense
Q: I’M NOT A FOOT MASSAGE PERSON, WHAT SHOULD I DO?
A: Turn off foot rollers, press the Foot Roller button on your remote control until the rollers stop. You may also want to turn off the Foot/Calf airbags or reduce the air intensity to level 1.
Q: MY CHAIR IS NOT PERFORMING AS EXPECTED. WHAT SHOULD I DO?
A: Your Sharper Image massage chair is an amazing combination of programming and robotics. On occasion the chair just may need to be rebooted. To do this power down the chair and unplug from the wall for 5 minutes then plug back in and power back up to see if it selfhealed. If you are still having an issue, give Sharper Image a call at 888-894-9150.
SPECIFICATIONS
| Model | Axis 4D |
| Dimension of Main Body (in) | 53 x 29.5 x 45 (LxWxH) |
| Necessary Clearance to Wall (in) | 4” |
| Net Weight (lbs) | 216 |
| Shipping Weight (lbs) | 260 |
| Max. User Weight (lbs) | 305 |
| Voltage | 120V |
| Rated Current | 1.25 AMP |
| Power Consumption | 150W |
- www.sharperimagemassagechairs.com
- Toll Free #: 888-894-9150
- 72 Stard Rd, Seabrook, NH 03874
Version 1.0




















