Galanz GLHM5RDR015 Retro Hand Mixer
IMPORTANT SAFEGUARDS
When using electrical appliances, basic safety precautions should always be followed, including the following:
READ ALL INSTRUCTIONS BEFORE USING YOUR GALANZ PROFESSIONAL HAND MIXER
- This appliance is solely for domestic use (i.e. not professional), for mixing, according to the methods described herein. Any other use should be considered inappropriate and dangerous. The manufacturer cannot be held responsible for any damages caused by improper, incorrect or irresponsible use and/or by repairs done by an unqualified person.
- Examples of appliances for domestic use are those used for typical domestic reasons, in domestic environments and that can be used by non-experts:
- In shops, offices, and other similar places of work;
- In farming businesses or similar businesses;
- By guests in hotels, motels and other residential type environments;
- In bed and breakfast accommodation.
- Only use the device with the accessories supplied in order to ensure the safety of use. Periodically check the good condition of the appliance and its components: in case of doubt, contact an authorized service center and make sure that the spare parts supplied are original.
- The device is designed for the preparation of small quantities of food and not for large quantities.
- Warning: do not use the appliance if the whisks are damaged.
- Do not use the device to blend hot liquids.
- Do not operate the appliance empty, as this could cause damage.
- If the whisks get blocked, switch off the appliance and remove the plug from the mains, then remove the ingredients that are blocking the whisks.
- Never put your hands or any object inside the container in which you are using the appliance. Keep fingers and other body parts
(such as hair), clothing or utensils (knives, forks, etc.) or anything else away from moving parts (whisks). - Warning: never touch the whisks when the appliance is assembled and after having plugged it into the mains.
- Do not remove or attempt to stop the whisks while the appliance is running or before the engine stops. Only remove accessories when the machine is completely stopped and after having removed the plug from the socket.
- Always unplug the appliance from the socket before assembly, disassembly or cleaning the appliance.
- This appliance should not be used by children. Keep the appliance and its cord out of the reach of children.
- This appliance can be used by persons with reduced physical, sensory or mental capabilities or lack of experience and knowledge provided they receive the necessary supervision or instructions concerning the safe use of the appliance and they are aware of the potential dangers.
- Children should not use the appliance as a toy.
- Warning: when using electrical appliances, always adhere to basic safety precautions to prevent the risk of fire, electric shocks and physical injury.
- If the appliance is not being used, unplug it from the plug point.
- Do not pull on the power cable or use the appliance itself to unplug the appliance from the plug point.
- Do not pull on the power cable to move the appliance.
- If the power cable is damaged, it must the replaced by the manufacturer or its technical assistance center or by someone who is similarly qualified, in order to prevent any risks.
- Do not touch the appliance with wet hands or feet. Make sure that your hands are completely dry before touching the appliance.
- Do not let the cord hang over edge of table or counter.
- Do not leave the appliance exposed to atmospheric conditions (sun, rain, etc.)
- The appliance must not be used outdoors.
- In order to protect yourself from electric shocks, do not immerse the plug, the power cable or the appliance in water or any other liquid.
- This appliance is not intended to be operated by means of an external timer or a separate remote control system in order to avoid the risk of fire where the appliance is covered or is not positioned correctly.
NOTICE
This appliance has a polarized plug (one blade is wider than the other). As a safety feature, this plug will fit in a polarized outlet only one way. If the plug does not fit fully in the outlet, reverse the plug. If it still does not fit, contact a qualified electrician. Do not attempt to defeat this safety feature.
WHAT’S IN THE BOX
- Turbo Beaters Accessory
- Dough Hooks Accessory
- Attachments Sockets
- Storage Base
- Air Vents
- Eject Button
- Turbo Button
- Speed Control Switch
- Soft Grip Handle
- Motor Body
BEFORE FIRST USE
- IMPORTANT: Review all warnings in IMPORTANT SAFEGUARDS before
- Carefully unpack your Hand Mixer and remove all packaging materials. Check the contents to ensure all attachments have been received in good condition.
- Wipe the motor body and wash the beaters, dough hooks and storage base in the warm soapy water. Dry thoroughly. CAUTION: Do not immerse the motor body in water.
- The carton should contain –
- 1 x Hand Mixer
- 1 x Beaters
- 1 x Dough Hooks
- 1 x Storage Base
- 1 x Quick Start Guide
- 1 x User Manual
PREPARING & USING YOUR HAND MIXER
The mixer has two sets of attachments.
- Beaters for mixing egg whites, cream, and cake batters.
- Dough hooks for heavier mixes such as dough and mashed potatoes.
Before using your hand mixer, prepare a clear, uncluttered work area near to a main power outlet where the cable will not be at risk of being pulled.
ATTACHING THE ACCESSORIES
- Unplug the Hand Mixer from the electrical outlet.

FITTING THE BEATERS
- Insert the beaters into the attachment sockets located at the bottom of the mixer.
- Twist the beaters slightly while pushing until they click. The beaters will be locked into place.
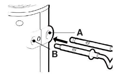
FITTING THE DOUGH HOOKS
The dough hooks are fitted in the same way as the beaters, but the hook shapes are different and each must be fitted into the correct attachment socket.
- One of the dough hooks has a collar (D) on the shaft. Insert the accessory shaft with the collar (D) and the larger opening (B) on the underside of the mixer. A circle icon is located near the large opening as the indicator. Align the flanges on the shaft with the slots in the opening. Push to lock into place.

- Insert the accessory without a collar (C) into the smaller opening (A). Align and push to lock into place.
NOTE: Beaters included one accessory with a collar (D) and one without (C). Dough Hooks come with two collars (D).
REMOVING THE ACCESSORIES
- If the Hand Mixer is running, stop the Hand Mixer by sliding the Speed Switch back to the “0” (off) position.

- Unplug the Hand Mixer from the electrical outlet.

- Press the Ejector Button to release the accessories from the Hand Mixer and then remove them.
NOTE: The eject button can only be operated when the Off/Speed switch is set to the ‘0’ (off) position.
OPERATING THE SPEED CONTROL
To help determine the ideal mixing time, observe the batter or dough and beat only until it has the desired appearance described in your recipe, such as “smooth and creamy”. To select the best beating speeds, use the SPEED CONTROL GUIDE section.
- Plug the Hand Mixer into an electrical outlet.

- Hold the Mixer Handle and slide the Speed Control Switch to the “1” (ON) position. The motor will automatically start at Speed 1.

OPERATING THE SPEED CONTROL - Slide the Speed Control Switch in the range of 1-5 position to increase the mixing speed to the desired setting. If necessary, slide back to decrease the mixing speed. See the SPEED CONTROL GUIDE for more information.

- When mixing job is finished, slide the Power switch to the “0” (Off) position. Unplug the Hand Mixer before removing accessories.

TURBO BUTTON
The button enables you to boost mixing power if you need it briefly. Press and hold the Turbo button. The mixing power will increase while the button is pressed. Release the Turbo button once the desired result is achieved.
NOTE: The Turbo button should only be pressed for a few seconds at a time. Running the mixer with the Turbo button pressed continually may damage the mixer.
SPEED CONTROL GUIDE
NOTE: Beater accessories are not designed for mixing and kneading bread dough.
CARE & MAINTENANCE
This appliance requires little maintenance. It contains no user serviceable parts. Do not try to repair it yourself. Contact the customer service department for any unusual issues you may experience.
CLEANING
HAND MIXER BODY
CAUTION:
Never immerse the motor body, plug or cord in water or
any other liquid. Doing so can result in death or electrical shock
- Always unplug Hand Mixer before cleaning. Wipe power cord and cord strap with damp cloth. Dry with a soft cloth.

- Wipe Hand Mixer with a damp cloth. Dry with a soft cloth.

CLEANING THE ACCESSORIES AND ATTACHMENT
- Always remove accessories from Hand Mixer before cleaning. Wash in dishwasher, or by hand in warm, soapy water. Rinse and wipe dry.

STORAGE
- Unplug and clean unit.
- Never store the Hand Mixer while it is hot or plugged in.
- Store the motor body and accessories on the storage base.
PRODUCT WARRANTY
This warranty applies to products sold by Galanz Americas in the U.S. This warranty is in lieu of any other warranty and expressly applies to the individual product only.
Galanz product is warrantied for one year following purchase for defects in material and workmanship. Please save your receipt as proof of purchase is required to make a warranty claim. During this warranty period, we will provide the replacement cost of this product, a replacement or the equivalent,or repair per our discretion.
The warranty cannot be transferred through resale, including the resale through a 3rd party unauthorized retailer and is only bestowed upon the original consumer purchaser upon purchase from an authorized retailer.
- This warranty does not cover and excludes damage or defects caused by:
- Consumer misuse
- Abuse
- Neglect includes the failure to clean and/or provide adequate regular maintenance as outlined in the user manual Commercial use
- Subjecting the product to any voltage outside the specified range
- Loss of parts
- The affixing of any attachments not provided with the product Accident, or
- Use in a manner not intended and outlined in the user manual.
- Any subsequent damages caused by the above-listed exclusions will not be covered and any claims determined to meet the above exclusions will be denied. All liability is limited to the purchase price and does not include any:
- Retail offered extended warranties
- Tax
- Other charges(including postage to send required materials)
- Incidental and/or consequential damages associated with the product in question.
Every implied warranty, including any statutory warranty of merchantability or fitness for a particular purpose, is disclaimed except to the extent prohibited by law, in which case such warranty is limited to the duration of this written warranty. This warranty gives you specific legal rights. You may have other legal rights that vary depending on where you live. Some states do not allow limitations on implied warranties or special, incidental, or consequential damage, so the above limitations may not apply to you.
If you have a claim under this warranty, please call our Customer Service number: 1-800-562-0738.
For faster service, please have the model number, serial number, and receipt ready for the operator to assist you.
WARRANTY REGISTRATION
Please mail this warranty card to the address below within 30 days of purchase. Or you can register your product online by going to www.galanz.com\us.
Galanz Americas, 55 Challenger Road, Suite 503, Ridgefield Park, NJ 07660.
PLEASE PRINT CLEARLY.
Name__________________________________________________________ Address________________________________________________________ City_______________________State___________Postal Code___________ Phone___________________Email___________________________________ Model Number_____________________Serial Number__________________ Purchase Location________________________________________________
You must attach a copy of your purchase receipt to validate your registration.

















