
125L CEMENT MIXER
MODEL NO: CCM125D
PART NO: 3400841

OPERATION & MAINTENANCE INSTRUCTIONS
ORIGINAL INSTRUCTIONS

GC0221 – rev1
INTRODUCTION
Thank you for purchasing this CLARKE Cement Mixer. Before attempting to use this product, please read this manual thoroughly and follow the instructions carefully. In doing so you will ensure the safety of yourself and that of others around you, and you can look forward to your purchase giving you long and satisfactory service.
SPECIFICATION
| Max drum capacity | 125 Litre |
| Max mixing capacity | 79 Litre |
| Drum speed | 26.6 rpm |
| Duty cycle classification | S6 30%º |
| Drum turning axis | 360 |
| Weight | 45 kg |
| Dimensions: Length x Width x Height | 1180 x 705 x 1070 mm |
| Power cable length | 1.5 m |
| IP rating | IP44D |
| Sound power guaranteed | 91 dB LWA |
GENERAL SAFETY PRECAUTIONS
- ALWAYS keep the work area clean and well lit. Floors should always be kept clear. Cluttered or dark areas invite accidents.
- ALWAYS keep children and bystanders away while operating this machine. Distractions can cause loss of control.
- ALWAYS stay alert & do not use a machine while you are tired or under the influence of medication or alcohol.
- ALWAYS wear suitable protective clothing and eye protection including industrial gloves, ear defenders & approved impact-resistant safety glasses. (Eye glasses are NOT safety glasses). Wear a dust mask if handling cement.
- NEVER over-reach. Keep your proper footing and balance at all times to enable better control of the machine in unexpected
- NEVER stand on the machine. Injury could occur from a fall.
- ALWAYS store machines out of reach of children.
- ALWAYS read and become familiar with the entire operating manual.
- NEVER allow persons unfamiliar with this manual to operate this machine.
- ALWAYS maintain the machine with care and keep it clean for best / safest performance.
- NEVER use this machine if any part is damaged. Have it inspected and repaired by a competent technician.
- NEVER modify this machine in any way. Use it only for the purpose for which it is designed.
- ALWAYS ensure the electrical cable is fully protected and there is no danger of damage from equipment or materials. Always nspect the cable before use and replace if any damage is apparent.
- ALWAYS avoid inhaling cement dust while loading the mixer. Avoid contact with cement or any mixing additives being used. Wear gloves/face mask if necessary.
- ALWAYS disconnect the machine from the power supply when not in use, and before carrying out any maintenance.
- NEVER leave the machine running unattended or leave the machine until it comes to a complete stop.
- ALWAYS keep your hands well clear of the rotating drum at all times. Never put your hands inside the drum when the machine is witched on.
- NEVER put any tools or other objects in or around the drum while it is rotating.
- NEVER wear jewellery or loose clothing that could be snagged by any part of the rotating drum.
- NEVER load the drum when the machine is switched off. Always switch on and ensure the drum is rotating before loading.
- NEVER operate this machine on a gradient. Always stand the mixer on firm, level ground where it cannot tip over.
- ALWAYS switch off and disconnect from the power supply before moving the machine around the work site.
- NEVER use the mixer if the power cable or other important parts of the machine are damaged.
- If an extension cable is used, the cable and plug must be of watertight construction. Inadequate extension cables can be dangerous.
SAFETY SYMBOLS DISPLAYED ON THE MIXER
| Read instruction manual before use. | Wear eye protection. | ||
| Wear protective gloves. | Wear protective footwear. | ||
| Wear ear protection. | Protect the environment when emptying. | ||
| Do not use where the mixer could tip over. | Keep bystanders at a safe distance. | ||
| Do not operate on sloping ground. | Always disconnect the power before starting any maintenance or cleaning. | ||
| Do not insert anything into the drum while the mixer is running. | Do not remove or tamper with any protection or safety device. | ||
| Do not remove drive guard with power connected. | Do not overload the mixer. | ||
| Pinch point hazard. Do not insert fingers or other objects. | Keep hands clear of the machine when running. |
ELECTRICAL CONNECTIONS
WARNING: READ THESE ELECTRICAL SAFETY INSTRUCTIONS THOROUGHLY BEFORE CONNECTING THE PRODUCT TO THE MAINS SUPPLY.
Connect the mains lead to a standard, 230 Volt (50Hz) electrical supply through an approved 13 amp BS1363 plug, or a suitably fused isolator switch. If the plug has to be changed because it is not suitable for your socket or because of damage, it must be removed and a replacement fitted, following the wiring instructions shown below. The old plug must be discarded safely as insertion into a power socket could cause an electrical hazard.
WARNING: THE WIRES IN THE POWER CABLE OF THIS PRODUCT ARE COLOURED IN ACCORDANCE WITH THE FOLLOWING CODE: BLUE = NEUTRAL BROWN = LIVE
The wires in the mains lead should be wired up in accordance with the following colour code:
- Connect the BROWN coloured wire to the plug terminal marked a letter “L”.
- Connect the BLUE coloured wire to the plug terminal marked a letter “N”.

We strongly recommend that this machine is connected to the mains supply via a Residual Current Device (RCD). If you are not sure, consult a qualified electrician. DO NOT try to carry out any repairs yourself.
This symbol indicates that this is a Class II product and does not require an earth connection.
UNPACKING & PRE-ASSEMBLY CHECK
Remove all components from the packing and lay them out so that they can be identified and checked for any damage in transit. Should any item be damaged or missing, please contact your CLARKE dealer immediately.

| 1 | 1 x Tilt Handwheel | ![]() |
| 2 | 1 x Main Frame | |
| 3 | 1 x Axle Frame | |
| 4 | 1 x Support Stand | |
| 5 | 2 x Mixing Blades | |
| 6 | 1 x Lower Drum Assembly | |
| 7 | 1 x Motor/Drive Assembly | |
| 8 | 1 x Upper Drum | |
| 9 | 2 x Bearing housings | |
| 10 | 2 x Wheels | |
| 11 | 1 x Angle Adjusting Plate | |
| 12 | 1 x Fixings Kit Packs A to I with contents as shown |
ASSEMBLY
- Bolt the main frame to the axle frame using M8 x 70mm bolts & nuts supplied.
- Bolt the support stand to the main frame using M8 x 70mm bolts and nuts. (Fixings packs B and C)

- Slide the flat washers onto the axles, followed by a wheel and a second flat washer.
- Insert the split pins in to the holes in each axle. Bend the ends of the split pins backward to secure them. (Fixings pack A)

- Slide the bearing blocks onto the pivot shafts. Use the 42 dia rubber ring at the drive end and note which way round the block should fit. (Fixing pack D) With the help of an assistant if required, lift the lower drum assembly into position on the main frame.

- Secure the two bearing housings to the main frame using M8 x 65mm bolts & nuts. (Fixing pack D)
• One includes the drive spindle and spur gear to drive the mixer. This assembly must be fitted to the end of the mixer where the drive assembly will be fitted this will be the end of the mixer with the wheels.
- Fit the angle adjusting plate to the bearing housing opposite the drive spindle end. Slide it over the cradle spindle and bolt it to the
bearing housing with two M8 x 25mm bolts. (Fixing pack G).
- Insert the return spring into the sleeve on the tilt handwheel and slide the handwheel onto the cradle spindle. Insert the M10 x 70
securing bolt through the wheel and through the cradle spindle before securing with two M10 nuts. (Fixing pack H)
- Adjust the tensioning bolt shown to set the spring tension to allow a steady movement when engaging the wheel with the cradle.
- Take the motor/drive assembly and insert the drive spindle through the drive pulley, positioning the drive assembly against the mainframe.
NOTE: The drive spindle has a flat side to correspond with the flat provided in the drive pulley. Rotate the lower drum gently to turn the spindle and align the flats. - Take the drive assembly with the cover hanging loose from the cable. Slide the large driven pulley onto the drive shaft complete with drive belt.
- Bolt the drive assembly to the main frame using four M8 x 25 mm bolts/nuts/washers. (Fixing pack I).
• Bolting the drive to the frame will tension the drive belt.
- With the drive assembly in position, re-fit the cover and secure with the 6 self-tapping screws.

- Using the X-head screws, rubber washers, flat washers and M8 nuts, loosely fit the blades to the upper drum, noting that the tapered end will be at the bottom of the drum. (Fixings pack E)

- Rest the upper drum, (with blades) on the lower drum. Rotate the upper drum gently so that all 6 holes in the upper drum line up with those in the lower drum.
• The lower tips of the blades line up with their fixing holes in the bottom of the lower drum.
- When all fixing holes line up, secure the upper drum to the lower drum using the 6 cross-head screws and washers. (Fixing pack F).
- Secure the mixing blades to the bottom of the mixing drum using the M8 x 20 bolts and nuts.
- Tighten all fixings and check that all components are secure.

OPERATION
- Switch the mixer on by pressing the green (I) switch on the motor. Stop by pressing the red (O) switch.
- Introduce water first, to prevent the mixer from clogging.
- Add cement as required.
- Add aggregate to suit.
• Do not load the drum when the machine is switched off. Always set the machine running before filling.
• Avoid stopping and starting the mixer while there is a heavy weight of material inside the drum as the extra strain could be harmful to the motor.
• Keep the drum rotating while emptying the mixture. - When emptying, grip the tilt wheel firmly and turn the wheel to disengage the locking lugs.
- Use the wheel to tip the mixer drum forward.
• Only discharge the mixer when a suitable receptacle for the cement mix is in position.
• Do not operate this machine on a steep gradient. Always stand the mixer on firm, level ground where it cannot tip over.
WARNING: REMEMBER THAT THE CENTRE OF GRAVITY OF THE LOADED MIXER MAY PRESENT A HAZARD WHEN OPERATING ON UNEVEN GROUND.
- Always keep water away from the motor and other electrical components as far as possible.
It is essential that the mixer is kept clean. Dried cement inside the drum will be very difficult to remove. For the mixer to perform at its best it must be thoroughly cleaned after every use.
CARE AND MAINTENANCE
BEFORE STARTING WORK
Inspect the power cable and ensure it is free from damage and is not in danger of being damaged by vehicles, equipment or other operations taking place on the work site.
AFTER USE
At the end of the working shift it is essential that the machine is hosed down thoroughly with clean water, being sure to remove all traces of the cement mix especially from around the mixing blades. The drum may be scoured for a couple of minutes running using course gravel and water which is then discharged and the drum finally hosed clean. Never allow cement residue to harden inside the drum and thereafter be tempted to beat on the drum with hand tools to dislodge such accumulations of dried cement. The machine is constructed to IP44D ingress protection which enables the drum and any other areas to be hosed down safety.
STORAGE
CAUTION: OWING TO THE WEIGHT AND BULK OF THE MIXER, TWO PEOPLE WILL BE REQUIRED TO LOWER THE MIXER AND RE-FIT THE BOLTS.
The mixer can be better stored with the axle frame and support stand folded away.
Remove the top bolts only from the axle frame and support stand and lower the mixer to the floor with the help of an assistant. Loosely re-fit the bolts and nuts into their respective holes for safe keeping.
Leave the mixer with the drum inverted to exclude water or debris and always store the mixer in a dry place out of reach of children.

PERIODICALLY
After extensive use, inspect the paintwork and remove any rust that may be apparent before touching up where necessary with a rust resistant paint.
MAINTENANCE-FREE ITEMS
The bearings in the machine are sealed for life and require no maintenance.
The drive belt is under constant tension and therefore no adjustment is required.
ENVIRONMENTAL RECYCLING POLICY
By purchasing this product, the customer is taking on the obligation to deal with its safe disposal in accordance with the Waste Electrical and Electronic Equipment (WEEE).
This means that this product must not be disposed of with general household waste. It must be disposed of according to the laws governing Waste Electrical and Electronic Equipment (WEEE) at a recognised disposal facility. If disposing of this product or any damaged components, do not dispose of with general waste. This product contains valuable raw materials. Metal products should be taken to your local civic amenity site for recycling of metal products.
GUARANTEE
This product is guaranteed against faulty manufacture for a period of 12 months from the date of purchase. Please keep your receipt which will be required as proof of purchase.
This guarantee is invalid if the product is found to have been abused or tampered with in any way, or not used for the purpose for which it was intended. Faulty goods should be returned to their place of purchase, no product can be returned to us without prior permission.
This guarantee does not effect your statutory rights.
DECLARATION OF CONFORMITY


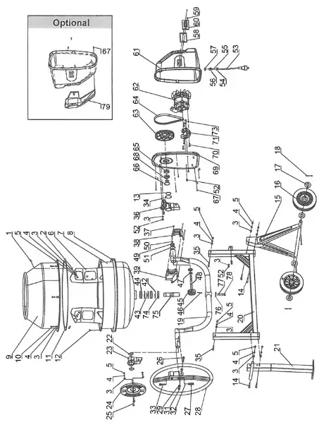
PARTS DIAGRAM

PARTS LIST
| ID | DESCRIPTION | ID | DESCRIPTION | ID | DESCRIPTION |
| 1 | X-head screw M8x20 | 27 | Spring | 53 | Power cable |
| 2 | Waterproof washer | 28 | Tipping wheel | 54 | Strain relief nut |
| 3 | Flat washer 8 | 29 | Flat washer 10 | 55 | Strain relief rubber |
| 4 | Spring washer 8 | 30 | n/a | 56 | Strain relief bolt |
| 5 | Nut M8 | 31 | Nut M10 | 57 | Strain relief nut |
| 6 | Mixing blade | 32 | Washer 8 | 58 | Switch gasket |
| 7 | Lower drum | 33 | Bolt M10x30 | 59 | Screw st3.5×16 |
| 8 | Large gear | 34 | 0-ring | 60 | Switch |
| 9 | Upper drum | 35 | Bolt M8x65 | 61 | Motor cover |
| 10 | Bolt M8x16 | 36 | Bearing block-right | 62 | Motor |
| 11 | Rubber gasket | 37 | Bolt 4.2×12 | 63 | Idler pulley |
| 12 | Bolt M8x12 | 38 | Gear guard 1 | 64 | Belt |
| 13 | Circlip 42 | 39 | Gear guard 2 | 65 | Bearing 61906 |
| 14 | Bolt M8x70 | 40 | n/a | 66 | Snap washer |
| 15 | Axle bracket | 41 | n/a | 67 | Screw st4.2×16 |
| 16 | Wheel | 42 | Circlip 62 | 68 | Circlip 30 |
| 17 | Flat washer 27 | 43 | Circlip 30 | 69 | End plate |
| 18 | Cotter pin 5×40 | 44 | Bearing 6206 | 70 | Bolt M8x25 |
| 19 | Support arm | 45 | Drive pinion | 71 | Endplate (bracket) |
| 20 | Frame | 46 | Lock pin 6×45 | 72 | n/a |
| 21 | Support leg | 47 | Sleeve | 73 | Bolt M8x30 |
| 22 | Circlip 38 | 48 | Drive shaft | 74 | Oil seal |
| 23 | Bearing block-left | 49 | Bearing 6202 | 75 | Fixed shaft |
| 24 | Locking plate | 50 | Circlip 15 | 76 | Washer |
| 25 | Bolt M8x25 | 51 | Circlip 42 | 77 | Spring washer 12 |
| 26 | Bolt M8x65 | 52 | Locknut M8 | 78 | Bolt M12x25 |

PARTS & SERVICE:
0208 988 7400
Parts Enquiries
[email protected]
Servicing & Technical Enquiries
[email protected]
SALES: UK 01992 565333 or Export 00 44 (0)1992 565335
Clarke INTERNATIONAL Hemnail Street, Epping, Essex CM16 4LG
www.clarkeintemational.com







NOTE: The drive spindle has a flat side to correspond with the flat provided in the drive pulley. Rotate the lower drum gently to turn the spindle and align the flats.




• Do not load the drum when the machine is switched off. Always set the machine running before filling.
• Only discharge the mixer when a suitable receptacle for the cement mix is in position.

















