SellTec 270487 DONAU Ceiling Light LED Panel Instruction Manual
This product contains a light source of energy efficiency class <E>.
| LED | 21,5 W | 6,5 W |
| 2.600 Im | ||
| 32 W | 32 W | |
![]() | 1.250 Im | 1 .250 Im |
| t | 25.000 h | 25.000 h |
| Tk | 2.700-5000 K | RGB |
| 15.000 x | 15.000 x | |
| <0,5 s | <0,5 s | |
![]() ![]() | ||
| 270487 | |
| 230V / 50Hz- | |
| LED | lx LED-Board 35,5V DC/21,5W |
| LED | lx LED-Board 12V DC/6,5W |
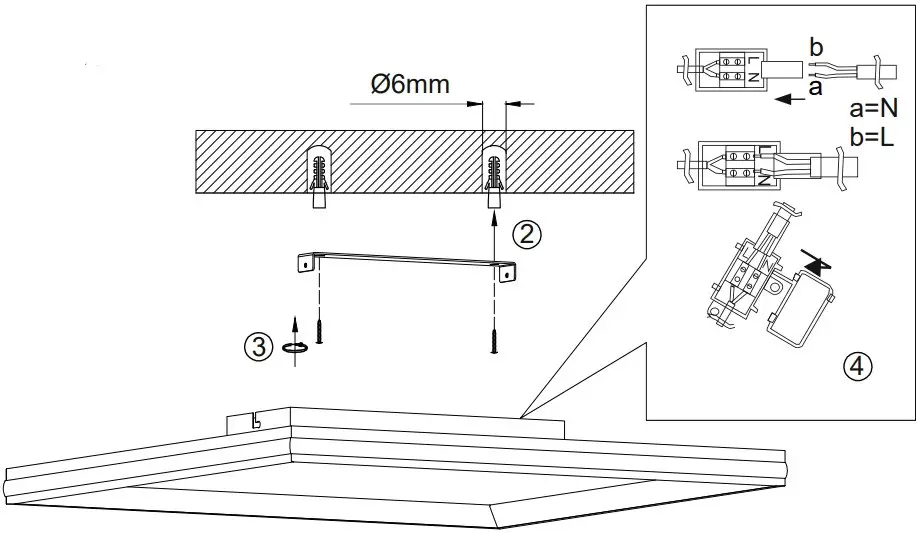
INSTRUCTION







Radio remote control operating instructions
short press:
switch all off long press: teach the remote control to the light. If the light flickers three times, the light has been taught to the remote control.
short press:CCT function is switched on / off long press: night light function (warm white / 10% brightness) Turn off the light using the remote control, press the night light button again to switch to night light mode.
Set brightness / speed: Increase the brightness when only white is switched on. Increase the speed of the RGB color modes.
CCT Steps: 3500 K – 5000 K – 2700 K
Reduce the color temperature
Increase the color temperature
Set brightness / speed:
Reduce the brightness if only white is switched on. Reduce the speed of the RGB color modes
RGB color mode: switch mode
RGB color mode: switch back mode
Switch RGB on / off
RGB
Start / stop RGB color change

| Description | Operation Data |
| Battery | 2x 1,5V AAA |
| Transmission frequency | 2,4GHz |
| Transmitting power | max. 0,1dBm |
| No-load current | 5uA |
| Operating current | 300uA |
| Range of the remote control | Om |












