3DGENCE F380.13.024 NFC
Reader User Manual
Unique Identifier:
Trade name: NFC Reader rev 2.1,
Model number: F380.13.024
FCC ID: 2AU79-SMM01
IC: 25678-SMM01
Responsible Party U.S. Contact Information:
3DGence America, Inc.
1841 E.Levee Street
75207 Dallas, TX
Telephone: +1.855.466.3813
FCC Compliance Statement:
CAUTION: Changes or modifications not expressly approved could void your authority to use this equipment
This device complies with Part 15 of the FCC Rules. Operation to the following two conditions: (1) This device may not cause harmful interference, and (2) this device must accept any interference received, including interference that may cause undesired operation
NOTE: This equipment has been tested and found to comply with the limits for a Class A digital device, pursuant to part 15 of the FCC Rules. These limits are designed to provide reasonable protection against harmful interference when the equipment is operated in a commercial environment. This equipment generates, uses, and can radiate radio frequency energy and, if not installed and used in accordance with the instruction manual, may cause harmful interference to radio communications. Operation of this equipment in a residential area is likely to cause harmful interference in which case the user will be required to correct the interference at his own expense.
INDUSTRY CANADA STATEMENT
This device complies with Industry Canada license-exempt RSS standard(s). Operation is subject to the following two conditions: (1) this device may not cause interference, and (2) this device must accept any interference, including interference that may cause undesired operation of the device.
NFC Reader User Manual
1. Overview
The solution introduced by 3DGence Sp.z o.o. based on NFC technology aims to identify materials used in additive technology through manufacturing equipment. It consists of 2 parts, a reader placed in the additive manufacturing machine and Tags mounted on reels with thermoplastic material. Device works in NFC reader/writer (i. e. ISO/IEC 14443A/MIFARE Reader/Writer) mode which enables it to read/write information on dedicated NFC tags. The tags provided by 3DGence sp. z o.o. consists of a self-adhesive sticker, loop coil antenna and Mifare chip. The memory of the chip contains information about the material used in the additive manufacturing technology, such as: Type of material, producer, color, processing temperatures, remaining quantity etc.
2. Features
- ISO/IEC 14443A/MIFARE Reader/Writer
- Operating distance up to 50mm
- Supported host interfaces
- SPI interface
- I2C interface
- High-speed UART
- 4.0 to 5.5 V power supply operating range
- Compatible with 3DGence dedicated NFC Tag
- FCC/UL certified module
3. Typical Application

4. Main connector pinout

5. Applications
- 3D Printers
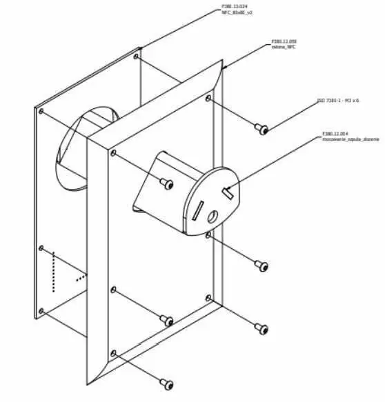
6. Mounting guide
Module has 6 holes with 3.2mm diameter to fit M3 screw. The pads around holes are not connected to ground on the PCB. The pads diameter is 6mm, make sure screw head is not bigger than 6mm. If it is, there is a risk of short circuit and inappropriate module functioning.
If the module is meant to be attached to metal surface, there is a risk that antenna will be detuned. To prevent antenna detuning it is recommended to mount the module on non-metal surface, or apply at least 7mm spacer between the module and metal surface .

Due to ESD protection it is recommended to cover the module with non-metal housing as marked on the picture below. 
7. Antenna specification
- Dimensions: 84 x 84 mm
- Antenna turns: 4
- Turns separation: 0.6 mm
- Track width: 0.6 mm
- Track height: 35 um
- Frequency range capability: 13.56MHz ± 7 kHz.
- Peak gain: N/A
- Antenna Pattern: square
8. Programming guide
Please refer to PN532 manuals for further information:
- Datasheet: https://www.nxp.com/docs/en/nxp/data-sheets/PN532_C1.pdf
- User manual: https://www.nxp.com/docs/en/user-guide/141520.pdf
9. Supported tag specification
Module supports dedicated NFC tag with MIFARE 1K chip.

Tag parameters:
- Sticker size:
- 105mm outside diameter
- 5mm inside diameter
- Antenna diameter: 63mm
- Double layer paper sticker with printing
Tag chip datasheet: https://www.nxp.com/docs/en/data-sheet/MF1S50YYX_V1.pdf
10. Revision history
- Rev 1.0 First revision
- Rev. 1.1 SdoC Declaration added
- Rev. 1.2 Company confidential data removed
Headquarters: 3DGence Sp. z o.o. | Mickiewicza 29, 40-085 Katowice, Poland KRS: 0000265431 | VAT-EU: PL6330009438 | REGON: 271077426 Share capital: 1.400.000 PLN

















