Bronkhorst FLEXI-FLOW Compact Mass Flow and Pressure Meter or Controller

Complete documentation
For a comprehensive instruction manual, hook-up diagrams and other applicabledocumentation about the FLEXI FLOW™ Compact, visit the Bronkhorst® productpages: www.bronkhorst.com/flexi-flow (or scan the QR code)

Intended use
The FLEXI-FLOW™ Compact has been developed to measure and/or control mass flow rates and pressures of clean, dry, non-corrosive and non-toxic gases in a fluid system. The product is suited for general purpose indoor (dry) applications, like laboratories and machine enclosures, under the following constraints:
- Ambient temperature: 0 … 50 °C
- Operating pressure: 16 bar (g) max.
- Power supply: 24 Vdc
Responsibility for the use of the equipment regarding its intended use, suitability for the intended application, cleaning and compatibility of process media with the applied materials lies solely with the user.
Safety notes
- The product(s) described in this document may only be handled by qualified personnel who are familiar with combined fluid and electrical systems and who recognize the associated hazards (e.g. (high) fluid pressure, electric shock).
- The user is responsible for taking the necessary safety measures to prevent damage and/or injury while working with the equipment and process media (as described in the associated Material Safety Data Sheets).
- The equipment and its accessories must be used in accordance with their intended use, specifications and operating instructions.
- Opening the equipment is not allowed.
- If the product is defective or otherwise does not meet your requirements, please contact your Bronkhorst representative for assistance or advice.
Product overview

- Power & signal connector (9-pin D-sub)
- Address selection switch
- Support interface (USB-C)
- Fluid inlet
- Status indication LED
- Control valve
- Fluid outlet
- Flow direction
Installation
- Mounting
Use mounting holes to attach instrument to stable underground - Electrical connection
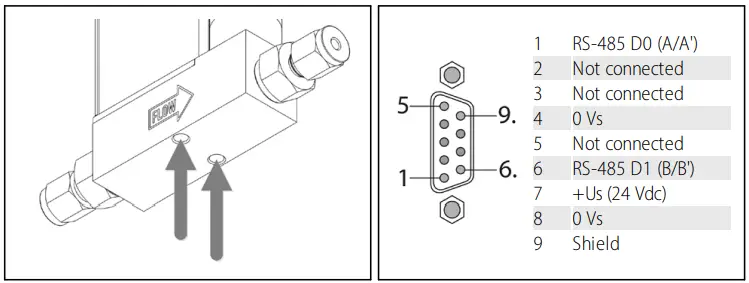
9-pin D-sub male connector – pinning
WARNING
- Verify that the power supply has sufficient capacity to install the instrument into the network.
- Always turn off electrical power before connecting equipment electrically.
Configuration

Set instrument address
0: digital parameter setting 1-9: set manually (overrides the digital parameter)
Install FlowSuite

Bronkhorst FlowSuite2


Digital configuration
After installing FlowSuite, establish connection through service port (USB-C) Configure with FlowSuite
flowsuite

Powering up
- Check leak tightness of fluid system before applying full operating pressure
- For reliable operation, make sure fluid stream is uncontaminated.
- Power up

- Pressurize fluid system

- Green indication LED: ready to use!

Customer Care
For current information about Bronkhorst® and worldwide service addresses, please visit our website. For after-sales questions, help and guidance, our Customer Care department can be contacted by e-mail:[email protected]
No matter the time zone, our experts within the Customer Care department are available to answer your request immediately or take appropriate further action. Our experts can be reached at:+31 859 02 18 66
Service and returns
For current information about Bronkhorst®, worldwide service addresses and return information, visit the Service & Support section on our website: www.bronkhorst.com/service-support (or scan the QR code)

Disposal
If you are a customer within the European Union and wish to dispose of Bronkhorst® equipment bearing the symbol of a crossed-out waste disposal bin, Bronkhorst can take care of proper dismantling, recycling and/or reuse. Just return the item(s) following the return instructions on our website; please mention in the covering letter that you are returning the product for disposal. In countries outside the EU, disposal of electrical and electronic equipment (EEE) may be subject to local or national directives and/or legislation. If applicable, consult local or national authorities to learn how to handle EEE properly in your area.
Disclaimer
This document has been reviewed and is believed to be accurate. Bronkhorst High-Tech B.V. does not assume liability for errors, inaccuracies or absence of information. The material in this document merely serves information and illustration purposes; no rights can be derived from its contents. Bronkhorst High-Tech B.V. reserves the right to modify or improve its products and documentation without prior notice. Device specifications and the contents of the package may deviate from what is stated in this document. Copyright © 2022 Bronkhorst High-Tech B.V. – All rights reserved
Bronkhorst High-Tech B.V. Nijverheidsstraat 1a
NL-7261 AK Ruurlo, The Netherlands
+31 573 45 88 00 [email protected] www.bronkhorst.com
























