CARBON CATALYST MAG15 Whole House Air Purifiers
INSTALLATION INSTRUCTIONS
IMPORTANT
- Only qualified technicians should install this product.
- Install in accordance with relevant building codes.
- Read instructions carefully including safety warnings.
WARNING: PROTECT EYES FROM UV LIGHT TURN OFF UNIT OR DISCONNECT BEFORE SERVICING
- Installation of this product by anyone other than licensed HVAC or electrical contractors voids warranty. © 2022 CRB-COMBINED-MAN 041422
Carbon Catalyst Standard Installation
Typical Installation Locations
Carbon Catalyst Standard is usually installed on the supply side duct just above the air system (upstream of a humidifier). It can also be installed on the return side if necessary.
Orient so the air flows past the UV light first before the carbon. Position the unit so the UV light does not shine directly on non-uv-resistant materials (filters, humidifiers, flex duct, etc.). Ideally the UV light shines on the coil.
For dual systems select a remote UV light location that shines on the greatest surface area or the area with the most microbial growth. Refer to the Optional Remote UV Light section for installation instructions.


Carbon Catalyst Standard Parts List

Carbon Catalyst Standard Duct Mounting

- Use gasket D to trace cut-line onto duct.
- Cut hole in sheet metal or duct board.
IMPORTANT: Remove and dispose of cut-out piece of material. - For sheet metal duct secure mounting plate C to sheet metal ducts using self-tapping screws E .*
- Remove paper backing from one side of gasket and fix gasket to the back of the mounting plate.
- Remove paper backing from back of gasket then fix mounting plate and gasket to the duct.
- Bend mounting plate flanges around the edges of the hole to secure mounting plate. For duct board use tape on edges of mounting plate for air leaks and additional hold.
To install without backing plate use (4) self-tapping screws.
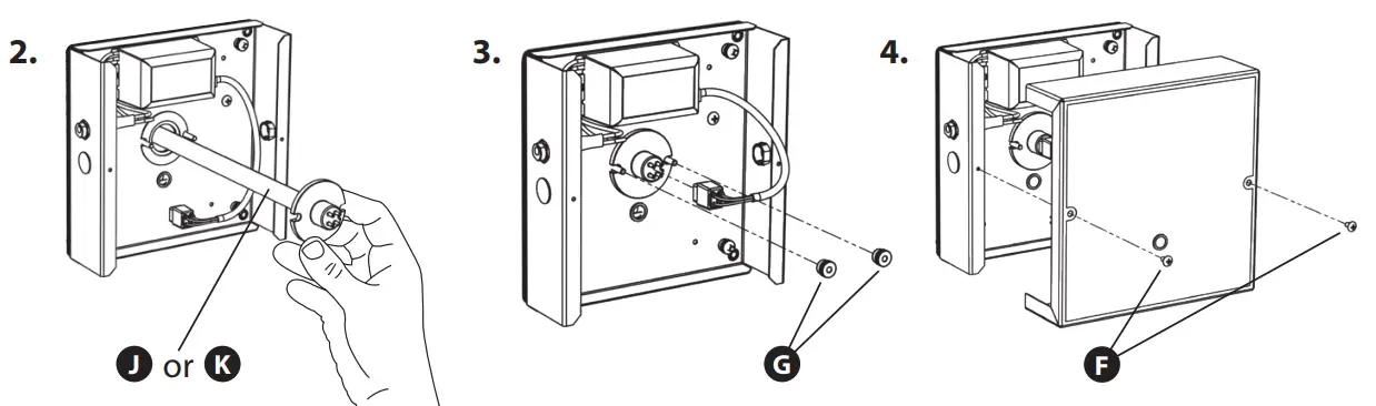
Carbon Catalyst Standard Power Unit & UV Lamp Mounting


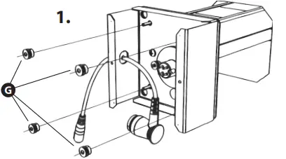
- Fit the Carbon Catalyst Standard Main Unit through hole in duct. If attaching directly to metal duct use (4) Self-tapping Screws. If the Backing Plate is used fit the unit over the threaded posts and use (4) Quick Nuts G to secure it.
- Insert UV Lamp.
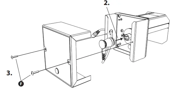
- Mount UV Lamp using (2) Quick Nuts and attach lamp connector (be sure to align the four connector pins).
- Attach the cover with machine screws F .
Carbon Catalyst Standard Connecting to Power
IMPORTANT
- Before connecting to power confirm which model is being installed. Turn off main power source before installation. Always use proper conduit fittings and terminations.
- Model information is printed on the Power Unit cover.
- Must be wired to constant power – do not connect to blower relay.

Carbon Catalyst RT Installation
Carbon Catalyst RT is usually installed on the supply side duct just above the air system (upstream of a humidifier). It can also be installed on the return side if necessary.
Orient so the air flows past the UV light first before the carbon. Position the unit so the UV light does not shine directly on non-uv-resistant materials (filters, humidifiers, flex duct, etc.). Ideally the UV light shines on the coil.
For dual systems select a remote UV light location that shines on the greatest surface area or the area with the most microbial growth. Refer to the Optional Remote UV Light section for installation instructions.


Carbon Catalyst RT Parts List

Carbon Catalyst RT Duct Mounting
- Use gasket D to trace cut-line onto duct.
- Cut hole in sheet metal or duct board. IMPORTANT! Remove and dispose of cut-out piece of material.
- For sheet metal duct secure mounting plate C to sheet metal ducts using self-tapping screws E .*
- Remove paper backing from one side of gasket and fix gasket to the back of the mounting plate.
- Remove paper backing from back of gasket then fix mounting plate and gasket to the duct.
- Bend mounting plate flanges around the edges of the hole to secure mounting plate. For duct board use tape on edges of mounting plate for air leaks and additional hold.

- To install without backing plate use (4) self-tapping screws.
Carbon Catalyst RT Power Unit & UV Lamp Mounting
- Fit the Carbon Catalyst RT Main Unit through hole in duct. If attaching directly to metal duct use (4) Self-tapping Screws. If the Backing Plate is used fit the unit over the threaded posts and use (4) Quick Nuts to secure it.
- Insert UV Lamp.
- Mount UV Lamp using (2) Quick Nuts and attach lamp connector (be sure to align the four connector pins).
- Attach the cover with machine screws.


Connecting Carbon Catalyst RT to Power
IMPORTANT
- Before connecting to power confirm which model is being installed. Turn off main power source before installation. Model information is printed on the Power Unit cover.
- Must be wired to constant power – do not connect to blower relay.

Carbon Catalyst MAG Installation
Carbon Catalyst MAG is usually installed inside the central air handling system. Orient so the air flows past the UV light first before the carbon. Position the unit so the UV light does not shine directly on non-uv-resistant materials (filters, humidifiers, flex duct, etc.). Ideally the UV light shines on the coil.
For dual systems select a remote UV light location that shines on the greatest surface area or the area with the most microbial growth. Refer to the Optional Remote UV Light section for installation instructions.
Carbon Catalyst MAG Parts List

Carbon Catalyst MAG Surface Installation
- Determine the optimal position for placement of MAG unit inside the air system.
- Use a utility knife to cut a slit in the insulation on the interior surface.
- Place the magnetic mounting bracket directly on the metal surface or remove the magnet and hard-mount the bracket using the self-tapping screws provided. Use foil tape to close the cut in the insulation.
- Mount the UV Lamp to the MAG unit as shown using 2 quick nuts.
- Connect lamp: make sure the flanges are aligned and then push the connectors firmly together. A tight connection ensures a proper water-resistant seal.


Important: Do not install the mounting magnet within 12” of digital signal devices as this may cause interference.
Connecting Carbon Catalyst MAG to Power
IMPORTANT: Before connecting to power confirm which model is being installed. Turn off main power source before installation. Model information is printed on the Power Unit cover.
Remote UV Light Installation (Dual Systems)
Carbon Catalyst Dual systems (Standard, RT, Mag) include
a second, remote mounted UV light for additional HVAC disinfection, usually at the coil. Dual systems include a second power supply for the remote UV lamp. To add a second UV light to an Carbon Catalyst system that is not a dual, purchase an additional UV light with its own power supply.


WARNING: PROTECT EYES FROM UV LIGHT TURN OFF UNIT OR DISCONNECT BEFORE SERVICING.
IMPORTANT
- Dual lamps are wired in series – both must be connected for lamps to light
- Only qualified technicians should install this product
- Install in accordance with relevant building codes
- Read instructions carefully including safety warnings
Remote UV Surface Installation
- Determine the optimal position for placement of the UV lamp.
- Use a utility knife to cut a slit in the insulation on the interior surface.
- Place the magnetic “Z” bracket directly on the metal surface or remove the magnet and hard-mount the bracket using the self-tapping screws provided. Use foil tape to close the cut in the insulation.
- Use plastic quick-nuts to attach the UV lamp to the “Z” bracket as shown.


Important: some materials inside the air system (including filter media, flex duct, wiring etc.) may not be UV light resistant. Use the optional UV shield (part #TUV-SHIELD-LPC) or cover the materials with reflective tape.
Coil “A” plate or Duct Installation
- Snap the “Z” bracket apart by bending.
- Drill a 1” hole in the “A”-plate or duct then attach the smaller piece of the bracket using the self-tapping screws.
- Insert the UV lamp into the hole then use the plastic quick-nuts to attach the UV lamp to the “Z” bracket as shown.

Remote UV Configuration
- Find a suitable location on the outside of the duct-work near the UV Lamp installation and apply the warning/lamp replacement sticker
- Drill a ½” hole through the orange circle on the sticker. Press the UV safety viewport into hole.
- Connect lamp: make sure the flanges are aligned and then push the connectors firmly together. A tight connection ensures a proper water-resistant seal.
- Turn on the power and use the sight glass to confirm that the UV Lamp is operating.

Lamp Replacement
Germicidal UV lamps need to be replaced periodically. Systems will include one-year (TUVL-1xx), or two-year (TUVL-2xx) UV-C lamps.
Note: UV lamps will continue to emit visible light but they lose germicidal effectiveness over time. One-year and two-year lamps are interchangeable, you can upgrade to a two-year lamp with your existing power supply.
CAUTION: UV lamps contain small amounts of mercury – dispose of lamps in accordance with local environmental regulations.
For more information visit www.lamprecycle.org
Note: Use of replacement UV lamps other than those listed voids warranty.




















