SAFETY VISION 4816-NVR Mobile Digital Video Recorder

Overview
4816-NVR is developed from the brand new platform N9M, which is an advanced and function-extensive Mobile Video Recorder specially designed for high definition IP camera input and excellent extension. It uses high-speed processor and embedded operating system, patented file system 5.0 to ensure the safety and integration of important data, combining with H. 264, H. 265 video compression/decompression technology, network technology and GPS locating technology. It can support 1080P,720P high definition and WD1, WHD1, WCIF, D1, HD1, CIF video recording and vehicle driving information recording, as well as wireless data upload. With the center software it also achieves alarm linkage central monitoring, remote management and playback analysis. It is powerful with modular design, flexible installation, easy maintenance and high reliability.
Main Features
- Supports 16 channel IPC (1080P)
- Modular design for easy maintenance
- Supports 2.5” or 3.5” hard disk storage and SD card for video recording
- With VGA port
- Internal GPS for location tracking
- Built-in WIFI for live view and video download, playback etc.
Specification
| Function Overview | Live view, Recording, Playback, Network, Locating | |
| System | OS | Linux |
| Control Mode | CP4, Easy Check, Network (WIFI), Mouse | |
| Video | Input | 16 channel IPC (4K max.) |
| Output | 2 channels | |
| Total Resource | 16 x 1080P@30fps | |
| Audio | Input | 16 channels |
| Output | 2 channels (VGA, CP4) | |
| Display | Display Split | 1/4/9 Image display |
| OSD | GPS, alarm, acceleration, license plate number, speed, time, etc. | |
| Operation Interface | Firmware GUI, Web UI | |
|
Recording | Video/Audio Compression | Video: H.264, H.265 |
| Audio: ADPCM, G.711A, G.711U | ||
| Image Resolution | 4K(Max.),1080P, 720P, WD1(928X480), WHD1(928X240), WCIF(464X240), D1(704×480), HD1(704×240), CIF(352×240) | |
| Image Quality | 8 Levels adjustable | |
| Recording Mode | Schedule/alarm (sensor, speed, acceleration trigger etc.) | |
| Pre-recording | 0-60minutes | |
| Post-recording | 0-30 minutes | |
| Mirror Recording | Support | |
| Playback | Playback Channel | 4 channels by local playback |
| Search Mode | Date/time, channel, event | |
| Network | WIFI | 802.11 a/b/g/n/ac |
| Ethernet | RJ45 x 1 (10M/100M/1000M) | |
| IPC Ethernet | RJ45(16x10M/100M, POE power supply) | |
| Locating | GPS | Location tracking, speed detection and time sync. |
| Storage | Hard disk | Supports 3.5’’ 10TB (Max.), 2 x 2.5’’ hard disk or SSD up to 4TB |
|
Interface | USB | USB2.0 x 2 |
| SD | SD slot x 1 | |
| SIM | SIM slot x 1(Optional) | |
| Sensor | 8 inputs, 2 outputs | |
| Serial port | RS232 X 2, RS485 X 2 | |
| Speed | 1 channel pulse speed detection | |
| Interface | Touch panel CP4 (Optional) | |
| Intercommunication | I MIC interface | |
| VGA | VGA x 1 | |
|
Power | Input | DC8-36V |
| Output | 5V@500mA, 12V@500mA | |
| Max Power Consumption | 136W | |
| Standby Power Consumption | ≈0W |
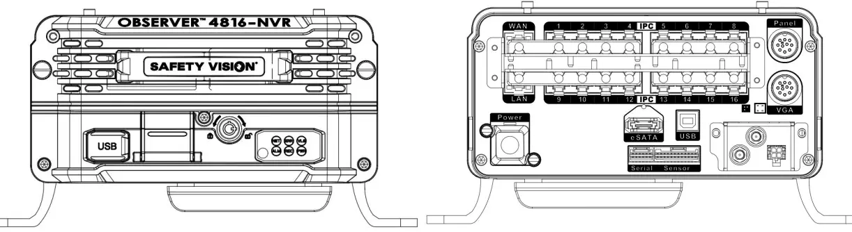
Product Connection View

| Physical Characteristic | Dimension (L × W × H) | 362.4x 254 x 127mm (With the rear cover) |
| Environment | Operating Temperature | -40℃- +50℃(With heater) or -5℃- +50℃ (Without heater) |
| Operating Relative Humidity | 8%~90% |
FCC warning:
Any Changes or modifications not expressly approved by the party responsible for compliance could void the user’s authority to operate the equipment.
Note: This equipment has been tested and found to comply with the limits for a Class B digital device, pursuant to part 15 of the FCC Rules. These limits are designed to provide reasonable protection against harmful interference in a residential installation. This equipment generates uses and can radiate radio frequency energy and, if not installed and used in accordance with the instructions, may cause harmful interference to radio communications. However, there is no guarantee that interference will not occur in a particular installation. If this equipment does cause harmful interference to radio or television reception, which can be determined by turning the equipment off and on, the user is encouraged to try to correct the interference by one or more of the following measures:
- Reorient or relocate the receiving antenna.
- Increase the separation between the equipment and receiver.
- Connect the equipment into an outlet on a circuit different from that to which the receiver is connected.
- Consult the dealer or an experienced radio/TV technician for help.
This device complies with part 15 of the FCC Rules. Operation is subject to the following two conditions: (1) This device may not cause harmful interference, and (2) this device must accept any interference received, including interference that may cause undesired operation.
This equipment complies with RF radiation exposure limits set forth for an uncontrolled environment. This equipment should be installed and operated with a minimum distance of 20 centimeters between the radiator and your body.

















