
Operating manual





Pressure regulator for CO2 – disposable bottles (Art.-Nr. 6063040)
Pressure regulator for CO2 – returnable bottles (Art.-Nr. 6063050)
General user instructions
1.1 Information about the use of the operating instructions
![]()
Before you start up the device for the first time, read and understand these operating instructions completely.
Regard the operating instructions as part of the product and keep them in a readily accessible place.
Please include these operating instructions if you pass this device on to a third party.
1.2 Explanation of symbols
The following symbols are used on the device:
The device may only be used in indoor spaces for aquarium applications.
The device is certified in accordance with the respective national regulations and di-receives and complies with the EU standards.
The following symbols and signal words are used in these operating instructions:
WARNING!
This symbol indicates imminent danger that can result in mild to moderate physical injury or a health risk.
CAUTION!
This symbol indicates a danger of damage to property.
Note with useful information and tips.
Display conventions:
A Reference to an image, here reference to image A.
▶ You are asked to perform an action.
Applications
The device and all parts contained in the delivery are designed for private use and may only be used for:
- CO2 supply of aquariums
- only in interior spaces
- under compliance with the technical data
The following restrictions apply to the device:
- not to be used for commercial or industrial purposes
- the water temperature must be kept between +4°C to 35°C
Safety instructions
This device may pose a risk to persons and physical property if the device is used improperly or used for purposes other than the intended use or if the safety instructions are not observed.
This equipment can be used by children above the age of 8 or by persons with reduced physical, mental or sensory capacities or a lack of experience or knowledge, provided they are supervised or have received instruction in the safe use of the equipment and therefore understand the risks involved. Do not allow children to
play with this equipment. Do not allow children to clean or conduct user maintenance without supervision.
- Inspect the device before use to make sure that the device and in particular, the hose connections are not damaged.
Never use the device with a damaged CO2 hose.- Repairs may only be performed at an authorized EHEIM service depot.
- Only perform tasks that are described in these instructions.
Never make technical changes to the device.- Only use original replacement parts and accessories for this device.
- In principle, always disconnect all devices in the aquarium from the power supply when they are not being used, before you install or uninstall them, and before all cleaning and maintenance operations.
Safety instructions for carbon dioxide (CO2)
CO2 bottles are under pressure. Do not throw them. Store them in a cool place. Protect them from direct sunlight and from heat above 50°C.- CO2 withdrawal only with appropriate pressure regulators for:
– disposable CO2 bottles with connection threads M 10 x 1.0
– returnable CO2 bottles with connection threads W 21.8 x1/14” - Refilling of CO2 returnable bottles only at authorized CO2 fil-ling depots. Please note Tara’s weight with CAGE (valve pro- tection cage).
- Disposable CO2 bottles may not be refilled and have to be disposed of after use. Recycling number 40 FE (steel)
- Withdrawal of CO2 only from upright positioned bottles that are protected against falling over.
- Do not open CO2 bottles by force.
- CO2 gas is odorless, heavier than air, and has a suffocating effect in high concentrations.
– do not breathe in CO2 gas.
– keep out of reach of children.
– store CO2 bottles in a well-ventilated location.
– do not operate or store in basement rooms.
Please make sure of the following during the transport of individual CO2 bottles in vehicles: Secure the bottle against sliding and rolling. The valve may not be damaged or there is a danger that the CO2 escapes. The vehicle must be sufficiently ventilated (such as with a fan or open window).
Function
6063040 CO2 pressure regulator, disposable bottles
- Adjustment knob
- connection threads M10x1
- hose connection
- fine control valve.
6063050 CO2 pressure regulator, returnable bottles
- Adjustment knob
- connection threads W21.8×1/14”
- hose connection
- fine control valve
- manometer bottle pressure gauge
- manometer system pressure gauge.
Assembly
Assembly of the pressure regulator
DANGER! POSSIBLE INJURY!
▶ Make sure that the pressure regulator is closed before connection.
▶ Close the fine control valve.
A Pressure regulator for CO2 – disposable bottles (Art. No. 6063040)
Connection of the pressure regulator to the CO2 disposable bottle.
Turn the adjustment knob 1 of the pressure regulator counter-clockwise to ”–“. Close the fine control valve 4. Check the gasket in connection thread 2 of the pressure regulator and the sealing surface of the bottle valve for cleanliness and damage. Screw the locking nut of the pressure regulator straight onto the connection thread of the bottle valve and tighten it hand-tight. You may hear a brief hiss. Do not use a tool!
B Pressure regulator for CO2 – returnable bottles (Art. No. 6063050)
Connection of the pressure regulator to the CO2 returnable bottle.
Turn the adjustment knob 1 of the pressure regulator counter-clockwise to ”–“. Close the fine control valve 4. Check the gasket in connection thread 2 of the pressure regulator and the sealing surface of the bottle valve for cleanliness and damage.
Unscrew the pressure regulator evenly and tighten it hand-tight. Do not use a tool! You can dis-semble the pressure regulator again at any time. Follow the above procedure in reverse order.
C CO2 SAFE safety hose
Connection of the CO2 SAFE safety hose to the pressure regulator.
Unscrew the locking nut of the hose connection. Cut the necessary length from the CO2 SAFE special hose. Guide the locking nut over the hose. Push the CO2 SAFE special hose until it hits the hose connection of the pressure regulator and tighten the locking nut again. Assembly of the CO2 diffuser
Please see all other assembly steps in the respective assembly and operating instructions of the CO2 system you are using or the respective CO2 accessory you are using.
Start-up
D1 CO2 pressure regulator, disposable bottles (Art. No. 6063040)
After all, components are installed, the CO2 supply can be opened on the adjustment knob of the pressure regulator. Turn direction clockwise.
D2 CO2 pressure regulator, returnable bottles (Art. No. 6063050)
After all, components are installed, the CO2 supply can be opened on the main valve of the pressure regulator. Turn direction counterclockwise.
The CO2 supply is opened on the adjustment knob of the pressure regulator (turn direction clockwise) until the manometer for the system pressure gauge F displays the necessary pressure for your CO2 system.
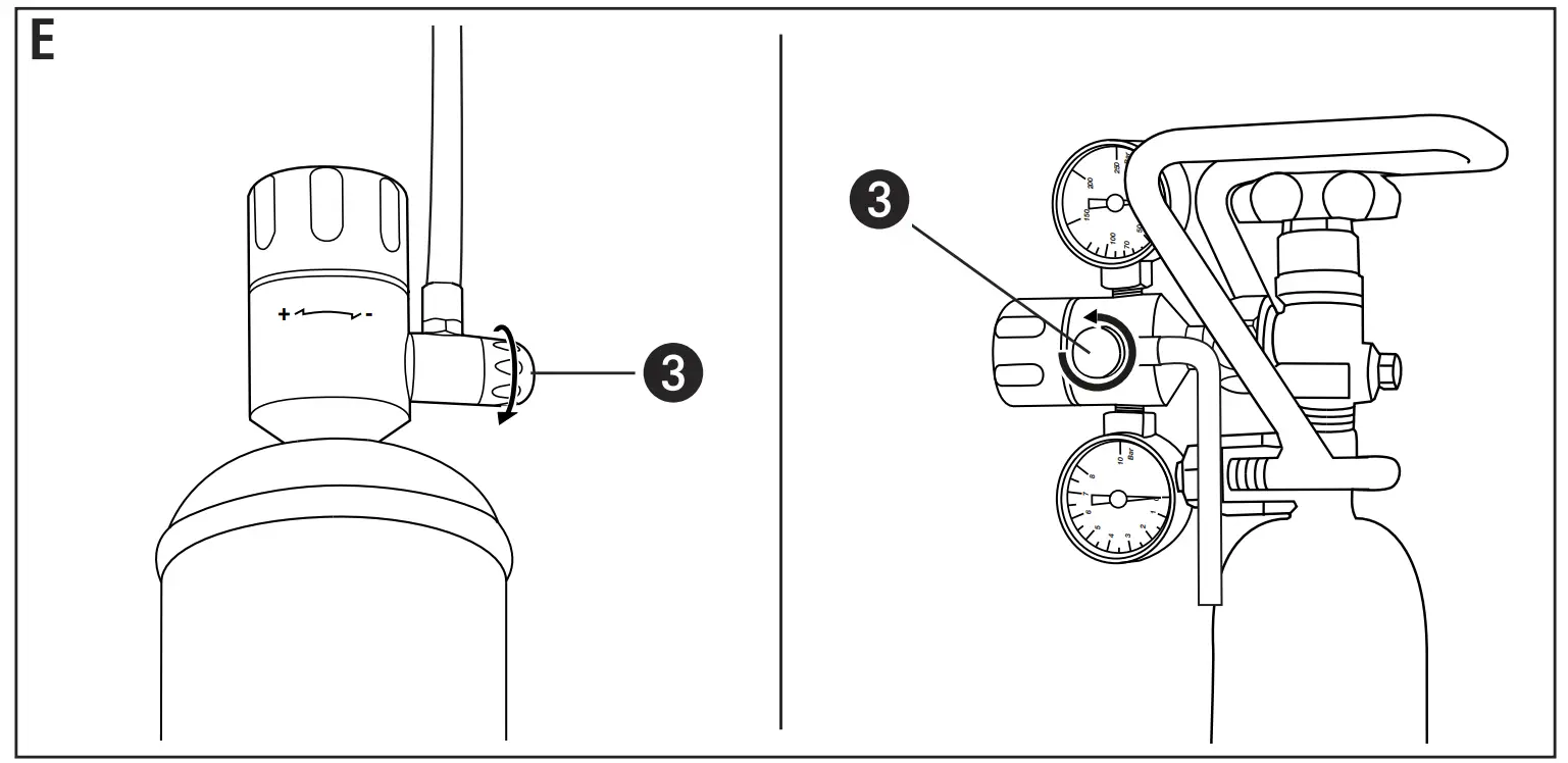
E CO2 fine control valve
Open the fine control valve 4 on the pressure regulator until bubbles rise in the diffuser. It makes sense to adjust the number of bubbles to a low amount in the beginning. The amount can be increased after several hours until the desired CO2 content has been achieved.
Reproduction or copying – even parts thereof – only with the express permission of the producer.

EHEIM GmbH & Co. KG
Plochinger Str. 54
73779 Deizisau
Germany
Tel. +49 7153/70 02- 01
Fax +49 7153/70 02-174
www.eheim.com


















