VONROC PW508DC Pressure Washer
PW508DC Pressure Washer
The PW508DC Pressure Washer is a Class II machine with double insulation, which means it doesn’t require an earthed plug. It is not intended to be connected to the potable water mains and must be protected against frost. The machine is equipped with a time-lag miniature fuse-link and a separate collection for Li-ion batteries.
Safety Instructions
Before using the pressure washer, read the enclosed safety warnings, additional safety warnings, and instructions carefully to reduce the risk of fire, electric shock, and personal injury. The machine is not suitable for persons (including children) with reduced physical, sensory, or knowledge abilities. Children should be supervised while using the machine to prevent any accidents. Do not use the machine under the influence of drugs or alcohol. Always maintain good footing and balance while using the machine. The water jet must not be directed toward people or animals, the unit itself, electrical parts, or other electrical equipment.
Usage Instructions
- Before cleaning and maintenance, switch off the machine and remove the battery pack from the machine.
- Do not dispose of the product in unsuitable containers. Ensure that the water supply is constant as a lack of water circulation may damage the sealing rings of the machine.
- If there is an accident such as contact with detergents or breakdown, rinse with an abundance of clean water to prevent unsafe situations.
Note: The PW508DC Pressure Washer is compliant with applicable safety standards in European directives.
SAFETY INSTRUCTIONS
Read the enclosed safety warnings, the additional safety warnings, and the instructions. Failure to follow the safety warnings and instructions may result in electric shock, fire, and/or serious injury. Save the safety warnings and the instructions for future reference. The following symbols are used in the user manual or on the product:

- Read the user manual.
- Denotes risk of personal injury, loss of life, or damage to the tool in case of nonobservance of the instructions in this manual.
- Risk of electric shock.
- Indoor use only.
- Class II machine – Double insulation – You don’t need any earthed plug.
- Time-lag miniature fuse-link.
- Max temperature 45°C
- Do not throw the battery into the fire.
- Do not throw the battery into the water.
- Before cleaning and maintenance, always switch off the machine and remove the battery pack from the machine.
- DO NOT direct the water jet toward people or animals.
- DO NOT direct the water jet towards the unit itself, electrical parts, or other electrical.

- The machine is not intended to be connected to the potable water mains.
- Protect the appliance against frost.
- Separate collection for Li-ion battery.
- Do not dispose of the product in unsuitable containers.
- The product is in accordance with the applicable safety standards in the European directives.
SAFETY WARNINGS
When using electric machines always observe the safety regulations applicable in your country to reduce the risk of fire, electric shock and personal injury. Read the following safety instructions and also the enclosed safety instructions.
WARNING! Read all safety warnings and all instructions. Failure to follow the warnings and instructions may result in electric shock, fire and/or serious injury.
Immediately switch off the machine when:
- Defect switch.
- Smoke or stench of scorched isolation.
Specific safety rules
The USE and MAINTENANCE manual constitutes an essential part of the cleaner equipment and should be kept in a safe place for future reference. If you sell the cleaner, the manual should be handed on to the new owner.
- Before starting the cleaner, make sure that it is receiving water correctly. Operating the cleaner without water could damage the seals.
- Protect the cleaner from freezing during the winter.
- Do not obstruct the ventilation grilles during operation.
- Position the cleaner AS NEAR POSSIBLE to the water supply.
- The packaging is easily recyclable and must be disposed of in compliance with the regulations in force in the country of installation.
- se the cleaner only with accessories and replacement parts authorized by the manu-facturer. The use of original accessories and replacement parts will ensure safe, trouble-free operation.
- Avoid unintentional firing of the trigger. Do not carry the lance/ trigger assembly with your hand over the trigger. Always use the trigger lock mechanism.
- Ensure that the safety lock on the trigger is used, when you have stopped using the pres-sure washer to prevent accidental operation.
- Machines shall not be used by children. Chil-dren should be supervised to ensure that they do not play with the machine. This machine is not intended for use by persons (including children) with reduced physical, sensory or mental capabilities, or lack of experience and knowledge.
- The machine is intended to be used at a tem-perature above 5 degree.
- The operating method to be followed in the event of accident (e.g. contact with detergents: rinse with an abundance of clean water) or breakdown to prevent unsafe situations.
- Do not use the machine within range of persons unless they wear protective clothing.
- Do not direct the jet against yourself or others in order to clean clothes or foot-wear.
- Risk of explosion-Do not spray flammable liq-uids.
- High pressure hoses, fittings and couplings are important for the safety of the machine. Use only hose, fittings and couplings recommended by the manufacturer.
- To ensure machine safety, use only original spare parts from the manufacturer or approved by the manufacturer.
- Water that has flown through backflow preventers is considered to the non-potable.
- Observe a distance of at least 30cm when using the jet to clean painted surfaces to avoid damaging paintwork.
- Do not use the device if important parts such as the suction hose, nozzles or the spray lance are damaged.
- To ensure the machine’s safety, please only use original spare parts (including the nozzle) from the manufacturer or approved by the manufacturer. Do not use the machine before you changed them if they are damaged.
- Be care of the danger of the kickback force on the pressure washer when starting and grasp the pressure washer with hands firmly.
- To reduce the risk of injury, close supervision is necessary when a machine is used near children. Pressure cleaners shall not be used by children or untrained persons.
- Know how to stop the machine and bleed pressures quickly. Be thoroughly familiar with the controls.
- Stay alert and watch what you are doing.
- Do not use for cleaning windows.
- Do not operate the machine when fatigued or under the influence of alcohol or drugs.
- Keep operating area clear of all persons.
- Do not overreach or stand on unstable support. Keep good footing and balance at all times.
- Follow the maintenance instructions specified in the manual.
- When the machine is running, please main-tain a constant water supply. Without water circulation will damage the sealing rings of the machine.
- Don’t start and run the machine in a place excessively cold so as to prevent the machine from the freezing current.
- This machine has been designed for only using cleaning water, do not use corrosive chemicals.
- High-pressure jets can be dangerous if subject to misuse. The jet must not be directed at persons, animals, live electrical equipment or the machine itself. Pressure washers should not be pointed at tire walls, as it may be possible to damage them.
- Do not direct the jet against yourself or others in order to clean clothes or footwear.
- Disconnect the battery before carrying out user maintenance.
- Be aware of the recoil caused by the water jet when the machine is switched on.
- Do not use the pipe if the pipe is damaged. If you want connect this machine to portable wa-ter mains, you must install a backflow preventer in the water pipe to prevent dirty water flow back to the drinking water system. The backflow preventer shall comply with EN 60335-2-54.
SAFETY WARNINGS FOR BATTERY
- D o not open the battery. The danger of short-circuiting.
- P rotect the battery against heat, e.g., against continuous intense sunlight, fire, water, and moisture. The danger of explosion.
- In case of damage and improper use of the battery, vapors may be emitted. Ventilate the area and seek medical help in case of complaints. The vapors can irritate the respiratory system.
- U se the battery only in conjunction with your Vonroc product. This measure alone protects the battery against dangerous overload.
- The battery can be damaged by pointed objects such as nails or screwdrivers or by force applied externally. An internal short circuit can occur and the battery can burn, smoke, explode or overheat.
SAFETY WARNINGS FOR CHARGER
Intended use
Charge only CD801AA and CD803AA type rechargeable Battery packs with the charger. Other types of batteries may burst causing personal injury and damage.
- The appliance is not to be used by persons (including children) with reduced physical, sensory, or mental capabilities, or lack of experience and knowledge unless they have been given supervision or instruction.
- Children are being supervised not to play with the appliance.
- Do not recharge non-rechargeable batteries!
- During charging, batteries must be placed in a well-ventilated area!
Electrical safety
Always check that the voltage of the power supply corresponds to the voltage on the rating plate.
- Do not use the machine if the mains cable or the mains plug is damaged.
- Only use extension cables that are suitable for the power rating of the machine with a minimum thickness of 1.5 mm2. If you use an extension cable reel, always fully unroll the cable.
MACHINE INFORMATION
Intended use
The pressure washer 20V is portable and ideal for cleaning bikes, garden furniture and other objects that require low/medium pressure.
TECHNICAL SPECIFICATIONS
This manual has been drawn up for different sets / article numbers. Check the corresponding article number in below specifications table for the correct composition and contents of your set.
| Model No. | Batteries included | Chargers included |
| PW508DC | – | – |
| S_PW508DC | CD801AA | CD802AA |
| S2_PW508DC | 2 x CD801AA | CD802AA |
| S3_PW508DC | CD803AA | CD802AA |
| Machine information | |
| Voltage | 20V |
| Max. pressure water supply | 5 bar |
| Max. water temperature | 40°C |
| Max. flow rate | 3.3 l/min |
| Max. pressure | 24 bar |
| IP class | IPX1 |
| Weight | 1.5 kg |
| Lpa (sound pressure) | 71.9dB(A) K=3dB(A) |
| Lwa (sound power) | 82.9dB(A) K=3dB(A) |
| Vibration | 1.075 m/s2, K=1.5 m/s2 |
| Model No. | CD801AA |
| Battery Type | Lithium-Ion |
| Voltage | 20V |
| Capacity | 2.0 Ah |
| Recommended charger | CD802AA |
| Weight | 0.3 kg |
| Model No. | CD802AA |
| Charger input | 220-240V, 50Hz 0.4A |
| Charger output | 21V 2.5A |
| Charging time 2Ah battery | 60 minutes |
| Charging time 4Ah battery | 120 minutes |
| Recommended batteries | CD801AA, CD803AA |
| Weight | 0.36 kg |
| Model No. | CD803AA |
| Battery Type | Lithium-Ion |
| Voltage | 20V |
| Capacity | 4.0 Ah |
| Recommended charger | CD802AA |
| Weight | 0.65 kg |
Only use the following batteries of the VONROC VPOWER 20V battery platform. Using any other batteries could cause serious injury or damage to the tool. CD801AA 20V, 2Ah Lithium-Ion CD803AA 20V, 4Ah Lithium-Ion
The following charger of can be used to charge these batteries. CD802AA Quick charger The batteries of the VONROC VPOWER 20V battery platform are interchangeable with all the VONROC VPOWER 20V battery platform tools.
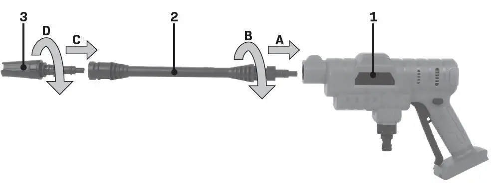
DESCRIPTION
The numbers in the text refer to the diagrams on pages 2-4.
- Pressure washer
- Lance extension
- Adjustable spray nozzle
- Water inlet
- Hose connector
- Hose connector ring
- Suction hose
- Floating ball
- Suction filter
- Switch lever
- Release button
- Bucket clamp
- Detergent bottle
- Battery unlock button
- Battery
- Battery LED indicators button
- Battery LED indicators
- Charger
- Charger LED indicators
ASSEMBLY
- Before any work on the power tool, remove the battery.
- The battery must be charged before first use.
Assembly adjustable spray nozzle and lance exten-station

- Assembly the lance extension (2) onto the pressure washer (1).
- Assembly the adjustable spray nozzle (3) onto the lance extension (2).
Inserting the battery into the machine 
Ensure that the exterior of the battery is clean and dry before connecting to the charger or machine.
- Insert the battery (15) into the base of the ma-chine as shown in Fig. C.
- Push the battery further forward until it clicks into place.
Removing the battery from the machine (Fig. C)
- Push the battery to unlock button (14).
- Pull the battery out of the machine like shown in Fig. C.
Checking the battery charging status (Fig. D)
- To check the battery charge status, push the button (16) on the battery shortly.
- The battery has 3 lights indicating the charge level, the more lights that burn, the more charge the battery has left.
- When the lights are not burning it means the battery is empty and must be charged immediately.
Charging the battery with the charger (Fig. D)
- Take the battery (15) from the machine.
- Turn the battery (15) to an upside-down position and slide it onto the charger (18) as shown in Fig. D.
- Push the battery until it is fully pushed into the slot.
- Plug the charger plug into an electrical outlet and wait for a while. The LED indicators (19) on the charger (18) will lighten up and show the charger status.
| Red LED Status | Green LED status | Charger status |
| Off | Off | No power |
|
Off |
On | Standby mode: – No battery is inserted or, – Battery inserted but charging has finished |
| On | Off | Battery charging in progress |
- Fully charging the 2Ah battery may take up to 60 minutes.
- Fully charging the 4Ah battery may take up to 120 minutes.
After the battery is fully charged remove the charger plug from the outlet and remove the battery from the charger. When the machine is not being used over a longer period of time it is best to store the battery in charged condition.
OPERATION
Connecting the water supply
- This unit is to be used with a cold-water source only!
- The pressure washer must only be used with clean water; use of unfiltered water or corrosive chemicals will damage the pressure washer.
- Ensure that you have a suitable water supply to feed the pressure washer. Check that all connections are tight and there are no leaks in the hose.
You can enable the water supply via a water tank (or pond, rain barrel, etc.) or via a water tap. Water tank (water suction function)
Clean the suction filter (9) at regular intervals, and check it for damage. Otherwise, its function can be impaired. When water is supplied via a water tank, pond, rain barrel, etc. , the assembled suction hose (7) must be used. Only clear fresh water may be used.
- Connect the assembled suction hose (7) to the pressure washer, place the hose connector (5) on to the water inlet (4).
- Lower the suction filter (9) into water. Ensure there are no obstructions around the suction fil-ter (9). Move the float ball (8) in such a way that the suction filter (9) does not touch the water bottom. The suction filter (9) must be placed at least 20 cm from the water bottom to prevent the suction of sand. When using a water tank, rain barrel or bucket, you can secure the hose by using the bucket clamp (12).
- Check that the hose has no kinks in it.
- The pressure washer is now ready for use.
Water tap
Use the device on a domestic water connection with a maximum pressure of 5 bar. The supply tap should be fully open.
- Ensure that you have a suitable water supply to feed the pressure washer.
- Connect the water supply hose (not included) to the water inlet (4).
- Connect the water supply hose (not included) to the water supply.
- Turn on the water and heck that the hose has no kinks in it.
- The pressure washer is now ready for use.
Switching the pressure washer on/off 
The motor of this pressure washer will NOT run. It will only operate when the trigger is squeezed. Before starting make sure the pressure washer is connected to a water source. Dry running will damage the pressure washer!
- To start the pressure washer, press and hold the release button (11) and press the switch lever (10).
- To stop the pressure washer, release the switch lever (10).
Adjusting the nozzle 
Water may be sprayed out of the nozzle (3) either linearly or in a fan shape. Turn on the pressure first, and then adjust the nozzle (3).
Using detergents (Fig G, A) 
The detergent bottle (13) will allow you to apply many forms of liquid detergent onto the work surface.
- Remove the detergent dispenser of the detergent reservoir and fill with liquid detergent only. Do not put any water into the reservoir. The detergent bottle (13) will mix water and detergent automatically.
- 2. Insert the end of the detergent bottle (13) into the pressure washer, and push and turn in the clockwise direction to lock the detergent bottle (13) and pressure washer together.
- When finished applying the detergent to the work surface, it is possible to spray off the detergent by using the adjustable spray nozzle (3).
Finish operation (Fig. A)
- After use (when water is supplied via a water tank, pond, rain barrel, etc.) allow the pressure washer to run using clean water for 2 – 3 minutes in order to remove residues and particles that may have accumulated in the machine and hose. This is not necessary when used with clean tap water.
- To stop the pressure washer, release the switch lever (10).
- Turn off the water supply.
- Remove the battery from the machine.
- Press and hold the release button (11) and press the switch lever (10) to depressurize and drain the system.
- Disconnect the hose from the pressure washer.
- Wipe all surfaces of the unit and accessories with a damp clean cloth.
MAINTENANCE
Before cleaning and maintenance, always switch off the machine and remove the battery pack from the machine. Clean the machine casings regularly with a soft cloth, preferably after each use. Make sure that the ventilation openings are free of dust and dirt. Remove very persistent dirt using a soft cloth moistened with soapsuds. Do not use any solvents such as gasoline, alcohol, ammonia, etc. Chemicals such as these will damage the synthetic components.
- Suction filter
The suction filter (9) must be inspected regularly, so as to avoid blockage and restriction of the water supply to the pressure washer. - Cleaning nozzle
When the nozzle (3) is clogged, it may cause failure. The nozzle can be cleaned by inserting a small pin into the tip to remove filth. - Storage and frost protection
The pressure washer and accessories that are not completely drained can be destroyed by frost. Completely drain the pressure washer and accessories and protect them against frost. Keep the pressure washer in well-ventilated dry premises with a temperature not going below +5ºC. When not in use, keep this appliance stored in a safe place out of reach of children. - ENVIRONMENT
Faulty and/or discarded electrical or electronic apparatus have to be collected at the appropriate recycling locations. - Only for EC countries
Do not dispose of power tools into domestic waste. According to the European Guideline 2012/19/EC for Waste Electrical and Electronic Equipment and its implementation into national right, power tools that are no longer usable must be collected separately and disposed of in an environmentally friendly way. - WARRANTY
VONROC products are developed to the highest quality standards and are guaranteed free of defects in both materials and workmanship for the period lawfully stipulated starting from the date of original purchase. Should the product develop any failure during this period due to defective material and/or workmanship then contact VONROC directly.
The following circumstances are excluded from this guarantee:
- Repairs and or alterations have been made or attempted to the machine by unauthorized service centers;
- Normal wear and tear;
- The tool has been abused, misused, or improperly maintained;
- Non-original spare parts have been used.
CAUTION: Read the instructions before using the machine.
This constitutes the sole warranty made by the company either expressed or implied. There are no other warranties expressed or implied which extend beyond the face hereof, herein, including the implied warranties of merchantability and fitness for. We declare under our sole responsibility that this product is in conformity with directive 2011/65/EU of the European Parliament and of the Council of 8 June on the restriction of the use of certain hazardous substances in electrical and electronic equipment is in conformity and accordance with the following standards and regulations:
WWW.VONROC.COM.
©2022 VONROC
VONROC PW508DC Pressure Washer


















