

SAFETY INSTRUCTIONS
IMPORTANT
YOUR SAFETY AND THE SAFETY OF OTHERS ARE VERY IMPORTANT.
We have provided many important safety messages in this manual and on your appliance. Always read and obey all safety messages.
WARNING
- This is the safety alert symbol.
- This symbol alerts you to potential hazards that can kill or hurt you and others.
- All safety messages will follow the safety alert symbol and either the word “DANGER,” “WARNING” or “CAUTION.”
- An immediately hazardous situation, which, if not avoided, may result in death or serious bodily injury.
- A potentially hazardous situation, which, if not avoided, could result in death or serious bodily injury.
- A potentially hazardous situation, which, if not avoided, may result in moderate or minor injury.
- All safety messages will tell you what the potential hazard is, how to reduce the chance of injury, and what can happen if the instructions are not followed.
- WARNING: Cancer and Reproductive Harm -l, ll www.P65Warnings.ca.gov
STATE OF CALIFORNIA PROPOSITION 65 WARNINGS:
- WARNING: This product contains one or more chemicals known to the State of California to cause cancer.
- WARNING: This product contains one or more chemicals known to the State of California to cause birth defects or other reproductive harm.
INSTALLATION REQUIREMENTS
TOOLS AND PARTS
Gather the required tools before starting installation. Read and follow the instructions provided.
TOOLS NEEDED
- Tape Measure
- Straightedge
- Pencil
- Philips Head Screwdriver
- Level
- Wire Cutters
- Wire Stripper
- Hand or Sabre Saw
- l” Hole Saw
- Drill and Drill Bit
- Safety Gloves
- Goggles
- Volt Meter (0-250VAC)
PARTS PROVIDED
| PARTS | QTY |
| l” Screws | 2 |
| Screw Inserts | 2 |
TECHNICAL DATA
| ELECTRICAL RATINGS AND MAXIMUM CONNECTED LOAD | ||
| @ 240 Volts 60 Hz | 13.3 A | 3200W |
| @ 208 Volts 60 Hz | 11.7 A | 2400W |
LOCATION REQUIREMENTS
IMPORTANT: Observe all governing codes and ordinances.
- Given cabinet opening dimensions must be used. Given dimensions provide minimum clearance for oven.
- Recessed installation area must provide complete enclosure around the recessed portion of the oven.
- The oven support surface must be a minimum ¾” (2 cm) thick plywood platform. The platform must support 100 lbs (45 kg) and be solid, level and flush with the bottom of the cabinet cutout.
- Grounded electrical supply is required. See Electrical Requirements section.
- Electrical supply junction box should be located a maximum 3″ (7.6 cm) below the support surface when the oven is installed in a wall cabinet. The support surface should have a minimum l” (2.5 cm) diameter hole drilled in the right rear or left rear corner to pass the appliance cable through to the junction box.
- NOTE: For undercounter installation, it is recommended that the junction box be located in the adjacent right or left cabinet. If you are installing the junction box on rear wall behind oven, it is recommended that the junction box be recessed and located in the upper center of the cabinet.
- IMPORTANT: To avoid damage to your cabinets, check with your builder or cabinet supplier to ensure the materials used will not discolor, delaminate or sustain other damage. This oven has been designed in accordance with the requirements ofUL and CSA International and complies with the maximum allowable wood cabinet temperatures of 194°F (90°C).
PRODUCT DIMENSIONS
| LETTER | DIMENSION |
| A | 233/16″ (58.9 cm) Height (overall) |
| B | 2111/16″ (55.0 cm) Width (recessed) |
| C | 223/s” (56.7 cm) Height (recessed) |
| D | 227/16″ (57.0 cm) Depth (recessed) |
| E | 237/16″ (59.5 cm) Width (overall) |
| F | 247/16″ (62.1 cm) Depth (overall) |
![]() | |
INSTALLATION REQUIREMENTS
STANDARD INSTALLATIONS
OPENING DIMENSIONS
| LETTER | NAME | DIMENSION |
| A | Cutout Width | 22″ (55.9 cm) |
| B | Cutout Depth | 24″ (61 cm) |
| C | Cutout Height | 2219/32″- 23″ (57.5- 58.5 cm) |
| D | Floor to Bottom of Cutout | 34″ (86.5 cm) |
| E | Minimum Spacing | l /211 (1.3 cm) |
![]() | ||
FLUSH INSTALLATIONS
OPENING DIMENSIONS
| LETTER | NAME | DIMENSION | |
| A | Cutout Width | 2311/16″ (60.2 cm) | |
| B | Cutout Depth | 24″ (61 cm) | |
| C | Cutout Height | 235/1611 (59.2 cm) | |
| D | Floor to Bottom of Cutout | 34″ (86.5 cm) | |
| E | Minimum Spacing | 1/2” (1.3 cm) | |
| F | Mounting Cleat Opening Width | 22″ (55.88 cm) | |
| G | Cabinet Face to Cleat | 11/s” (2.9 cm) | |
![]() | |||
![]() | |||
ELECTRICAL REQUIREMENTS
If codes permit the use of a separate ground wire, it is recommended that a qualified electrical installer evaluate the ground path to ensure it is adequate and the wire gauge is in accordance with local codes.
Do not use an extension cord.
IN U.S.A.
Ensure the electrical connection and wire size are adequate and in conformance with the National Electrical Code, ANSI/ NFPA No. 70-latest edition and all local codes and ordinances.
- A copy of the above code standards can be obtained from
- National Fire Protection Association 1 Batterymarch Park
- Quincy, MA 02269
IN CANADA
- Ensure the electrical connection and wire size are adequate and in conformance with CSA standard C22.l, Canadian Electrical Code, Part 1 – latest edition, and all local codes and ordinances.
A copy of the above code standards can be obtained from:
- Canadian Standards Association
- 178 Rexdale Blvd.
- Toronto, ON M9W 1R3 CANADA
WARNING: ELECTRICAL SHOCK HAZARD
- The electrical power to the oven branch circuit must be shut off while line connections are being made.
- DO NOT use an extension cord with this appliance.
- Electrical ground is required on this appliance. The free end of the green wire (the ground wire) must be connected to a suitable ground. This wire must remain grounded to the oven.
- If cold water pipe is interrupted by plastic, non metallic gaskets, union connections or other insulating materials, DO NOT use for grounding.
- DO NOT ground to a gas pipe.
- DO NOT have a fuse in the NEUTRAL or GROUNDING circuit. A fuse in the NEUTRAL or GROUNDING circuit could result in an electrical shock.
- Check with a qualified electrician if you are in doubt as to whether the appliance is properly grounded.
- Failure to properly ground appliance could result in death, fire or electric shock.
ELECTRICAL CONNECTION
- To properly install your oven, determine the type of electrical connection you will be using and follow the instructions provided for it here.
- Oven must be connected to the proper electrical voltage and frequency as specified on the model/serial number rating plate. All models are dual rated, and designed to be connected to either 208/240V AC, 60Hz, 3-wire or 4-wire, two phase power supply.
CIRCUIT REQUIRED
- 208V, 60Hz – 12AMP
- 240V, 60Hz – 15AMP
- The electrical supply should be a 3-wire or 4-wire, two-phase AC. Install a suitable conduit box (not furnished). An appropriately sized, UL conduit connector must be used to correctly attach the conduit to the junction box.
- IMPORTANT: Local Codes vary. Electrical connections and grounding must comply with all applicable local codes.
- If local codes permit grounding through the electrical supply neutral, connect both the white neutral wire and the green ground wire from the oven to the white neutral electrical supply wire.
UNPACK THE OVEN
WARNING: Excessive Weight Hazard
- Two or more people are necessary to move and install oven.
- Attempting to move or install oven alone can result in back or other injury.
- With help, remove the oven and set it on cardboard to avoid floor damage.
NOTE: Do not use the handle or any portion of the front frame for lifting. - Remove the shipping materials, protective film and/or tape from the oven.
- Remove the hardware package from inside the bag containing literature.
- Remove oven door before installation.
- Remove and set aside racks and other parts from inside the oven.
- With help, move the oven and cardboard close to the oven’s final location.
ELECTRICAL CONNECTION
WARNING: ELECTRICAL SHOCK HAZARD
- Disconnect power before servicing.
- Use 8 gauge copper or 6 gauge aluminum wire.
- Electrically ground range.
- Failure to do so can result in death, fire or electrical shock.
- This appliance must be installed and grounded by a qualified technician. Ask your dealer to recommend a qualified technician or an authorized repair service.
- This appliance is manufactured with a green GROUND wire connected to the oven chassis. After ensuring the power has been turned off, connect the flexible conduit from the oven to the junction box using a UL listed conduit connector. The Grounded Neutral and Ungrounded Neutral Graphics on the following pages and the instructions provided present the most common way of connecting the ovens. Local codes and ordinances take precedence over these instructions. Complete electrical connections according to local codes and ordinances.
3-WIRE CONNECTION (GROUNDED NEUTRAL)
WARNING: ELECTRICAL SHOCK HAZARD
- Grounding through the neutral conductor is prohibited for new branch-circuit installations (1996 NEC), mobile homes and recreational vehicles, or in areas where local codes prohibit grounding through the neutral conductor. For installations where grounding through the neutral conductor is prohibited, see the Ungrounded Neutral graphic.
- Use grounding terminal or lead to ground unit.
- Connect neutral terminal or lead to branch circuit neutral in usual manner. Failure to do so could result in death, fire or electric shock.
3-WIRE CABLE FROM HOME POWER SUPPLY -U.S. ONLY
- IMPORTANT: Use the 3-wire cable from home power supply where local codes permit a 3-wire connection.
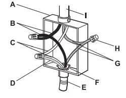
GROUNDED NEUTRAL
- A Junction Box
- B Black Wires
- C Neutral (White) Wires
- D Ground (Green or Bare) Wire
- E Cable from Oven
- F UL Listed Conduit Connector
- G Red Wires
- H UL Listed Wire Connectors
- I House Electrical Supply
- Disconnect power before servicing.
- Connect the 2 black wires B together using a UL listed wire connector.
- Connect the 2 neutral (white) wires C and the ground (green or bare) wire D (of the oven cable) using a UL listed wire connector.
- Connect the 2 red wires G together using a UL listed wire connector.
- Install junction box cover.
4-WIRE CONNECTION (UNGROUNDED NEUTRAL)
4-WIRE CABLE FROM HOME POWER SUPPLY
IMPORTANT: Use the 4-wire cable from home power supply in the U.S. where local codes do not allow grounding through neutral, New Branch circuit installations (1996 NEC), mobile homes and recreational vehicles, new construction and in Canada.
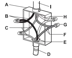
UNGROUNDED NEUTRAL
- A Junction Box
- B Black Wires
- C Red Wires
- D Cable from Oven
- E UL listed or CSA Approved Conduit Connector
- F Ground (Green or Bare) Wires
- G UL Listed Wire Connectors
- H Neutral (White) Wires
- I House Electrical Supply
- Disconnect power before servicing.
- Connect the 2 black wires B together using a UL listed wire connector.
- Connect the 2 red wires C together using a UL listed wire connector.
- Connect the 2 neutral (white) wires H together using a UL listed wire connector.
- Connect the ground (green or bare) wire F from the oven cable to the ground (green or bare) wire (in the junction box) using a UL listed wire connector.
- Install junction box cover.
INSTALL OVEN
WARNING: Excessive Weight Hazard
- Two or more people are necessary to move and install oven.
- Attempting to move or install oven alone can result in back or other injury.
- With help, lift the oven partially into the cabinet cutout. Use the oven opening as an area to grip.
- NOTE: Push against seal area of the oven front frame when pushing the oven into the cabinet. Do not push against the outside edges.

- NOTE: Push against seal area of the oven front frame when pushing the oven into the cabinet. Do not push against the outside edges.
- Push the oven completely into the cabinet until the back surface of the front frame touches the front wall of the cabinet. Center the oven within the cabinet cutout.
NOTE: With the oven door open, you will see two holes, one on each side of the front frame of the oven door opening.
- Drill 1/s” pilot holes through the 2 holes in the front frame and into the front wall of the cabinet.
- Using the 2 screws provided, install the oven to the cabinet. Replace the oven door and racks.
- Reconnect power to the oven.
- SHARP ELECTRONICS CORPORATION 100 Paragon Drive Montvale, New Jersey 07645 USA
- SHARP ELECTRONICS OF CANADA LTD 335 Britannia Road East Mississauga, Ontario L4Z 1W9 Canada























