Schumacher Electric SEV1600HW Level 2 EV Wall Charger
IMPORTANT SAFETY INSTRUCTIONS
SAVE THESE INSTRUCTIONS
WARNING – When using electric products, basic precautions should always be followed, including the following. This manual contains important instructions for models SEV1600HW, SEV1600P1450, and SEV1600P650 that must be followed during installation, operation, and maintenance of the unit.
- SAVE THESE INSTRUCTIONS – This manual contains important safety and operating instructions.
- Read all the instructions before using this product.
- This device should be supervised when used around children.
- Do not put fingers into the electric vehicle connector.
- Do not use this product if the flexible power cord or EV cable is frayed, has broken insulation, or any other signs of damage.
- Do not use this product if the enclosure or the EV connector are broken, cracked, open or show any other indication of damage.
- Do not operate charger at temperatures above 122°F/50°C.
- For safe installation use 6 AWG, 90°C rated copper wire.
- Do not operate charger if it has received a sharp blow, been dropped, or otherwise damaged in any way; take it to a qualified service person.
- Do not disassemble charger; employ a qualified service person when service or repair is required. Incorrect reassembly may result in a risk of electric shock or fire.
- Use the charger only for charging compatible EV vehicles.
- Changes or modifications not expressly approved by Schumacher Electric Corporation could void the user’s authority to operate this device.
- NOTE: This equipment has been tested and found to comply with the limits for a Class B digital device, pursuant to part 15 of the FCC Rules. These limits are designed to provide reasonable protection against harmful interference in a residential installation. This equipment generates, uses, and can radiate radio frequency energy and, if not installed and used in accordance with the instructions, may cause harmful interference to radio communications. However, there is no guarantee that interference will not occur in a particular installation. If this equipment does cause harmful interference to radio or television reception, which can be determined by turning the equipment off and on, the user is encouraged to try to correct the interference by one or more of the following measures:
- Reorient or relocate the receiving antenna.
- Increase the separation between the equipment and receiver.
- Connect the equipment into an outlet on a circuit different from that to which the receiver is connected.
- Consult the dealer or an experienced radio/TV technician for help.
GETTING STARTED
Before installing or operating the Schumacher Level 2 EV Wall Charger, use the QR code on the right to access the most up-to-date installation and operating instructions, product information, and more.
DOWNLOAD THE APP
Download the SchuPowerTM app to monitor your EV charging status or track your vehicle’s charging history. Follow the QR code for a link to the app.
FEATURES

*Tesla, Inc. is an independently owned and operated company. This product is not manufactured, approved, or endorsed by Tesla, Inc.
IN THE BOX
Please check to ensure all parts are included. If any parts are missing, please return to retailer or contact Schumacher Electric at 1-800-621-5485.
- Charging station
- Output cable with EV connector
- Cord with NEMA 14-50 plug (model SEV1600P1450 only)
- Cord with NEMA 6-50 plug (model SEV1600P650 only)
- Mounting Template
- Cable cradle
- Two 5.5 mm (.22 in.) x 50 mm (2 in.) lag screws for wall mounting
- Two 4 mm (.16 in.) x 16 mm (.63 in.) self-tapping screws to attach the cable cradle

TOOLS NEEDED FOR INSTALLATION
YOU WILL NEED THE FOLLOWING TO COMPLETE INSTALLATION OF THE SCHUMACHER EV2 WALL CHARGER.
- Stud finder
- Pencil
- Tape
- Level
- Drill
- Phillips head screwdriver


INSTRUCTIONS PERTAINING TO A RISK OF ELECTRIC SHOCK
For a permanently connected product: MODEL SEV1600HW ONLY
GROUNDING INSTRUCTIONS
This product must be connected to a grounded, metal, permanent wiring system, or an equipment-grounding conductor must be run with the circuit conductors and connected to the equipment-grounding terminal or lead on the product.
For a grounded, cord-connected product MODELS SEV1600P1450 AND SEV1600P650 ONLY
GROUNDING INSTRUCTIONS
This product must be grounded. If it should malfunction or break down, grounding provides a path of least resistance for electric current to reduce the risk of electric shock. This product is equipped with a cord having an equipment-grounding conductor and a grounding plug. The plug must be plugged into an appropriate outlet that is properly installed and grounded in accordance with all local codes and ordinances.
WARNING – Improper connection of the equipment-grounding conductor is able to result in a risk of electric shock. Check with a qualified electrician or serviceman if you are in doubt as to whether the product is properly grounded. Do not modify the plug provided with the product – if it will not fit the outlet, have a proper outlet installed by a qualified electrician.
INSTALLATION INSTRUCTIONS
CAUTION: The Schumacher Level 2 EV Wall Charger must be installed by a licensed electrician. Any changes to the wall charger’s electrical settings (page 13) must be made by a licensed electrician.
CHOOSING A LOCATION
- This device shall be mounted at a sufficient height from grade such that the height of the storage means for the coupling device is located between 600 mm (24 inches) and 1.2 m (4 feet) from grade.
- Before starting the installation, choose a general mounting location for the unit. The unit may be installed indoors or outdoors. Ensure that the unit is within easy reach of where the hardwired circuit will be installed by a licensed electrician or where there is an existing NEMA 14-50 or NEMA 6-50 outlet. The cord or wiring leading into the charging station should have some slack. The mounting location should also allow the output cable with EV connector to have some slack while in use.
- Using a stud finder, locate a stud within the general mounting location identified in the previous step. Use a pencil to mark the location of the stud.
- Next, use a level and a pencil to mark a line to designate the top of the charging station when installation is complete. This is usually about 50 inches above the finished floor. Use tape to attach the mounting template so that the top edge of the template lines up with the pencil line you just made.

ASSEMBLING THE CHARGING STATION
- Lay the charging station on a flat surface and remove the lower front cover. Unscrew the single M4 screw at the bottom of the unit. Set the screw aside for reassembly. Then, slide the cover down and lift to disengage the tabs at the top of the front cover. Set aside the lower front cover for reassembly.

- Remove the wiring access panel located underneath the lower front cover by unscrewing three M4 screws from the front of the charging station. Set the screws aside for reassembly. Lift off the wiring access panel and set aside for reassembly.

- Turn over the charging station before installing the cable cradle. Align the cable cradle’s screw holes with the screw holes on the back of the charging station. Use the two 4 mm x 16 mm screws to attach the cable cradle.

Note: If desired, the cable cradle may be mounted to the wall separate from the unit. Be sure to mount the cable cradle securely to a stud or use heavy-duty drywall anchors.
HARDWIRING THE POWER SUPPLY PERMANENTLY TO
THE CHARGING STATION (MODEL SEV1600HW ONLY)
Turn off the power to circuit before installation. Do not restore power until installation is complete. Failure to do so could result in injury or death.
- When installing a hardwired circuit, Schumacher Electric recommends that the AC input uses a conduit into the rear opening of the charging station.
- Turn off the power to the circuit before mounting the charging station.
- Feed the conduit and wires through the back of the charging station, removing the back head plug. Feed the cables through the back of the charging station until the silver conductors are no longer visible. Note: If installing the charging station outdoors and using the back opening to route the conduit, apply liquid sealant or a gasket and nut around the rear opening to prevent water ingress.
- Inside the wiring access panel, there are two terminal blocks. Securely insert wires into the left-hand terminal block as indicated by the wiring diagram below.

ATTACHING THE CORD AND PLUG TO THE CHARGING STATION (MODELS SEV1600P1450 AND SEV1600P650 ONLY)
- Ensure that you have an existing NEMA outlet that matches the model you are installing. Alternatively, a licensed electrician may install a NEMA outlet that corresponds with the specifications of your model. Model SEV1600P650 has a NEMA 6-50 plug and model SEV1600P1450 has a NEMA 14-50 plug. In addition, Schumacher Electric recommends that a licensed electrician confirms that any new or existing outlet complies with all local electrical codes and has a designated circuit breaker compatible with the specifications and requirements of the EV wall charger. See the sections Final Steps and Specifications for more information. for more information.

- Route the cord through the left-hand opening on the bottom of the charging station.
- Inside the wiring access panel, there are two terminal blocks. Securely insert wires into the left-hand terminal block as indicated by the wiring diagram below.
- Feed the cord up into the charging station and secure by screwing the outer plastic nut to the threaded ring. The threaded ring must be securely tightened

CONNECTING THE OUTPUT CABLE TO THE CHARGING STATION
- The output cable should have five wires visible at the end opposite the EV connector. Insert the wires through the right-hand opening on the bottom of the charging station.
- Insert the wires into the appropriate connectors in the right terminal block as illustrated in the wiring diagram below.

- Insert the two-pin plug (orange and blue wires) into the connector to the left of the right terminal block.
- Feed the output cable up into the charging station and secure by screwing the outer plastic nut to the threaded ring. The threaded ring must be securely tightened.
MOUNTING THE CHARGING STATION TO THE WALL
- Using a drill fitted with a 5.5 mm or 7/32 inch drill bit, drill two pilot holes into the stud where indicated by the mounting template.
- Drive the 5.5 mm x 50 mm lag screw without a rubber washer into the top pilot hole, leaving the head of the screw 6-7 mm above the wall surface.

- Lift the charging station and then use the notch on the back of the unit to hang the unit from the screw affixed to the stud.

- Align the charging station’s lower mounting hole with the lower pilot hole you drilled in step 1. Drive the 5.5 mm x 50 mm lag screw with the rubber washer through the lower mounting hole and into the pilot hole. Tighten until the charging station is secure.

FINAL STEPS
For models SEV1600HW, SEV1600P1450, and SEV1600P650, the following steps must be completed by a licensed electrician.
- Before starting, the licensed electrician should consult all applicable codes for breaker and wire sizing requirements. Set the amperage of the unit according to the connected dedicated breaker associated with the hardwired connection or NEMA outlet. Using the table above, determine the voltage and amperage of the installation. Then, set the unit’s DIP switch following the diagram below that corresponds with the dedicated breaker’s voltage and amperage and the model’s requirements.

- All models’ default current settings are set to 32A.
- Models SEV1600P1450 and SEV1600P650 should not use a current setting greater than 40A.
- A licensed electrician should set the amperage of the unit according to the connected dedicated breaker associated with the hardwired connection or NEMA outlet. Using the table on the previous page, determine the voltage and amperage of the installation. Then, set the unit’s DIP switch following the diagram below that corresponds with the dedicated breaker’s voltage and amperage.

- Reattach the wiring access panel you set aside previously. Position the wiring access panel onthe charging station and secure it with three of the M4 screws you removed earlier. Next,
reattach the lower front cover. Insert the tabs into the slots on the front of the charging station and slide the cover up and in place. Secure the lower front cover at the bottom of the charging station with the last M4 screw.
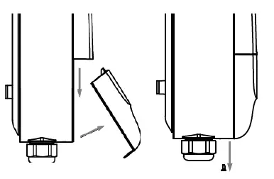
- Coil the output cable into the cable cradle and insert the EV connector into the dock on either side of the charging station.
- Turn the power back on at the circuit breaker if your charging station was hardwired (SEV1600HW). For models SEV1600P1450 and SEV1600P650, plug the unit into the corresponding live NEMA outlet. If correctly installed, the Power LED will illuminate a steady green.

OPERATING INSTRUCTIONS
- Check to make sure the wall charger’s Power LED is illuminated a steady, solid green color.
- Remove charging gun from the wall charger’s dock.
- Connect the charging gun to your vehicle’s charging port.
Note: The charging gun is fitted with a universal SAE-J1772 connector that will fit most electric vehicles. Tesla vehicles will require an adapter. - Charging begins automatically. Your electric vehicle will control the charging progress.
- When charging has stopped, remove the charging gun from your vehicle’s charging port and return it to the wall charger’s dock.
- Make sure the output cable is neatly stored in the cable cradle.
- To monitor your EV charging status or track your vehicle’s charging history, use the wall charger’s Wi-Fi/Bluetooth connection and the SchuPowerTM app. Simply download the SchuPowerTM app and follow the app’s instructions.
- Warning: Do not tamper with the charger or its components.
LED BEHAVIORS
- Power LED (green) solid: Power is connected to the wall charger.
- Charging Gun LED (green) fade in/out: Charging is in progress.
- Charging Gun LED (green) solid: Connected to vehicle. The charging process is complete, paused, or in scheduled charging mode.
- Charging Status LED (blue) solid: The wall charger is powered on and in standby mode.
- Charging Status LED (green) fade in/out: Charging is in progress.
- Charging Status LED (cyan) flashing: The charging process is complete or in scheduled charging mode.
- Charging Status LED (red) flashing: Error. Refer to the troubleshooting guide for guidance.
- Wi-Fi LED (blue) solid: The wall charger is connected to the saved Wi-Fi network.
- Wi-Fi LED (blue) flashing: The wall charger’s Wi-Fi connection needs to be configured. This can be completed through the SchuPowerTM app.
- Wi-Fi LED (blue) off: The wall charger cannot connect to the saved Wi-Fi network.
TROUBLESHOOTING
LED Behavior Problem Solution
| Power LED off | No AC power | Check the breaker and, for models SEV1600P1450 and SEV1600P650, make sure the plug is fully inserted. Have a licensed electrician connect the charging station to AC power. |
|
Charging Status LED flashes red two (2) times |
Leakage | Re-power the unit by turning the circuit breaker off and on again for model SEV1600HW. For models SEV1600P1450 and SEV1600P650, unplug the charging station and then plug it back in. If the fault still exists, please consult a licensed electrician for help or contact our support service. |
| Charging Status LED flashes red three (3) times | Overvoltage | Unplug the charging gun and then reinsert it into your vehicle’s charging port. If the fault still exists, please consult a licensed electrician to check the AC supply. |
| Charging Status LED flashes red four (4) times | Undervoltage | Unplug the charging gun and then reinsert it into your vehicle’s charging port. If the fault still exists, please consult a licensed electrician to check the AC supply. |
| Charging Status LED flashes red five (5) times | Overcurrent | Unplug the charging gun and then reinsert it into your vehicle’s charging port. |
| Charging Status LED flashes red six (6) times | Over temperature | Unplug the charging gun and then reinsert it into your vehicle’s charging port. If the fault still exists, unplug the charging gun and allow the unit to cool down before attempting to charge again. |
| Charging Status LED flashes red seven (7) times |
Ground fault | Unplug the charging gun and then reinsert it into your vehicle’s charging port. If the fault still exists, please consult a licensed electrician to check the ground connection. |
| Charging Status LED flashes red eight (8) times | Relay fault | Unplug the charging gun and then reinsert it into your vehicle’s charging port. If the fault still exists, contact our support service. |
| Charging Status LED flashes red nine (9) times | Meter chip fault | Unplug the charging gun and then reinsert it into your vehicle’s charging port. If the fault still exists, contact our support service. |
SPECIFICATIONS
In/Out Voltage ……………………………………………………………. 208V/240V AC, 60Hz
SEV1600HW Rated Current……………………………………………………………………… 50A
SEV1600P1450 Rated Current…………………………………………………………………. 40A
SEV1600P650 Rated Current…………………………………………………………………… 40A
SEV1600HW Rated Output Power ……………………………………………………. 12.0kW
SEV1600P1450 Rated Output Power …………………………………………………. 9.6kW
SEV1600P650 Rated Output Power ………………………………………………….. 9.6kW
Configurable Current ………………………………………………….. 16/24/32/40/48/50A
Configurable Power ………………………………………….. 3.8/5.8/7.7/9.6/11.5/12.0kW
Operating Temperatures ……………………………… -22°F to 122°F/-30°C to 50°C
Plug Type …………………………………. NEMA 6-50P (model SEV1600P650 only)
and NEMA 14-50P (model SEV1600P1450 only)
Cable Length …………………………………………………………………………………………. 25 feet
Charging Connector ………………………………………………….. SAE-J1772 (Universal)
Installation Type ……………………………………………………………………. Indoor/Outdoor
IP Rating …………………………………………………………………………………… IP66 enclosure
Weather Resistance …………………………………………………………………… 3R/Raintight
Warranty ………………………………………………………………………………… 3-Year Warranty
MAINTENANCE INSTRUCTIONS
Occasionally cleaning the case of the wall charger with a soft cloth will keep the finish shiny and help prevent corrosion.
THREE-YEAR LIMITED WARRANTY
(Schumacher Electric Corporation Product)
Go to schumacherelectric.com to register your product online.
THIS LIMITED WARRANTY GIVES YOU SPECIFIC LEGAL RIGHTS AND YOU MAY ALSO HAVE OTHER RIGHTS, WHICH VARY FROM STATE TO STATE. WE WARRANT THAT DURING THE WARRANTY PERIOD, THE PRODUCT WILL BE FREE FROM DEFECTS IN MATERIALS AND WORKMANSHIP. WE LIMIT THE DURATION AND REMEDIES OF
ALL IMPLIED WARRANTIES, INCLUDING WITHOUT LIMITATION
THE WARRANTIES OF MERCHANTABILITY AND FITNESS FOR
A PARTICULAR PURPOSE TO THE DURATION OF THIS EXPRESS LIMITED WARRANTY. SOME STATES DO NOT ALLOW LIMITATIONS ON HOW LONG AN IMPLIED WARRANTY LASTS, SO THE ABOVE LIMITATION MAY NOT APPLY TO YOU. OUR RESPONSIBILITY FOR DEFECTIVE GOODS IS LIMITED TO REPAIR OR REPLACEMENT AS DESCRIBED BELOW IN THIS WARRANTY STATEMENT.
WHO MAY USE THIS WARRANTY? Schumacher Electric Corporation located at address 14200 FAA Blvd., Fort Worth, TX 76155
(“Schumacher” or “we”) extends this limited warranty only to the consumer who originally purchased the product from an authorized retailer in the United States, its territories, or Canada (“you”). It does not extend to any subsequent owner or other transferee of the product, including but not limited to anyone that purchases the product after it is resold by an unauthorized retailer or reseller.
WHAT DOES THIS WARRANTY COVER? This limited warranty covers defects in materials and workmanship of the product under normal use and care for the Warranty Period as defined below.
WHAT DOES THIS WARRANTY NOT COVER? This limited warranty does not cover any damage due to: (a) transportation; (b) storage; (c) improper use; (d) failure to follow the product instructions or to perform any preventive maintenance; (e) modifications; (f) unauthorized repair; (g) normal wear and tear; (h) improper installation; (i) external causes such as accidents, abuse, theft, weather, natural disasters, or other actions or events beyond our reasonable control; (j) use of after-market or other accessories with the product not manufactured by Schumacher or approved for use with this product; (k) use of this product for commercial purposes. We reserve the right to revise the design of future products without assuming any obligation to modify or replace any previously manufactured product.
WHAT IS THE PERIOD OF COVERAGE? This limited warranty starts on the date of your purchase and lasts for three years (the “Warranty Period”). The Warranty Period is not extended if we repair or replace the product. We may change the availability of this limited warranty at our discretion, but any changes will not be retroactive.
WHAT ARE YOUR REMEDIES UNDER THIS WARRANTY? With respect to any defective product during the Warranty Period, we will, in our sole discretion, repair or replace such product (or the defective part). The repair or replacement will be free of charge; however, you are responsible for prepaying the shipping charges.
HOW DO YOU OBTAIN WARRANTY SERVICE? It is your obligation to forward the unit, along with proof of purchase and shipping charges prepaid, to Schumacher or its authorized representatives for repair or replacement to occur.
For detailed information on warranty repairs or returns visit 365rma.com.
LIMITATION OF LIABILITY: THE REMEDIES DESCRIBED ABOVE ARE YOUR SOLE AND EXCLUSIVE REMEDIES AND OUR ENTIRE LIABILITY FOR ANY BREACH OF THIS LIMITED WARRANTY. OUR LIABILITY SHALL UNDER NO CIRCUMSTANCES EXCEED THE ACTUAL AMOUNT PAID BY YOU FOR THE DEFECTIVE PRODUCT, NOR SHALL WE UNDER ANY CIRCUMSTANCES BE LIABLE FOR ANY CONSEQUENTIAL, INCIDENTAL, SPECIAL OR PUNITIVE DAMAGES OR LOSSES, WHETHER DIRECT OR INDIRECT. SOME STATES DO NOT ALLOW THE EXCLUSION OR LIMITATION OF INCIDENTAL OR CONSEQUENTIAL DAMAGES, SO THIS LIMITATION OR EXCLUSION MAY NOT APPLY TO YOU.
Visit schumacherelectric.com for replacement parts.
Our dedication to providing the best technology and products is an ongoing commitment. Engineering and design improvements are continually being added to our product line and may change the product appearance and/or specifications at any time.
All images displayed in this manual are unique, for illustration purposes only, and are not intended to represent or reproduce any copyrighted material or images.
The Schumacher logo is a registered trademark of Schumacher Electric Corporation.
SCHUMACHER ELECTRIC CORPORATION 14200 FAA BLVD.
FORT WORTH, TX 76155
1-800-621-5485
SCHUMACHERELECTRIC.COM

IMPORTANT SAFETY INSTRUCTIONS







































