Wireless Soundbar
CASB320
User/Manual
Important Safety Instructions
![]()
Important Safety Instructions
Caution:
To reduce the risk of electric shock, do not dismantle the product and do not expose the apparatus to rain or moisture. No user-serviceable parts inside. Refer servicing to qualified personnel only.
Caution:
The lightning flash within an equilateral triangle is intended to alert you to the presence of uninsulated dangerous voltage within the product’s enclosure that may be of sufficient magnitude to constitute an electric shock to a person or persons.
Important! This symbol alerts you to read and observe important warnings and instructions on the unit or in this manual.
To achieve the utmost in enjoyment and performance, and in order to become familiar with its features, please read this manual carefully before attempting to operate this product. This will assure you years of trouble-free performance and listening pleasure.
Important Notes
This soundbar was specially developed for LED/LCD/Plasma TVs: It should not be used in combination with CRTTV’s (Cathode Ray Tube TVs) in order to avoid image interferences.
The safety and operating instruction manual should be retained for future reference.•
The apparatus should not be exposed to dripping or splashing or placed in a humid atmosphere such as a bathroom.
Do not install the product in the following areas:
- Places exposed to direct sunlight or close to radiators.
- On top of other stereo equipment that radiates too much heat.
- Blocking ventilation or in a dusty area.
- Areas where there is constant vibration.
- Humidor moist places.
- Do not place near candles or other naked flames.
- Operate the product only as instructed in this manual.
- Before turning on the power for the first time, make sure the power adaptor is properly connected.
- For safety reasons, do not remove any covers or attempt to gain access to the inside of the product. Refer any servicing to qualified personnel.
- Do not attempt to remove any screws, or open the casing of the unit; there are no user-serviceable parts inside. Refer all servicing to qualified service personnel.
Safety Instructions
- Read Instructions – All the safety and operating instructions must be read before the product is operated.
- Retain Instructions -The safety and operating instructions should be kept with the product for future reference.
- Heed warnings – All warnings on the product and in the operating instructions should be adhered to.
- Follow instructions – All operating and users’ instructions should be followed.
- Installation – Install in accordance with these instructions.
- Power sources -This product should be operated only from the type of power source indicated by the marking adjacent to the power cord If you are not sure of the type of power supply to your home, consult your product dealer or local power company.
- Grounding – the product is not required to be grounded. Ensure that the plug is fully inserted into the wall outlet or extension cord receptacle to prevent blade or pin exposure.
- Power cord protection – Power-supply cords should be routed so that they are not likely to be walked on, kinked, or pinched by items placed on or against them, paying particular attention to cords from plugs, receptacles, and the point where they exit from the product.
- Overloading – Do not overload wall outlets, extension cords, or multiple sockets, as this can result in a risk of fire or electric shock.
- Ventilation – The product must be properly ventilated. Do not place the product on a bed, sofa, or another similar surface. Do not cover the product with any items such as tablecloths, newspapers, etc.
- Heat -The product should be situated away from heat sources such as radiators, heat registers, stoves, or other products, including amplifiers that produce heat. No naked flame sources, such as lighted candles, should be placed on the apparatus.
- Water and moisture -To reduce the risk of fire or electric shock, do not expose the product to rain, dripping, splashing, or excessive moisture such as in a sauna or bathroom. Do not use this product near water, for example, near a bathtub, washbowl, kitchen sink, laundry tub, in a wet basement, or near a swimming pool (or similar).
- Object and Liquid Entry – Never push objects of any kind into this product through openings, as they may touch dangerous voltage points or short-circuit parts that could result in a fire or electric shock. Never spill liquid of any kind on the product. Do not place any object containing liquid on top of the product
- Cleaning – Unplug the product from the wall outlet before cleaning. Dust in the woofer may be cleaned with a dry cloth. If you wish to use an aerosol cleaning spray, do not spray directly on the cabinet; spray onto the cloth. Be careful not to damage the drive units.
- Attachments – Do not use attachments not recommended by the product manufacturer, as they may cause hazards.
- Accessories – Do not place this product on an unstable cart, stand, tripod, bracket, or table. The product may fall, causing serious injury to a child or adult, and serious damage to the product. Use only with a cart, stand, tripod, bracket, or table recommended by the manufacturer or sold with the product. Any mounting of the product should follow the manufacturer’s instructions and should use a mounting accessory recommended by the manufacturer.
- Moving the product – A product and cart combination should be moved with care. Quick stops, excessive force, and uneven surfaces may cause the product and cart combination to overturn.
- Unused periods -The power cord of the appliance should be unplugged from the outlet during lightning storms or when the apparatus is left unused for a long period of time.
- Servicing – Do not attempt to service this product yourself, as opening
or removing covers may expose you to dangerous voltage or other hazards. Refer all servicing to qualified service personnel. - Please remove the power plug from the main power source or wall power source when not in use. When plugged into a power source, the system is in standby mode, so the power is not entirely cut off.
- Replacement parts – When replacement parts are required, ensure that the service technician has used replacement parts specified by the manufacturer or have the same characteristics as the original Unauthorized substitutions may result in fire, electric shock, or other hazards.
- Mains fuses – For continued protection against fire hazards, use fuses only of the correct type and rating. The correct fuse specification for each voltage range is marked on the product
- Do not turn up the volume while listening to a section with very low-level inputs or no audio signals. If you do, the speaker may be damaged when a peak level section is suddenly played.
- The only means of completely disconnecting the product from the power supply is by removing the power cord from the wall outlet or the product. The wall outlet or the power cord entry to the product must remain freely accessible at all times while the product is in use.
- Try to install the product near a wall socket or extension cord and shall be easily accessible.
- The highest environmental temperature suitable for this product is 35°C.
- ESD hints – If the product may be reset or not reset to the operation of control due to electrostatic discharge, just switch off and reconnect again, or move the product to another location.
- Battery
1)The batteries must not be exposed to excessive heat such as sunshine, fire, or the like.
2)The batteries should be drawn to the environmental aspects of battery disposal.
3)Battery usage CAUTION-to prevent battery leakage which may result in bodily injuries, property damage, or damage to the apparatus: Install all batteries correctly, + and – as marked on the apparatus. Do not mix batteries (old and new or carbon and alkaline, etc.) Remove batteries when the unit is not used for a long time.
Warning
This appliance is not intended for use by persons (including children) with reduced physical sensory or mental capabilities, or lack of experience and knowledge unless they have been given supervision or instruction concerning the use of the appliance by a person responsible for their safety. Children should be supervised to ensure that they do not play with the appliance.
- To prevent possible hearing damage, do not listen to high volume levels for long time periods or a sudden high volume level.
- Never use the device unsupervised! Switch off the device whenever you are not using it, even if this is only for a short while.
- The appliance is not intended to be operated by means of an external timer or separate remote control system.
- If the supply cord is damaged, it must be replaced by the manufacturer, its service agent, or similarly qualified persons in order to avoid a hazard.
- Before operating this system, check the voltage of this system to see if it is identical to the voltage of your local power supply.
- The unit should not be impeded by covering the ventilation opening with items such as newspaper, tablecloths, curtains, etc. Make sure that there is at least 20 cm of space above and at least 5 cm of space on each side of the unit.
- The apparatus must not be exposed to dripping or splashing and that objects filled with liquids, such as vases, must not be placed on the apparatus.
- To prevent fire or shock hazards, do not expose this equipment to hot places, rain, moisture, or dust.
- Do not locate this unit near any water sources e.g. taps, bathtubs, washing machines, or swimming pools. Ensure that you place the unit on a dry, stable surface.
- Do not place this unit close to a strong magnetic field.
- Do not place the unit on an amplifier or receiver.
- Do not place this unit in a damp area as the moisture will affect the life of electric components.
- Do not attempt to clean the unit with chemical solvents as this might damage the finish. Wipe with a clean, dry, or slightly damp cloth.
- When removing the power plug from the wall outlet, always pull directly on the plug, never pull on the cord.
- Depending on the electromagnetic waves used by a television broadcast, if a TV is turned on near this unit while it is also on, lines might appear on the TV screen. Neither this unit nor the TV is malfunctioning. If you see such lines, keep this unit well away from the TV set.
- The mains plug is used as the disconnect device, the disconnect device must remain readily operable.

- 2-digit LED Display
- AUX Input
- OPTICAL Input
- HDMI Input (ARC)
- AC 230V˜50Hz
- Wall mounting Brackets

- Standby
- VOL +
- VOL –
- USB port
Subwoofer

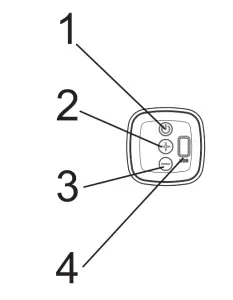
- LED indicator:
Indicates pairing between soundbar and subwoofer - WPS button:
Automatically pairs soundbar with subwoofer - USB port:
FOR SOFTWARE UPGRADE ONLY, not for music - AC In
Pairing Soundbar and Subwoofer
How to pair CASB32O wireless Subwoofer with CASB32O Soundbar
- Connect to AC power to turn on the soundbar, press “STANDBY” and then press “INPUT” to enter into Bluetooth (BT) input mode.Then soundbar is under paring mode with wireless subwoofer.
- Meanwhile, connect to AC power to turn on wireless subwoofer. The Blue LED indicator is flashing Use a small pin to long-press the WPS AUTO PAIR button through the small hole. The blue LED indicator flashes quickly, meaning that the wireless subwoofer is under pairing mode with the soundbar.
- After around 20-30 seconds, the blue LED indicator of the wireless subwoofer will become a constant light without flashing, which means the wireless subwoofer successfully pairs with soundbar. Now you can enjoy your music from this soundbar with a wireless subwoofer system.
- After 1st successful pairing, when you turn on the soundbar and wireless subwoofer again next time, they will pair with each other automatically.
- If you want to pair your CASB320 wireless subwoofer with another CASB320 soundbar, please repeat step 1 to step 3 above, and make sure only one soundbar which you want to pair with that wireless subwoofer is turned on, the other CASB320 soundbars you don’t want to pair with that wireless subwoofer should be turned off or in Standby status.
Remark:
- If the wireless subwoofer is turned on but the soundbar is in Standby status or it is turned off (not connected to AC power), the flashing blue LED indicator of the wireless subwoofer will become constant red after a few minutes, which means the wireless subwoofer has also entered into standby status.
- To avoid sound quality interference caused by wireless signal interference, when you are using CASB320, please keep it at an appropriate distance away from your other wifi device /4G wireless device to avoid wireless signal interference.
- Max connect distance range between the soundbar and wireless subwoofer: 10m in the open space.
Troubleshooting
The appliance doesn’t respond
- Turn it off and wait a few minutes then turn it on again.
No sound
- Check that the Soundbarsystem is not set to Standby.
- Check that the correct source is selected.
- Adjust the volume on the remote control of the soundbar.
- Check TV’s Sound Settings (Procedure may differ depending on the model)
Go to Settings > Sound > Advance settings > Audio Format > change all settings to PCM.
Additionally, change Dolby to PCM wherever it is mentioned.
Turn off the TV and Soundbar for about 10 seconds and turn them on again. Confirm that the new settings have been successfully applied.
No sound/low volume
(computer or personal audio player connected to the AUX jack)
- If the source has volume control, check that this is turned up.
Audio quality is poor after connection with a pairing device
- The reception is poor. Move the device closer to the soundbar or remove any obstacle between them.
Cannot connect with a device via Pairing
- The pairing function of the device is not enabled or it is already connected to another BT device.
No remote control operation
- The batteries may be flat. Try replacing the batteries.
Care and maintenance
After using the soundbar system
Set it to Standby.
Care and cleaning
All care and cleaning operations should be carried out with the unit unplugged from the main power.
The surface of the unit can be cleaned with a barely damp cloth and then dried carefully.
Caution!
Never use abrasives, abrasive cloths, or chemical solvents. Loudspeaker grilles can be cleaned carefully with a soft brush.
Remote Control Functions

- EQ: MUSIC/MOVIE/NEWS/3D
• MUSIC: Select the MUSIC EQ effect
• MOVIE: Select the MOVIE EQ effect
• NEWS: Select the NEWS EQ effect
• 3D: Select the 3D EQ effect - STANDBY
Press for Power On or Standby mode - INPUT
AUX/OPT/HDMI ARC/BT/USB
Select the input - RESET
Press and hold for 3 sec. for Location Retrieval - PAIR (in BT Mode)
Press and hold for 3 sec. to disconnect from the paired device - STOP
In USB mode Press to stop playing - PLAY/PAUSE
In USB or BT mode Press to Play or Pause music - NEXT
In USB or BT mode Press to go to next song - PREV
In USB or BT mode Press to go to previous song - TREBLE –
Treble Decrease button - TREBLE +
Treble Increase button - BASS –
Bass Decrease button - BASS +
Bass Increase button - VOL-
Volume Decrease button - VOL +
Volume Increase button - MUTE
Press to mute sound
How to mount the soundbar on a wall
- Fix wall brackets with screws on the soundbar steadily. For more details, please refer to the picture below.

- Drill two (2) parallel holes in the wall.
The distance between the two holes must be the same as the distance between the two wall brackets on the soundbar.
- Drive the two plastic tubes into the holes in the wall with a hammer.

- Drive the two screws into the plastic tubes ad leave a 3.5-4mm gap between the wall and the screw’s head (screw diameter is 4mm).

- Hang your soundbar with attached wall brackets over the heads of screws in the wall.
Step 1:
Aim the two brackets on the soundbar at the two screws in the wall.
Step 2:
Hang the soundbar over the head of the screws in the wall.

DECLARATION OF CONFORMITY
Radio equipment and telecommunications terminal equipment, Directive 2014/53/EU
Crystal Audio hereby declares that the product, CASB320 Wireless Soundbar, is in conformity with provisions of the Directive 2014/53/ΕU. The complete text of the Declaration of conformity can be found on the following webpage: www.CrystalAudio.com.
The Bluetooth® word mark and logos are registered trademarks owned by Bluetooth SIG Inc. and any use of such marks by Crystal Audio is under license
![]()
![]()





















