Milwaukee Compact Core Drill Stand Instruction Manual
WARNING To reduce the risk of injury, user must read and understand operator’s manual.
GENERAL POWER TOOL SAFETY WARNINGS
WARNING
Read all safety warnings, instructions, illustrations and specifications provided with this power tool. Failure to follow all instructions listed below may result in electric shock, fire and/or serious injury. Save all warnings and instructions for future reference. The term “power tool” in the warnings refers to your mains-operated (corded) power tool or battery-operated (cordless) power tool.
WORK AREA SAFETY
- Keep work area clean and well lit. Cluttered or dark areas invite accidents.
- Do not operate power tools in explosive atmospheres, such as in the presence of flammable liquids, gases or dust. Power tools create sparks which may ignite the dust or fumes.
- Keep children and bystanders away while operating a power tool. Distractions can cause you to lose control
ELECTRICAL SAFETY
- Power tool plugs must match the outlet. Never modify the plug in any way. Do not use any adapter plugs with earthed (grounded) power tools. Unmodified plugs and matching outlets will reduce risk of electric shock.
- Avoid body contact with earthed or grounded surfaces, such as pipes, radiators, ranges and refrigerators. There is an increased risk of electric shock if your body is earthed or grounded.
- Do not expose power tools to rain or wet conditions. Water entering a power tool will increase the risk of electric shock.
- Do not abuse the cord. Never use the cord for carrying, pulling or unplugging the power tool. Keep cord away from heat, oil, sharp edges or moving parts. Damaged or entangled cords increase the risk of electric shock.
- When operating a power tool outdoors, use an extension cord suitable for outdoor use. Use of a cord suitable for outdoor use reduces the risk of electric shock.
- If operating a power tool in a damp location is unavoidable, use a ground fault circuit interrupter (GFCI) protected supply. Use of an GFCI reduces the risk of electric shock.
PERSONAL SAFETY
- Stay alert, watch what you are doing and use common sense when operating a power tool. Do not use a power tool while you are tired or under the influence of drugs, alcohol or medication. A moment of inattention while operating power tools may result in serious personal injury.
- Use personal protective equipment. Always wear eye protection. Protective equipment such as a dust mask, non-skid safety shoes, hard hat or hearing protection used for appropriate conditions will reduce personal injuries.
- Prevent unintentional starting. Ensure the switch is in the off-position before connecting to power source and/or battery pack, picking up or carrying the tool. Carrying power tools with your finger on the switch or energizing power tools that have the switch on invites accidents.
- Remove any adjusting key or wrench before turning the power tool on. A wrench or a key left attached to a rotating part of the power tool may result in personal injury.
- Do not overreach. Keep proper footing and balance at all times. This enables better control of the power tool in unexpected situations.
- Dress properly. Do not wear loose clothing or jewelry. Keep your hair and clothing away from moving parts. Loose clothes, jewelry or long hair can be caught in moving parts.
- If devices are provided for the connection of dust extraction and collection facilities, ensure these are connected and properly used. Use of dust collection can reduce dust-related hazards.
- Do not let familiarity gained from frequent use of tools allow you to become complacent and ignore tool safety principles. A careless action can cause severe injury within a fraction of a second.
POWER TOOL USE AND CARE
- Do not force the power tool. Use the correct power tool for your application. The correct power tool will do the job better and safer at the rate for which it was designed.
- Do not use the power tool if the switch does not turn it on and off. Any power tool that cannot be controlled with the switch is dangerous and must be repaired.
- Disconnect the plug from the power source and/ or remove the battery pack, if detachable, from the power tool before making any adjustments, changing accessories, or storing power tools. Such preventive safety measures reduce the risk of starting the power tool accidentally.
- Store idle power tools out of the reach of children and do not allow persons unfamiliar with the power tool or these instructions to operate the power tool. Power tools are dangerous in the hands of untrained users.
- Maintain power tools and accessories. Check for misalignment or binding of moving parts, breakage of parts and any other condition that may affect the power tool’s operation. If damaged, have the power tool repaired before use. Many accidents are caused by poorly maintained power tools.
- Keep cutting tools sharp and clean. Properly maintained cutting tools with sharp cutting edges are less likely to bind and are easier to control.
- Use the power tool, accessories and tool bits etc. in accordance with these instructions, taking into account the working conditions and the work to be performed. Use of the power tool for operations different from those intended could result in a hazardous situation.
- Keep handles and grasping surfaces dry, clean and free from oil and grease. Slippery handles and grasping surfaces do not allow for safe handling and control of the tool in unexpected situations.
BATTERY TOOL USE AND CARE
- Recharge only with the charger specified by the manufacturer. A charger that is suitable for one type of battery pack may create a risk of fire when used with another battery pack.
- Use power tools only with specifically designated battery packs. Use of any other battery packs may create a risk of injury and fire.
- When battery pack is not in use, keep it away from other metal objects, like paper clips, coins, keys, nails, screws or other small metal objects, that can make a connection from one terminal to another. Shorting the battery terminals together may cause burns or a fire.
- Under abusive conditions, liquid may be ejected from the battery; avoid contact. If contact accidentally occurs, flush with water. If liquid contacts eyes, additionally seek medical help. Liquid ejected from the battery may cause irritation or burns.
- Do not use a battery pack or tool that is damaged or modified. Damaged or modified batteries may exhibit unpredictable behavior resulting in fire, explosion or risk of injury.
- Do not expose a battery pack or tool to fire or excessive temperature. Exposure to fire or temperature above 265°F (130°C) may cause explosion.
- Follow all charging instructions and do not charge the battery pack or tool outside the temperature range specified in the instructions. Charging improperly or at temperatures outside the specified range may damage the battery and increase the risk of fire.
SERVICE
- Have your power tool serviced by a qualified repair person using only identical replacement parts. This will ensure that the safety of the power tool is maintained.
- Never service damaged battery packs. Service of battery packs should only be performed by the manufacturer or authorized service providers.
SPECIFIC SAFETY RULES FOR CORE DRILL STAND
- Hold the power tool by insulated gripping surfaces, when performing an operation where the cutting accessory or fasteners may contact hidden wiring. Cutting accessory or fasteners contacting a “live” wire may make exposed metal parts of the power tool “live” and could give the operator an electric shock.
- Always secure the stand to the work surface to help prevent personal injury and to protect the stand. Do not rely on the weight of the stand, shoring pin alone or body weight on the stand for securing during use. An unsecured stand could rotate during coring and possibly cause injury. NEVER attempt to use body weight to hold stand. Never rely on the shoring pin alone for securing.
- When securing the drill stand with anchors and fasteners to the workpiece, ensure that the anchoring used is capable of holding and restraining the machine during use. If the workpiece is weak or porous, the anchor may pull out causing the drill stand to release from the workpiece.
- When securing the drill stand using the vacuum gaskets on the workpiece with a vacuum pump, install the stand on a smooth, clean, non-porous surface. Do not secure to laminated surfaces such as tiles and composite coating. If the workpiece is not smooth, flat or well affixed, the pad may pull away from the work piece.
- Ensure there is sufficient vacuum before and during drilling. If the vacuum is insufficient, the pad may release from the work piece.
- Never perform drilling with the machine secured by the vacuum pad only, except when drilling downwards. If the vacuum is lost, the pad will release from the workpiece.
- When drilling through walls or ceilings, protect persons and the work area on the other side. The bit may extend through the hole or the core may fall out on the other side.
- To reduce the risk of injury, always wear proper eye protection marked to comply with ANSI Z87.1.
- Wear ear protectors when diamond drilling. Exposure to noise can cause hearing loss.
- WARNING To reduce the risk of injury in applications that produce a con- siderable amount of dust, use an OSHA compliant dust extraction solution in accordance with the solution’s operating instructions.
- Follow all instructions and warnings provided with the core drill and accessories. Only use a core drill and accessories specifically recommended for this tool. Others may be hazardous.
- Always use common sense and be cautious when using tools. It is not possible to anticipate every situation that could result in a dangerous outcome. Do not use this tool if you do not understand these operating instructions or you feel the work is beyond your capability; contact Milwaukee Tool or a trained professional for additional information or training.
- Maintain labels and nameplates. These carry important information. If unreadable or missing, contact a MILWAUKEE service facility for a free replacement.
- WARNING Some dust created by power sanding, sawing, grinding, drilling, and other construction activities contains chemicals known to cause cancer, birth defects or other reproductive harm. Some examples of these chemicals are:
- lead from lead-based paint
- crystalline silica from bricks and cement and other masonry products, and
- arsenic and chromium from chemically-treated lumber. Your risk from these exposures varies, depending on how often you do this type of work. To reduce your exposure to these chemicals: work in a well ventilated area, and work with approved safety equipment, such as those dust masks that are specially designed to filter out microscopic particles.
FUNCTIONAL DESCRIPTION

- Shoring pin
- Mast
- Angle gauge (on back)
- Depth gauge
- Carrier assembly
- Feed handle location
- Carrier wheels (4)
- Angle brace with handle
- Bubble level (on back)
- MX FUEL™ battery storage
- Vacuum gauge
- Gaskets
- Vacuum release pin
- 360° Level
- Center pointer
- Eye bolts (4)
- Vacuum coupler
- Rack
- Mount plate with handle
- Feed handle
- Feed handle button
SPECIFICATIONS
- Cat. No: 3000
- Vacuum Pump: 49-50-0200
- Gasket Kit: 43-44-0019
SYMBOLOGY
Read operator’s manual
Always wear eye protection. Use appropriate hearing and respiratory protection.
UL Listing for Canada and U.S.
ASSEMBLY
Assembling Core Drill Stands


- Set the base on the ground. Handle Angle Brace
- Raise the mast upright to the desired angle.
- Tighten the angle brace handle securely. If handle cannot turn fully due to setup orientation, pull out the handle, rotate back, push in, tighten and repeat.
- Slide carrier assembly onto the mast, matching carrier wheels with grooves in the mast.
NOTE: Over time, the carrier assembly may become loose and need to be tightened (see “Adjusting Carrier Assembly” in the Maintenance section) - Press in the feed handle button and insert the feed handle into one of the handle locations. Release the button. Ensure the handle clicks into place.
- Turn the feed handle to lower or raise the carrier. When the carrier is fully raised, it can be lifted off of the mast.
Attaching Wheel Assembly (Optional)

- Set the base on the ground upright.
- Align holes in wheel base to the back of the stand, as shown.
- Insert the bolt through the holes connecting the wheel assembly to the base and insert cotter pin through the hole in the end of the bolt.
- Hand tighten the knob screw in back end of wheel assembly securely.
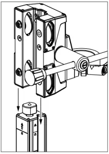
Mounting the Core Drill to the Stand
WARNING
To reduce the risk of injury, always unplug drill or remove battery before installing the drill.
Use a MILWAUKEE MX FUEL™ Core Drill with this stand.
- To mount the drill, loosen the mount plate handle.
- Place core drill, spindle-down, into the mount plate.

- Hand tighten the mount plate handle. If the core drill prevents the mount plate handle from fully rotating, pull out the handle, rotate back, push in, tighten and repeat.
- After the core drill is mounted, ensure the carrier is rigid against the mast. A loose carrier can allow the drill or bit to wobbling during coring. Wiggle the drill front to back and side to side. If it moves, tighten the mount plate. If the drill continues to feel loose, see “Adjusting Carrier Assembly” in the Maintenance section for more information.
- To remove drill, loosen the mount plate handle and pull the drill away from the stand.
OPERATION
WARNING To reduce the risk of injury, always wear proper eye protection marked to comply with ANSI Z87.1.
When working in dusty situations, wear appropriate respiratory protection or use an OSHA compliant dust extraction solution
Methods for Securing Equipment to Work Surface
WARNING To reduce the risk of injury always secure the stand to the work surface to help prevent personal injury and to protect the stand. Do not rely on the weight of the stand, shoring pin alone or body weight on the stand for securing during use. An unsecured stand could rotate during coring and possibly cause injury. NEVER attempt to use body weight to hold stand. Never rely on the shoring pin alone for securing.
Always make sure the stand is rigidly mounted with an expansion-type anchor or vacuum system. Any movement or vibration will shorten the life of the core bit. If the drill or bit moves, tighten down the mounting system. If the drill or bit continues to move, see “Adjusting Carrier Assembly” in the Maintenance section for more information.
Some building materials contain steel reinforcements. MILWAUKEE core drill bits can cut through embedded steel, but are not recommended for coring solid steel plates.
Using an Expansion-Type Anchor
For Vertical (Wall) or Horizontal (Floor) Coring
WARNING When drilling through walls or ceilings, protect persons and the work area on the other side from falling debris/cores. The bit may extend through the hole or the core may fall out on the other side

Expansion type anchors are the most rigid method and can be used for vertical (wall) and horizontal (floor) coring. Use a 5/8″ or 3/4″ expansion anchor with an integral threaded rod, washer, and nut (not included).
- Locate the position of the expansion-type anchor by measuring out 10″ to 14″ from the center of the hole to be drilled.
- Set your anchor according to the anchor manufacturer’s instructions.
- Set stand over the anchor, as shown. The anchor should extend through the slot in the center of the stand.
- Put the washer and nut over the anchor and hand tighten.
- Extend the center pointer and align it with the center of the hole to be drilled.
- Tighten the anchor nut securely.
- Retract the center pointer
Assembling and Using a Vacuum System
(Optional) For Horizontal (Floor) Coring
WARNING To reduce the risk of injury always use an expansion-type anchor during vertical coring. Vacuum systems can slip when used on a vertical surface.
When securing the stand to the workpiece with a vacuum pump, install the stand on a smooth, clean, nonporous surface, such as poured concrete. Do not secure to laminated surfaces such as tiles and composite coating. If the workpiece is not smooth, flat, or well affixed, the gaskets may pull away from the workpiece, causing the stand to move. If the surface is too porous or rough, the vacuum may not hold securely or create a full seal.
Before using the vacuum:

Always check the gaskets on the underside of the base for wear, cracks or tears. Immediately replace worn or damaged gaskets. To replace the gaskets, see “Replacing Vacuum Gaskets” in the “Maintenance” section.
Make sure the gauge is at 0″ Hg.
- Loosen the (4) eye bolts until the ends are above the bottom surface of the base.
- Extend the center pointer and align it with the center of the hole to be drilled.
- Set the vacuum pump off to the side on a dry surface away from the stand.
- Connect the vacuum hose to the vacuum coupler on the stand base, as recommended by the vacuum manufacturer.
- Plug in the vacuum pump and turn it on.
- Step/push down on the center of the base until it lowers and adheres to the work surface. If the stand does not seal, check the vacuum release pin to make sure there is no leakage around it.
- Continue to monitor the vacuum seal. The vacuum gauge is used to ensure vacuum pressure is sufficient to hold stand in place. The vacuum gauge must read a minimum of 20″ Hg (green zone), indicating there is sufficient vacuum pressure to sustain drilling. If the pointer is in the red zone (0″-20″ Hg) there is insufficient vacuum pressure. WARNING! To reduce the risk of injury DO NOT CORE if the gauge reads less than 20″ Hg.
- Once the vacuum gauge reads 20″-30″ Hg, use the four (4) eye bolts to level the stand. WARNING! Over-tightening can lift the gasket off the ground and release the vacuum. After leveling, check the vacuum gauge again.
- To release the vacuum seal, turn off the vacuum pump and pull out the vacuum release pin.
WARNING To reduce the risk of injury always secure the stand to the work surface to help prevent personal injury and to protect the stand. An unsecured stand could rotate during coring and possibly cause injury. Never rely on the shoring pin alone for securing.
Using the Shoring Pin
For added rigidity when using an expansion-type anchor or vacuum system, use the shoring pin and a brace
- Secure the stand using either an expansion-type anchor or a vacuum system. WARNING! Never rely on the shoring pin alone for securing.
- Use the four (4) eye bolts to level the stand.
- Use pipe or wood (e.g., 4×4 piece of lumber) to brace stand between a sturdy structure and the top of the stand.
- Tighten shoring pin against the brace to increase the stability of the stand.
Coring
WARNING To reduce the risk of injury, always wear proper eye protection marked to comply with ANSI Z87.1.
When working in dusty situations, wear appropriate respiratory protection or use an OSHA compliant dust extraction solution.
Follow all instructions and warnings provided with the core drill and accessories. Only use a core drill and accessories specifically recommended for this stand. Others may be hazardous. When drilling through walls or ceilings, protect persons and the work area on the other side. The bit may extend through the hole or the core may fall out on the other side from falling debris/cores.
- Secure the stand using an expansion-type anchor or a vacuum system.
- Install the drill into the stand.
- Use the four (4) eye bolts to level the stand.
- Adjust the stand carrier up and install a bit.
- Adjust the stand to the desired angle.
- Ensure all adjustments are secure and the center pointer is retracted.
- Turn on the machine according to the drill manufacturer’s instructions.
- Lower the drill into the workpiece using the feed handle and continue to drill according to drill and accessory manufacturers’ instructions.
- When done, use the feed handle to raise the bit clear of the hole and turn off the drill.
MAINTENANCE
WARNING To reduce the risk of injury, always remove the machine and all accessories before performing any maintenance. Contact a MILWAUKEE service facility for ALL repairs.
Maintaining Stand
Start a regular maintenance program to keep your machines in good repair. Inspect your stand for is- sues such as undue noise, misalignment or binding of moving parts, breakage of parts, or any other condition that may affect the operation. Return to a MILWAUKEE service facility for repair.
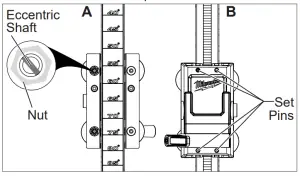
Adjusting Carrier Assembly
Over time carrier assembly may become loose and need to be tightened
- Remove drill and all accessories.
WARNING! Always remove the machine and all accessories before performing any maintenance. - When the carrier is loose from side to side, tighten the two eccentric shaft/nut assemblies (A).
- a. Loosen the outer nut slightly.
- b. Hand-tighten the eccentric shaft with a flat screwdriver to 1 to 5 in-
- b. c. Manually tighten the outer nut to 120 to 130 in lb.
- When the carrier is loose from front to back, tighten the four set pins (B). Use a 4 mm hex wrench to tighten the pins to 2.5 to 7 in-lb.

NOTE: Over-tightening the assembly will make the carrier difficult to move up and down.
Lubricating Rack
Maintain a light coat of MILWAUKEE Type “P” or “J” Grease on the rack to reduce friction and wear when the carrier is moved up and down.
Replacing Vacuum Gaskets
Through normal use, the rubber gaskets under the base can become worn, requiring replacement. If the vacuum seal cannot hold sufficient pressure, replace seals.
- Remove drill and all accessories.
WARNING! Always remove the machine and all accessories before performing any maintenance. - Tip the stand on its side.
- Loosen the (4) eye bolts until the ends are above the bottom of the surface of the base.
- Pull the old gaskets from the grooves and discard.
- Place a new gasket (Cat. No. 43-44-0019) into both grooves and press firmly in place.
- Place the stand upright and apply pressure to all edges to fully seat the gasket into the stand.
Cleaning
Keep handles clean, dry and free of oil or grease. Use only mild soap and a damp cloth to clean, since certain cleaning agents and solvents are harmful to plastics and other insulated parts. Some of these include gasoline, turpentine, lacquer thinner, paint thinner, chlorinated cleaning solvents, ammonia and house- hold detergents containing ammonia. Never use flammable or combustible solvents around machines.
Repairs
For repairs, return the stand to the nearest authorized service center.
ACCESSORIES
WARNING Use only recommended accessories. Others may be hazardous. For a complete listing of accessories, go online to www.milwaukeetool.com or contact a distributor.
SERVICE – UNITED STATES
1-800-SAWDUST (1.800.729.3878)
Monday-Friday, 7:00 AM – 6:30 PM CST or visit www.milwaukeetool.com Contact Corporate After Sales Service Technical Support with technical, service/repair, or warranty questions.
Email: [email protected]
Become a Heavy Duty Club Member at www.milwaukeetool.com to receive important notifications regarding your purchases.
SERVICE – CANADA
Milwaukee Tool (Canada) Ltd 1.800.268.4015
Monday-Friday, 7:00 AM – 4:30 PM CST or visit www.milwaukeetool.ca
LIMITED WARRANTY USA & CANADA
Every MILWAUKEE MX FUEL™ Product, battery pack, and charger is warranted to the original purchaser only to be free from defects in material and workmanship. Subject to certain exceptions, MILWAUKEE will repair or replace a MX FUEL™ product, battery pack, or charger which, after examination, is determined by MILWAUKEE to be defective in material or workmanship for a period of two (2) years after the date of purchase. Return of the MX FUEL™ product, battery pack, or charger to a MILWAUKEE factory Service Center location or MILWAUKEE Authorized Service Station, freight prepaid and insured, is required. For the proper shipping procedure of battery packs, contact 1.800.SAWDUST (1.800.729.3878), or go to www.milwaukeetool.com. A copy of the proof of purchase should be included with the return product. This warranty does not apply to damage that MILWAUKEE determines to be from repairs made or attempted by anyone other than MILWAUKEE authorized personnel, misuse, alterations, abuse, normal wear and tear, lack of maintenance, or accidents.
Normal Wear: Many MX FUEL™ products need periodic parts replacement and service to achieve best performance. This warranty does not cover repair when normal use has exhausted the life of a part including, but not limited to, assist & drive belts, pulleys, blade flanges, vacuum gaskets, tool free handles, set pins, skis, drive couplers, rubber boots, auto feed, stabilize blocks, wheels, carrier wheels, cords, o-rings, seals, bumpers, driver blades, pistons, strikers, lifters, tool holder, and bumper cover washers.
Warranty Registration is not necessary to obtain the applicable warranty on a MX FUEL™ product, battery pack, or charger.
ACCEPTANCE OF THE EXCLUSIVE REPAIR AND REPLACEMENT REMEDIES DESCRIBED HEREIN IS A CONDITION OF THE CO TRACT FOR THE PURCHASE OF EVERY MILWAUKEE PRODUCT. IF YOU DO NOT AGREE TO THIS CONDITION, YOU SHOULD NOT PURCHASE THE PRODUCT. IN NO EVENT SHALL MILWAUKEE BE LIABLE FOR ANY INCIDENTAL, SPECIAL, CONSEQUENTIAL OR PUNITIVE DAMAGES, OR FOR ANY COSTS, ATTORNEY FEES, EXPENSES, LOSSES OR DELAYS ALLEGED TO BE AS A CONSEQUENCE OF ANY DAMAGE TO, FAILURE OF, OR DEFECT IN ANY PRODUCT INCLUDING, BUT NOT LIMITED TO, ANY CLAIMS FOR LOSS OF PROFITS. SOME STATES DO NOT ALLOW THE EXCLUSION OR LIMITATION OF INCIDENTAL OR CONSEQUENTIAL DAMAGES, SO THE ABOVE LIMITATION OR EXCLUSION MAY NOT APPLY TO YOU. THIS WARRANTY IS EXCLUSIVE AND IN LIEU OF ALL OTHER EXPRESS WARRANTIES, WRITTEN OR ORAL. TO THE EXTENT PERMITTED BY LAW, MILWAUKEE DISCLAIMS ANY IMPLIED WARRANTIES, INCLUDING WITHOUT LIMITATION ANY IMPLIED WARRANTY OF MERCHANTABILITY OR FITNESS FOR A PARTICULAR USE OR PURPOSE; TO THE EXTENT SUCH DISCLAIMER IS NOT PERMITTED BY LAW, SUCH IMPLIED WARRANTIES ARE LIMITED TO THE DURATION OF THE APPLICABLE EXPRESS WARRANTY AS DESCRIBED ABOVE. SOME STATES DO NOT ALLOW LIMITATIONS ON HOW LONG AN IMPLIED WAR- RANTY LASTS, SO THE ABOVE LIMITATION MAY NOT APPLY TO YOU, THIS WARRANTY GIVES YOU SPECIFIC LEGAL RIGHTS, AND YOU MAY ALSO HAVE OTHER RIGHTS WHICH VARY FROM STATE TO STATE.
This warranty applies to product sold in the U.S.A. and Canada only. Please consult the ‘Service Center Search’ in the Parts & Service section of MILWAUKEE’s website www.milwaukeetool.com or call 1.800. SAWDUST (1.800.729.3878) to locate your nearest service facility for warranty and non-warranty service on a MX FUEL™ product, battery pack or charger.


















