
www.aver.com
CAM340+ Quick Start Guide
Package Contents
| CAM340+ | Power Adapter (For USB2.0) | USB Cable | Tripod Screw |
![]() | ![]() | ![]() | ![]() |
| Quick Start Guide | Warranty Card |
![]() | ![]() |
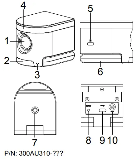
Overview

| 1. Lens (Max. viewing angle 120°) 2. IR receiver 3. Status light 4. Microphone 5. Kensington slot | 6. Mount clip 7. Tripod screw hole 8. RESET pin 9. USB Type-C connector 10. DC power jack |
Setup CAM340+
- Install the CAM340+ on top of the TV or on a tripod.

- Connect CAM340+ to PC with provided USB cable. If you like to use a Type-C connector on a newer PC, connect your adapter to a USB cable, and then connect the Type-C side of the adapter to the PC.

- Please connect CAM340+ to USB3.0 port on PC to get sufficient power. If you connect CAM340+ to USB2.0 port on PC, please connect provided power adapter to CAM340+ and wall when a warning (As the figure shows) is displayed on PC.
[Note] The warning message display time is short.
- Select CAM340+ as the camera or video device in your app. If you want to use a CAM340+ microphone, please select CAM340+ as your microphone or audio device.
For multi-person conferences, it is recommended to use an external professional microphone or to use the AVer professional speaker microphone device for the best conference results. You can use PTZApp to disable the microphone function.
- For advanced settings and firmware updates, please download AVer PTZApp from http://www.aver.com/download-center
Status LED
| LED | Status |
| Amber | Not in use |
| Solid Green | The camera is operated now |
| Blinking green | Firmware updating |
[Note]
CAM340+ is a Plug-n-Play Conference Camera. The system requires no special drivers.
Please visit the below URL for more information.
Global: www.aver.com
US: www.averusa.com
Install AVer PTZApp
Please go to http://www.aver.com/download-center to download the AVer PTZApp. After downloading, double-click on the file and follow the on-screen instructions to complete the installation.
After installing the AVer PTZApp, double-click on the AVer PTZApp icon to run the application.
Use AVer PTZApp
- To run your video application, a plug-in request will be displayed on your video application interface. Click on it to accept the plug-in; your video application can now be controlled by AVer PTZApp and remote control.
- During your video call, you can use the AVer PTZApp to pan, tilt, and zoom the camera in/out and enable/disable the backlight feature, set up camera brightness and sharpness. For more details, please refer to the user manual.
- FOV(Field of View): The user can select the camera view range – Wide room_120° or Depth room_90°.
- Flip: If the CAM340+is installed in the upside-down position, please enable the “Flip” function in the AVer PTZApp, and the screen will display normally.

- For USB Data Transfer Mode, please the select mode in Mac OS and Windows as:
√ For Mac OS: isochronous mode
√ For Windows: Bulk mode
Hotkey Control
Enable hotkey control to use keyboard control camera’s movement and backlight function.
- Select “Settings”
- Set Hotkey Control to “On”.

- A hotkey description as below figure shown:

Install EZLive
Please go to http://www.aver.com/download-center to download the AVer EZLivesoftware. After downloading, double-click on the file and follow the on-screen instruction to complete the installation.
Use AVer EZLive
During a video call, EZLive can help user to do:
| (1) Camera ePTZ (2) Volume control for the speaker connected (3) Capture camera’s still images (4) Record video (5) Live stream to Youtube, Livehouse.in, USTREAM…etc. (6) Camera Zoom in/out | (7) Capture PC screenshot (8) Record PC screen video (9) Set up Livestream (10) Open file management to retrieve photos and video files (11) Livestream setting (12) Drawing tool |
Remote Control
The remote control is an optional accessory. For purchasing, please contact your dealer.
*Function requires AVer PTZApp
**Not supported for CAM340+
- AAA Batteries are required.
- Camera select: If you only have one camera that requires no additional setting, the default is camera 1.
- If you press camera 2 or 3 on the remote control, you will find your remote can’t control your camera. In this case, please press camera 1 on your remoter again.
- Press and hold a number button
for 1 second to switch lens FOV between Wide room 120° or Depth room 90°.
More Help
For FAQs, technical support, software, and user manual download, please visit:
Global: http://www.aver.com/technical-support
US: https://www.averusa.com/business/support/
Contact Information
Global:
AVer Information Inc.
www.aver.com
8F , No.157, Da-An Rd., Tucheng Dist.,
New T Taipei City
Taiwan
Tel: +886-2-2269-8535
Europe B.V.:
AVer Information Inc.
Westblaak 140, 3012KM, Rotterdam, Netherland
T el: +31(0)10 7600 550
T echnical support: [email protected]
US:
AVer Information Inc.
www.averusa.com
668 Mission Ct
Fremont, CA 94539, USA
Toll-Free: 1(877)528-7824
Local: 1(408)263-3828
Support.usa.com
Federal Communication Commission Interference Statement
This device complies with Part 15 of the FCC Rules. Operation is subject to the following two conditions:
(1) This device may not cause harmful interference, and (2) this device must accept any interference received, including interference that may cause undesired operation.
This equipment has been tested and found to comply with the limits for a Class B digital device, pursuant to Part 15 of the FCC Rules. These limits are designed to provide reasonable protection against harmful interference in a residential installation. This equipment generates uses and can radiate radio frequency energy and, if not installed and used in accordance with the instructions, may cause harmful interference to radio communications. However, there is no guarantee that interference will not occur in a particular installation. If this equipment does cause harmful interference to radio or television reception, which can be determined by turning the equipment off and on, the user is encouraged to try to correct the interference by one of the following measures:
- Reorient or relocate the receiving antenna.
- Increase the separation between the equipment and receiver.
- Connect the equipment into an outlet on a circuit different from that to which the receiver is connected.
- Consult the dealer or an experienced radio/TV technician for help.
FCC Caution: Any changes or modifications not expressly approved by the party responsible for compliance could void the user’s authority to operate this equipment.
CAUTION
Risk of explosion if the battery is replaced by an incorrect type.
Dispose of used batteries in a safe and proper manner.
©2020 AVer Information Inc. All rights reserved.
































