pontec 300i/300iL/300 Pondo Compact Fountain Pump

WARNING
- Disconnect all electrical devices in the water from the power supply before reaching into the water. Otherwise there is a risk of severe injuries or death by electrocution.
- Disconnect the power plug before carrying out any work on the unit.
- This unit can be used by children aged 8 and above and by persons with reduced physical, sensory or mental capabilities or lack of experience and knowledge if they are supervised or have been instructed on how to use the unit in a safe way and they understand the hazards involved. Do not allow children to play with the unit. Only allow children to carry out cleaning and user maintenance under supervision.
Safety information
Correct electrical installation
- Special regulations apply for electrical installation in outdoor spaces. Only a qualified electrician may perform the electrical installation.
- The qualified electrician has the necessary professional training, knowledge and experience to perform electrical installation in outdoor spaces. The electrician can detect potential dangers and knows how to adhere to regional and national standards, regulations and directives.
- For your own safety, please consult a qualified electrician.
- Only connect the unit if the electrical data of the unit and the power supply match.
- Only plug the unit into a correctly installed outlet. Ensure that the unit is fused for a rated fault current of max. 30 mA by means of a fault current protection device.
- Extension cables and power distributors (e.g. outlet strips) must be suitable for outdoor use (splash-proof).
- Protect the plug connection from moisture.
Safe operation
- The impeller unit in the pump contains a magnet with a strong magnetic field that may affect the operation of pacemakers or implantable cardioverter defibrillators (ICDs). Keep a distance of at least 0.2 m between the implant and the magnet.
- Do not use the unit, if electrical lines or the housing are damaged.
- A damaged connection cable cannot be replaced. Dispose of the unit.
- Do not carry or pull the unit by its power cable.
- Route lines in such a way that they are protected from damage and do not present a tripping hazard.
- Never carry out technical changes to the unit.
- Only carry out work on the unit that is described in this manual.
- Only use original spare parts and accessories.
Information about these operating instructions
- You made a good choice with the purchase of this product PondoCompact.
- Prior to commissioning the unit, please read the instructions of use carefully and fully familiarise yourself with the unit.
- Ensure that all work on and with this unit is only carried out in accordance with these instructions.
- Adhere to the safety information for the correct and safe use of the unit.
- Keep these instructions in a safe place! Please also hand over the instructions when passing the unit on to a new owner.
Product Description
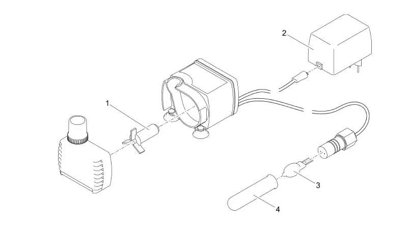
Delivery scope and unit configuration

| 5 A | PondoCompact | Description | |
| 300/300i | 300iL | ||
| Quantity | Quantity | ||
| 1 | 1 | 1 | Motor housing |
| 2 | 1 | 1 | Pump casing with outlet |
| 3 | – | 1 | Halogen lamp |
| 4 | – | 1 | Plug-in transformer |
| 5 | 2 | 2 | Suction cups |
Properties
PondoCompact pumps are designed for water features.
- PondoCompact 300i: Suitable for indoor use.
- PondoCompact 300iL: Suitable for indoor use, with integrated lighting.
- PondoCompact 300: Suitable for indoor and outdoor use.
- Simple regulation of the water volume.
- 13 mm (½ ”) hose connection.
Intended use
Only use the product described in this manual as follows:
- For operation with clean water.
- Operate the product in compliance with the technical data.
The following restrictions apply to the unit
- Do not use in swimming ponds.
- Never use the unit with fluids other than water.
- Never run the unit without water.
- Do not use for commercial or industrial purposes.
- Do not use in conjunction with chemicals, foodstuff, easily flammable or explosive substances.
- Do not connect to the domestic water supply.
Installation and connection
WARNING: Severe injuries or death due to operation of this unit in a swimming pond. Defective electrical components will electrify the water with dangerous electrical voltage.
- Never operate the unit in a swimming pond.
How to proceed

- Set the flow rate:
- Turning the socket clockwise: Increases the flow rate.
- Turning the socket counterclockwise: Decreases the flow rate.
- Fit the hose onto the outlet.

- Install the pump fully submerged.
- Ensure that the maximum permissible submersion depth of 1 m is not exceeded
- Route the power cable so that it forms a loop below the power socket.
Commissioning/start-up
NOTE: Prevent the pump from running dry. Otherwise the pump will be destroyed.
- Only operate the pump when it is immersed.
- Switching on: Plug the power plug into the outlet.
- The unit switches on immediately.
- Switching off: Pull the power plug from the outlet.
Malfunction remedy
| Malfunction | Cause | Remedy |
| The unit does not start up | No mains voltage | Check the mains voltage |
| Impeller unit blocked | Clean | |
| Insufficient fountain height | Regulator closed too far | Adjust regulator |
| Pump casing or impeller unit soiled, hose blocked | Clean | |
| Hose defective | Replace | |
| Hose kinked | Route hose in a straight line | |
| Impeller unit worn | Replace impeller unit |
Maintenance and cleaning
NOTE: Do not use aggressive cleaning agents or chemical solutions. These agents can damage the housing, impair the function of the device and harm animals, plants and the environment.
- Clean the device only with clear water and a soft brush or sponge.
- Recommended cleaning agent for removing stubborn limescale deposits:
- Vinegar- and chlorine-free household cleaning agent.
Replacing the impeller unit
How to proceed

- Pull off the pump casing.
- Pull the impeller unit out of the motor housing.
- Assemble the pump in the reverse order.
Replacing the bulb
PondoCompact 300iL is equipped with integrated lighting.
How to proceed
- Carefully pull the glass tube from the lamp socket.
- Pull the defective bulb out of the lamp socket and fit a new bulb.
- Only use approved bulbs: → Technical Data
- Do not touch the bulb with your fingers, use a cloth.
- Fit the glass tube onto the lamp socket.
- Ensure that the O rings at the lamp socket are clean and undamaged.
Storage/winter protection
The unit is not frost-proof and has to be removed and put into storage if minus temperatures are expected.
How to correctly store the unit
- Thoroughly clean the unit and renew any damaged parts.
- Protect electrical connections from moisture and dirt.
- Store the pump submerged and in a frost-free environment.
- Protect open plug connections from moisture and dirt.
Wear parts
- Impeller unit
- Bulb
Disposal
NOTE
- Do not dispose of this unit with household waste.
- Dispose of the unit by using the return system provided for this purpose.
- Render the unit unusable by cutting the cables
Guarantee conditions
PfG grants a 2 year guarantee from the date of sale on proven material and manufacturing faults. Wear parts such as bulbs etc. are exempted from the guarantee. Prerequisite for our guarantee is the presentation of the purchase receipt. Our guarantee will become null and void if the unit is misused, electrically or mechanically damaged by inappropriate use and improper repair by non-authorised workshops. Repairs are reserved for workshops authorised by PfG or by PfG itself. In the case of warranty claims, please return the defective unit or part freight paid to PfG together with a description of the fault and the purchase receipt. PfG reserves the right to invoice repair costs. PfG is not liable for transport damage. Any damage must be claimed against the carrier. Further claims of whatever type, especially consequential damage, are excluded. This guarantee does not affect the final customer’s claims against the dealer.
- Type
- Rated voltage
- Rated voltage of plug-in transformer
- Power consumption
- Flow rate
- Head height
- Immersion depth
- Cable length
- Bulbs Dimensions
- Weight
- Water temperature
SYMBOLS
Submersible to 1 m/4 m depth.
Remove the unit at temperatures below zero (centigrade).
Possible hazard for persons wearing pacemakers!
Protect from direct sun radiation.
Read the operating instructions.
CONNECTION




PfG GmbH
- Tecklenburger Straße 161
- D – 48477 Hörstel Germany
- www.pontec.com





















