LIEBHERR UPR 513 Under Worktop Refrigerator

Congratulations on the purchase of your new appliance. With this purchase, you have chosen all the advantages of the latest refrigeration technology, guaranteeing you a high-quality appliance with a long life span and high operating safety.
The equipment of your appliance gives you the highest level of day-to-day ease of operation.
Together we are making an active contribution to the conservation of our environment by purchasing this appli-ance which is manufactured in an environmentally friendly process with the use of recyclable materials.
We hope you enjoy your new appliance.
The manufacturer is constantly working to improve all models. Therefore please understand that we reserve the right to make design, equipment and technical modifications. To get to know all the benefits of your new appliance, please read the information contained in these instructions carefully. The instructions apply to several models, so there may be differences. Sections which only apply to certain appliances are indicated with an asterisk (*). Instructions requiring the user to take action are marked with , the results of an action are marked with a .
The appliance at a glance
Additional benefits
- Natural coolant
- Energy-optimized refrigerant circuit
- Energy-efficient insulation
- Low energy consumption
- User-friendly electronic controls
- Active function indicators
- Temperature can be controlled in the appliance independent of ambient conditions according to its climate rating – Temperature can be displayed as °C or °F
- Large refrigeration capacity
- Safety glass storage shelves
- Bright LED interior light
- Door ajar alarm
- Integrated transport grips on appliance housing
- Easy to clean
- This appliance has a SabbathMode function, so you can use it on religious holidays. Further information can be found on the Star-K website www.star-k.org.
Overview of the appliance and accessories
Note
- Arrange food as shown in the picture. This arrangement allows the appliance to work more efficiently, thus saving energy.
- Shelves, drawers, and baskets are arranged for optimal energy efficiency in the factory configuration.

Fig. 1
- Control panel
- Interior light
- Pull-out rack
- Adjustable supporting bars
- Pull-out rack, coldest zone
- Lift-up box
- Bottle shelf
- Adjustable door
- Rating plate
- Adjustable plinth panel
- Front and rear adjusting feet
Range of appliance use
Normal use
The appliance is only suitable for cooling food for residential or other similar environments. This includes the following types of uses
- in staff kitchens, bed and breakfasts,
- by guests in country homes, hotels, motels and other types of accommodations,
- for catering and similar wholesale services.
The appliance is not suitable for freezing food;
The appliance is suitable for integrated under worktop use
All other types of uses are not permitted.
Foreseeable misuse
The following uses are specifically prohibited:
- Storage and cooling of medication, blood plasma, laboratory preparations or similar substances and products in accordance with the CMDCAS and FDA 510(k)
- Use outdoors
- Use in moist areas exposed to the rain
- Use in areas at risk of explosion
Incorrect appliance use can cause damage to the stored products or cause them to spoil.
Climate ratings
The appliance is set to operate within specific ambient temperature limits according to its climate rating The climate rating for your appliance is printed on the rating plate
Note
- To guarantee trouble-free operation, comply with the indicated ambient temperatures.
| Climate rating | for ambient temperatures from |
| SN | 50 °F (10 °C) to 90 °F (32 °C) |
| N | 61 °F (16 °C) to 90 °F (32 °C) |
| ST | 61 °F (16 °C) to 101 °F (38 °C) |
| T | 61 °F (16 °C) to 110 °F (43 °C) |
Conformity
The refrigerant circuit has been tested for leaks. When installed, the appliance complies with the relevant safety regulations and the safety standards CAN/CSA-C22.2 No. 60335-1-11, 60335-2-24-06 and UL 60335-1, UL 60335-2-24.
Energy saving
- Always ensure good ventilation. Do not obstruct ventila-tion openings or grilles.
- Never block air slits in the fan.
- Do not install the appliance in direct sunlight or next to a stove, heater or similar heat source.
- Energy consumption depends on installation conditions such as the ambient temperature (see 1.3 Range of appliance use) . A warmer ambient temperature can increase the energy consumption.
- Avoid opening the appliance door for any longer then necessary
- The lower the temperature is set the higher the energy consumption.
- Sort your food items: home.liebherr.com/food.
- All food stored in the appliance should be well wrapped and covered. This prevents frost buildup.
- Only take food out for as long as necessary so that it does not get too warm.
- Insertion of warm foods: first let the food cool down to room temperature.
General safety information
Read and follow these instructions. They contain safety advice which is important for safe and problem-free installation and operation. Always read and follow the safety advice.
Dangers for the user:
- This appliance can be operated by children as well as by persons with reduced physical, sensory or mental capabilities or lack of expe-rience and knowledge if they are supervised or have been instructed in the safe use of the appliance and understand the associated risks. Children must not play with the appli-ance. Cleaning and user maintenance must not be performed by children unless they are supervised. Children between the ages of 3 and 8 may load and unload the appliance. Children under the age of 3 must be kept away from the appliance if they are not constantly supervised.
- When disconnecting the appliance from the outlet, always take hold of the plug. Do not pull on the cable.
- Disconnect the power plug or switch off the power if a fault occurs.
- Do not damage the mains power line. Do not operate the appliance from a defective mains power line.
- Repairs, work on the appliance and replacement of the mains cable should only be carried out by the customer service department or other specifically trained specialist engineers.
- Only install, connect and dispose of the appli-ance in accordance with the instructions.
- Only operate the appliance after it has been installed.
- Please keep the instructions and pass them on to any future owner.
Risk of fire:
- The refrigerant contained within the appliance (specifications on the rating plate) is environ-mentally friendly, but flammable. Leaking refrigerant can ignite.
- Do not damage the pipes of the refrigerant circuit.
- Do not handle ignition sources inside the appliance.
- Do not use electrical devices inside the appliance (e.g. steam cleaners, heaters, ice cream makers, etc.).
- If refrigerant leaks: Remove naked flames or ignition sources located near the area of the leak. Air the room well. Contact the customer service department.
- Do not operate the appliance near explosive gases.
- Do not store or use gasoline or other flam-mable vapors and liquids in the vicinity of this appliance.
- Do not store explosive materials or spray cans with flammable propellants, such as e.g. butane, propane, pentane, etc. in the appli-ance. You can recognize such spray cans by the printed contents or a flame symbol. Any leaking gasses can be ignited by electrical components.
- Alcoholic beverages or other containers holding alcohol must always be tightly sealed for storage purposes. Any leaking alcohol can be ignited by electrical components.
Tipover hazard:
- Do not stand or climb on the base, drawers,doors, etc. This applies in particular to chil-dren.
Risk of food poisoning:
- Do not consume food that has passed its best before date.
Danger of frostbite, feelings of numbness and pain:
- Avoid continued skin contact with cold surfaces or chilled/frozen food or adopt protec-tive measures.
Risk of injury and damage:
- Hot steam may lead to injuries. Do not use any electrical heating or steam cleaning equip-ment, naked flames or defrosting sprays for defrosting
- Do not remove ice with sharp objects
Risk of crushing:
- Do not hold onto the hinge when opening and closing the door. Fingers may get caught.
- California Proposition 65
- This product contains chemicals known to the state of California to cause cancer or reproductive harm.
- This product can expose you to chemicals including Diisononyl Phthalate (DINP) which is known to the State of California to cause cancer. For more information go to www.P65Warnings.ca.gov.
- This product can expose you to chemicals including Di-isodecyl Phthalate (DIDP) which is known to the State of California to cause birth defects or other reproductive harm. For more information go to www.P65Warn-ings.ca.gov.
Symbols on the device:
The symbol can be on the compressor. It refers to the oil in the compressor and refers to the following danger: Can be lethal if swallowed or inhaled. This notice only applies for recycling. There is no danger during normal operation.
The symbol is located on the compressor and indicates the danger of inflammable materials. Do not remove the label.
This label or a similar one can be located on the rear of the appliance. It refers to the foamed-in panels in the door and/or the housing. This notice only applies for recy-cling. Do not remove the label.
Follow the specific instructions in the other sections:
![]() | DANGER | indicates a hazardous situation, which if not avoided, will result in death or serious injury. |
![]() | WARNING | indicates a hazardous situation, which if not avoided, could result in death or serious injury. |
![]() | CAUTION | indicates a hazardous situation, which if not avoided, will result in minor or moderate injury. |
| NOTICE | indicates a hazardous situation, which if not avoided, could result in damage to property. | |
| Note | indicates useful advice and tips |
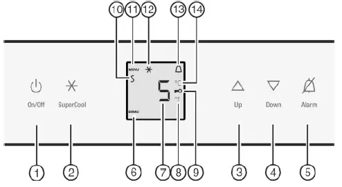
Controls and displays
Operating and control elements

- On/Off button
- SuperCool button
- Up button
- Down button
- Alarm button
- DEMO mode display
- Temperature display
- Fahrenheit display
- Child safety symbol
- Sabbath mode symbol
- MENU symbol
- SuperCool symbol
- Alarm symbol
- Celsius display
Temperature display
The following is displayed in normal operation:
- the average cooling temperature
The temperature display flashes:
- the temperature setting has been changed
The following displays indicate malfunction. Possible causes and corrective actions: (see 7 Troubleshooting.) .
- F0 to F9
Start-up
Transporting the appliance
- Transport the appliance in its packaging
- Transport the appliance upright
- Do not move the appliance on your own
Setting up the device
WARNING
Risk of fire due to short circuit.
If the power cable or plug of the appliance or another appliance and the back of the appliance touch each other the power cable or plug will be damaged by the vibrations of the appliance which could lead to a short circuit.
- Install the appliance so that it does not touch any plugs or power cables.
- Do not connect the appliance or other appliances to the sockets on the back of the appliance.
WARNING
Risk of fire due to moisture!
If live parts or the power cord get wet, this can cause a short circuit.
- The appliance is designed for use in enclosed spaces.
Do not operate the appliance in open space or in damp areas or where there is spray. - Only operate the appliance after it has been installed.
WARNING
Risk of fire due to refrigerant.
The refrigerant contained within the appliance is environmentally friendly, but flammable. Leaking refrigerant can ignite.
- Do not damage the pipes of the refrigerant circuit.
WARNING
Danger of fire and damage!
- Do not place devices that give off heat, e.g. microwaves,toasters, etc. on the appliance.
NOTICE
Risk of damage caused by condensation
Installing the appliance next to any other refrigerator or freezer can cause condensation or damage to the
Liebherr appliance.
- Do not install this appliance next to any other refrigerator or freezer except another Liebherr model. Liebherr models are designed to allow side-by-side installation.
They are equipped with a heating system to eliminate condensation when refrigerators or freezers are installed side-by-side.
NOTICE
Risk of damage for the finished floor surface!
- Protect the finished floor surface before you uncrate the unit.
WARNING
Danger of damage from overheating. May restrict operation.
- Keep ventilation openings, in the appliance enclosure or in the built-in structure, clear of obstruction.
WARNING
Danger of tilting.
- To avoid a hazard due to instability of the appliance, it must be fixed in accordance with the instructions.
- If possible, have a professional install the appliance in your kitchen cabinet unit.
- If the appliance is damaged check with the supplier immediately before connecting it.
- The floor of the installation site must be horizontal and level.
- Do not install the appliance in direct sunlight or next to an oven, heater or similar heat source.
- Do not install the appliance on your own. It is better to do this with two or more people.
- The more refrigerant is in the appliance, the larger the room must be where the device is located. In the case of a leak, a flammable gas-air mixture may be created in a room that is too small. For every 0.28 oz (8 g) of refrigerant, the installation space must be at least 35.5 ft3 (1 m3). Specifications regarding the refrigerant contained within the appliance can be found on the rating plate inside the appliance.
- If the appliance is installed in a very damp environment condensate water may form on the outside of the appliance.
Always ensure good ventilation. - The load-bearing capacity of the floor must be sufficient for the weight of the appliance plus about 1200 pounds (544 kg) of food weight.
- The electrical socket must assessed precisely to ensure the correct position and fuse.
- Do not restrict ventilation. Sufficient ventilation is required for the appliance to operate correctly. The ventilation grid fitted at the factory guarantees an effective ventilation gap on the appliance of 31 in.2 (200 cm2). If you replace the ventilation grid with a fascia, this must have at least the same size or larger ventilation gap as the manufacturer’s ventilation grid.
- Note down the type (model, number), appliance name, appliance or serial number, date of purchase and manufacturer’s address in the place provided for this in the Use & Care Manual.
- Remove all materials that could prevent it from being installed properly or prevent proper ventilation from the back or the side panels of the appliance.
After installation:
- Remove protective films, adhesive tapes and transport safety devices, etc.
Note
- Clean the appliance (see operating instructions, “Cleaning the appliance” section).
Installation
All fasteners are supplied with the appliance

Make sure you have the following tools on hand:
- Cordless screwdriver Torx® 15, 25
- Hex wrench 13
- Torx® 15 screwdriver
- Slot screwdriver 6
- Allen key 8
- Tape measure
- Pencil
- String
- Spirit level
WARNING
Risk of fire due to short circuit!
- When inserting the appliance into the recess do not squash, jam or damage the power cable.
- Do not operate the appliance with a faulty power cable.
Make sure the electrical sockets can be accessed.
Check the installation dimensions


There must be a ventilation gap of at least 200 cm².
If there is not enough ventilation, the appliance will consume more energy.

Fix the foam element centrally in the appliance plinth trim.
The foam element is used to separate the incoming and outgoing air currents and permits sufficient ventilation.
Weight of the unit door
Note
- Before assembling the unit door, make sure that the permitted weight for the unit doors is not exceeded
- Otherwise damage to the telescopic rails and malfunctions arising from this cannot be ruled out.
| Model | Maximum weight of unit door |
| S/UIKo / UPR 513 | 22.05 lbs (10 kg) |
Side fastening
- Installation below hard worktops such as granite.
- With the adjusting feet completely screwed out, the appliance is lower than the counter top.
- Requirement: Cabinet side panel for the screw connection.
Top fastening - When the adjusting feet are screwed out completely, the appliance sits slightly tensioned below the worktop.
- No granite top.
Assembling the appliance

If the appliance plinth trim is already installed, remove it from the front.
- Remove the mains cable from the back of the appliance. Also remove the cable holder, otherwise there will be vibration noise!

- Position the mains cable using a piece of string so that the appliance can easily be connected to the electricity supply after it has been built-in

NOTICE
Risk of damage to delicate floors!
- Place a strip of cardboard under the height-adjustable feet, approx. 4 in.x24 in. (10 cm x 60 cm), one at either side. Cut the strips out of the packaging. If the recess heights are smaller than (826 mm) cut the strips out of a firm but thin material.
- After the appliance has been slid in, remove the strips.

With a 23-5/8 ” (600 mm) wide recess: Do not use strips.
With a 24-0/2 ” (610 mm) wide recess: Place the strips on the side.
- The appliance is to the right of the adjacent cabinet: Fit the strip to the left.
- The appliance is to the left of the adjacent cabinet: Fit the strip to the right.
- Place the strip under the top edge and stick it to the side panel. The strip must not be shortened.
Top fastening

- Insert the bracket in the opening in the top of the appliance and turn it forward.
- Push the appliance into the recess and align it, see Aligning the appliance.
Side fastening:
- Turn both brackets prior to assembly on one end. Insert the straight side in the opening in the top of the appliance and turn it forward.
- Push the appliance into the recess and align it, see Aligning the appliance.
Aligning the appliance
- Unscrew the rear adjusting feet with a screwdriver and the front adjusting feet with an Allen key 8 in an alternating manner until they are below the worktop.
- Align the appliance vertically, using a spirit level.
- The distance between the front edge of the unit side wall and the appliance itself is 1-5/8 ” (41.5 mm) on both sides.
- If there is no cabinet side panel, align it with the work top.
In units with door stop components (knobs, sealing lips, etc.) - Subtract the additional distance (for depth of the door stop components) from the 1-5/8 ” (41.5 mm) insertion depth.
- Unscrew the rear adjusting feet with a screwdriver and the front adjusting feet with an Allen key 8 (for screwed in adjusting feet) or screwdriver (with unscrewed adjusting feet) in an alternating manner as far as possible. The maximum adjustment distance is 2-3/8 ” (60 mm).
- The appliance is aligned vertically
- The appliance is blocked slightly in the recess between the floor and the worktop.

- Insert the foam element in the appliance plinth trim functionally important for separate air currents!

- Push the supplied stainless steel cover trim together and place it on the white appliance plinth trim.

- With the supplied plugs, fasten the cover trim on the right and left on the appliance plinth trim.

- Position the appliance plinth trim (2) but do not fix it yet.
- Position the unit door and unit plinth trim for testing
- If the plinth trim (2) is visible, pull it forward as far as possible so that the front edge of the ventilation grid and the unit plinth trim lie flush.
-oru - If the plinth trim (2) is covered, push it fully back.
- Make sure the ventilation slots are completely unobstructed:
- If necessary, crop the height of the unit plinth trim (U)!
- Adjust the height of the rack (V) below the appliance plinth trim (2) along the width of the recess (W).

- To position and fix the appliance plinth trim: Keep a steady grip on the appliance plinth trim and insert the latch.
- Fix the unit plinth trim.
To secure the appliance in the recess

- To fasten the appliance below the worktop, fasten the mounting brackets with two screws each below the worktop.

- For side fastening, fasten the mounting bracket with a screw on the right and on the left in the recess.
Installing the unit door
- Installing the handle on the unit door
Note
To guarantee that the pull-out compartment will pull-out evenly:
- Always install the unit handle in the middle of the unit door.

- Check the 5/16 ” (8 mm) presetting. (Distance between appliance door and lower edge of crosspiece)
- Raise the fitting aids Fig. 20 (12) to unit door height.
Bottom stop edge of ▲the fitting aid = top edge of the unit door to be fitted. - Unscrew the crosspiece Fig. 20 (11) by undoing the locknuts Fig. 20 (10).

- Hang the crosspiece Fig. 21 (11) on the inside of the unit door using the fitting aids Fig. 21 (12) .
With a 23-5/8 ” (600 mm) wide recess: - Align the crosspiece Fig. 21 (11) to the middle of the door.

With a 24-0/2 ” (610 mm) wide recess: - Align the crosspiece Fig. 22 (11) to the middle of the door.
- Left strip: Move the crosspiece Fig. 22 (11) 1/4 (6 mm) to the left.
-oru
Right strip: Move the crosspiece Fig. 22 (11) 1/4 (6 mm) to the right.
For chipboard doors - Secure the crosspiece Fig. 21 (11) with at least 6 screws Fig. 21 (19) .
For frame and panel doors - Secure the crosspiece Fig. 21 (11) with 4 screws
Fig. 21 (19) at the edge. - Lift up fitting aids Fig. 21 (12) , turn round and insert into the adjacent openings.

- Attach the unit door on the adjusting bolts Fig. 23 (13) and loosely screw locknuts Fig. 23 (10) onto the adjusting bolts.
- Close the door.
- Check the gap between the door and the surrounding unit doors
- To laterally align the unit door Move the unit door in the X direction.
- To align the unit door in the Y direction (height) and in lateral inclination: Adjust the adjusting bolts Fig. 23 (13) with a screwdriver.
- The unit door is flush and in alignment with the surrounding unit fronts
- Tighten the locknuts Fig. 23 (10) .

- Screwing the unit door to the appliance door.
- Drill pilot holes in the door of the unit (you could make a preliminary hole with a bradawl)
- Screw the appliance door to the unit door with screws through the mounting brackets.

- Align the unit door in depth Z : loosen the upper and lower screws on the door, then move the door.
- Do not allow the knobs and sealing lips to contact the door – important for function

- Set an air gap of 1/16 ” (2 mm) between the unit door and the body of the unit.

- Check the fit of the door and re-adjust, if necessary
- Tighten all screws
- Tighten the locknuts Fig. 26 (10) with a hex wrench 13, while counter-holding the adjusting bolts Fig. 26 (13) with a screwdriver.

- Position the upper cover and snap it into place.
Check the following points to make sure the appliance is installed correctly Otherwise, icing up, the formation of condensate, and malfunctions can occur - The door must close properly
- The unit door must not touch the body of the unit
Adjust the fit of the door seal
It may be necessary to adjust the appliance door depending on the weight of the unit door.
After assembling the unit door, check that the door seal is fully fit up against the appliance body.

The adjustment settings are located to the right and left below the bottle shelf on the inner door.
The appliance is delivered with the adjustment setting in the 0 position.
The following settings are possible:
- Inclination ± 1°
- Upward adjustment of 4 mm
- Downward adjustment of 2 mm
- 2 mm adjustment to the left or right
NOTICE
Functional impairments and risk of damage!
- Only use the appliance door adjustment to ensure that the door seal of the pull-out compartment lies 100% up against the appliance body and not to adjust the unit door.
If necessary, place a luminous flashlight inside to check the tight closure of the door.
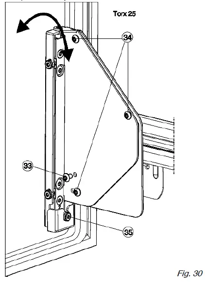
Adjusting the inclination of the door

Note
- Always perform the adjustment on both the right and left side!
- Lift up the pull-out tray

- Fully unscrew the screws Fig. 30 (33) .
- Dispose of the screws Fig. 30 (33) as they will no longer be needed.
- Only loosen the screws Fig. 30 (34) with 1 to 2 turns.
- Turn the adjusting screw Fig. 30 (35) . In a clockwise direction: the top of the door tilts away from the appliance body. In an anticlockwise direction: the top of the door tilts towards the appliance and the bottom tilts away from the appliance body.
- After adjusting the inclination, retighten all screws Fig. 30 (34) .
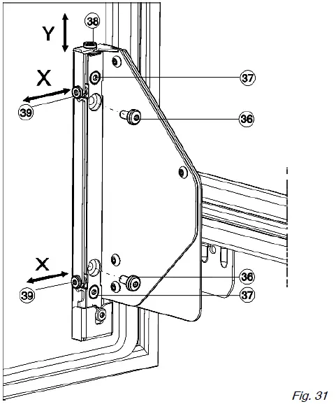
Leveling the door
Note
- Always perform the adjustment on both the right and left side!

Height adjustment, Y:
- Fully screw out the screws Fig. 31 (36) .
- Dispose of the screws Fig. 31 (36) as they will no longer be needed.
- Only loosen the screws Fig. 31 (37) with 1 to 2 turns.
- Turn the adjusting screw (38). In a clockwise direction: the door moves max. 4 mm upwards. In an anticlockwise direction: the door moves max. 2 mm downwards.
- Retighten all screws Fig. 31 (37) .
Lateral adjustment, X:
- If the screws Fig. 31 (36) are still present, unscrew them fully.
- Only loosen the screws Fig. 31 (37) with 1 to 2 turns.
- Adjust the adjusting screws Fig. 31 (39) according to the desired lateral adjustment direction.
- Retighten the screws Fig. 31 (37) after the lateral adjustment is complete.
- Reinsert the bottle shelf Fig. 29 (32) and the pull-out tray Fig. 29 (31) .
Note
Make sure that the pull-out tray is correctly inserted and has engaged.
Otherwise, the door will not close properly. - Insert the pull-out tray flush with the inner door.
Disposal of packaging
WARNING
Danger of suffocation from packaging materials and films!
- Do not allow children to play with packaging materials.
The packaging is made from recyclable materials: - Corrugated card/cardboard
- Parts made of foamed polystyrene
- Films and bags from polyethylene
- Packing bands from polypropylene
- Wood frame nailed together with a polyethylene window*
- Take the packaging material to an official collection point.
Connecting the appliance
WARNING
Electrical shock hazard!
- Start-up should only take place once the appliance has been installed according to these instructions.
- Electrically ground appliance.
- Do not ground to a gas pipe.
- Check with a qualified electrician if you are not sure the appliance is properly grounded.
- Do not have a fuse in the neutral or grounding circuit.
- Do not use an extension cord, power bar or a multiple socket adapter.
- Do not use a power cord that is frayed or damaged.
WARNING
Electrical shock hazard!
This appliance is equipped with a three-prong (grounding) polarized plug for your protection against possible shock hazards. Electrical Grounding Required.
- Do not remove the round grounding prong from the plug.
- Use only an grounded adapter.
- Wait 1 hour after installation before you plug in the appliance. This allows the refrigerant and system lubrication to reach equilibrium.
- Make sure incoming voltage is the same as the appliance rating. A 110-120 Volt, 60 Hz, 15 Amp electrical supply (20 Amp for side-by-side installations) circuit that is controlled by a circuit breaker or fuse is required.
- We recommend using a dedicated circuit for this appliance to prevent electrical overload.
- Follow all Federal, State and local electrical, fire and building codes and ordinances when installing the receptacle and / or the appliance.
- In some communities, a wall switch is required to turn power to the appliance ON and OFF.
- To reduce the risk of fire, electric shock, or personal injury, installation work and electrical wiring must be done by a qualified electrician in accordance with all applicable codes and standards, including fire-rated construction.
- The Power Plug must be easily accessible so that the appliance can be disconnected from the mains quickly in an emergency. It must not be behind the back of the appliance.
- The top of the electric outlet must be located within 82-5/8 in. (2100 mm) from the top of the base in the cabinet.
Switch on the device

- Open the door.
- Press the On/Off button Fig. 2 (1) .
- The temperature display lights up. The appliance is switched on.
- If “DEMO” appears on the display, ‘demonstration mode’ is activated. Contact Customer Service.
Operation
Temperature display unit
The temperature display can be changed from °F to °C.
To change the unit
- To activate setting mode: Press and hold the Super-Cool button Fig. 2 (2) for approx. 5 s.
- The Menu symbol Fig. 2 (11) lights up.

- S is displayed in the temperature display.
- Using Up button Fig. 2 (3) / Down button Fig. 2 (4) select °.
- To confirm: Briefly press the SuperCool button Fig. 2 (2) .
- The temperature unit is displayed.
- To confirm: Briefly press the SuperCool button Fig. 2 (2) .
- ° flashes.
- To exit setting mode: Press On/Off button Fig. 2 (1) .
-oru - Wait 5 minutes.
- The temperature is again displayed in the temperature display.
Child-proof lock
You can use the child-proof lock to lock the buttons. This means that children cannot accidentally switch off the appliance when playing.![]()
Switching on the child proof lock
- Select setting mode: Press and hold the SuperCool button Fig. 2 (2) for approx. 5 seconds.
- S will appear on the display.
- The Menu symbol Fig. 2 (11) lights up.
- Using the Up Fig. 2 (3) or Down button Fig. 2 (4) , select c.
- Press the SuperCool button Fig. 2 (2) briefly to confirm.
- When c1 is shown on the display:
- To switch on the child proof lock, press the SuperCool button Fig. 2 (2) briefly.

- The Child safety symbol Fig. 2 (9) lights up. c flashes on the display.
When c0 is shown on the display:
- The Child safety symbol Fig. 2 (9) lights up. c flashes on the display.
- To switch the child proof lock off, press the SuperCool button Fig. 2 (2) briefly.
- The Child safety symbol Fig. 2 (9) goes out. c flashes on the display.
- To deactivate setting mode: Press the On/Off button Fig. 2 (1) .
-oru - Wait 5 min.
- The temperature is again displayed on the temperature display.
Door alarm
For fridge compartment
If the door is open for longer than 180 seconds, the acoustic warning sounds.
The acoustic warning stops automatically when the door is closed
Switching off the door alarm
The acoustic warning can be switched off when the door is open. The acoustic warning remains switched off as long as the door is open. When the door is closed, the alarm function is active again.
- Press Alarm button Fig. 2 (5) .
- The door alarm stops.
SabbathMode
This function meets the religious requirements of the Sabbath or Jewish festivals. Turn on SabbathMode to switch off certain controls. After setting up SabbathMode, you no longer need to worry about indicator lights, figures, symbols, displays, alarms, or fans. The thawing cycle only operates at the specified time without taking the refrigerator use into account. After a power outage, the appliance
automatically switches back to SabbathMode.
You can find a list of Star-K-certified appliances at
www.star-k.org/appliances.
WARNING
Danger of food poisoning!
If there is a power outage when SabbathMode is on, this message is not saved. When the power is restored, the appliance continues in SabbathMode. Afterwards, the temperature display does not show a message about the power outage.
If there was a power outage during SabbathMode:
- Check the quality of the food. Do not consume spoiled food!
- All functions are locked until SabbathMode is switched off.
- If functions such as SuperFrost, SuperCool, Ventilation, etc. are activated when SabbathMode is on, they remain active.
- No audible signals are emitted, and the temperature display does not indicate any warnings or settings (such as a temperature alarm or door alarm).
- Light does not operate.
Setting Sabbath mode
- To activate setting mode: Press and hold the Super-
Cool button Fig. 2 (2) for approx. 5 s.- S flashes on the display.

- The Menu symbol Fig. 2 (11) lights up.
- S flashes on the display.
- To access the Sabbath mode function: Briefly press the SuperCool button Fig. 2 (2) .
- S flashes on the display.
When S1 is shown on the display:
- S flashes on the display.
- To turn on Sabbath mode, briefly press the
SuperCool button Fig. 2 (2) .
When S0 is shown on the display: - To turn off Sabbath mode, briefly press the SuperCool button Fig. 2 (2) .
- To deactivate setting mode: Press the On/Off button Fig. 2 (1) .
-oru - Wait 5 min.
- The Sabbath Mode symbol Fig. 2 (10) appears on the temperature display as long as Sabbath Mode is active.
- Sabbath mode switches off automatically after 120 hours if it is not manually switched off beforehand.
Refrigerating food
It is coldest directly above the vegetable drawers and at the rear wall. The warmest areas are located in the top front section and in the door.
Note
- Load the pull-out tray with maximum 44.09 lbs (20 kg) of food.
WARNING
Danger of fire
- Do not use electrical appliances inside the food storage compartments of the appliance, unless they are of the type recommended by the manufacturer.
Note
Insufficient ventilation results in an increase in energy consumption and reduction of the refrigerating performance. - Never block the air slits in the fan.
- Store perishable food such as ready-meals, meat and sausage products and in the coldest zone, in the center. Place butter and preserves in the upper area. (see 1 The appliance at a glance)
- Use recyclable plastic, metal, aluminum and glass containers and cling film to wrap foods
- Always store raw meat or fish in clean, closed containers on the lowest shelf in the cooling area so that other food cannot come into contact with it or drip on it.
- Always use closed containers for liquids and for food that may give off or be tainted by odor or flavor transfer or cover them
- Do not store food too close together to enable good air circulation
Setting the temperature
The temperature depends on the following factors:
- the number of times the door is opened
- The duration the door is opened
- the room temperature of the installation location
- the type, temperature and amount of food.
The temperature is continuously adjustable across a range of 36 °F (2 °C) to 49 °F (9 °C), and the advisable range is 39 °F (4 °C). - To set a higher temperature: press the Up button Fig. 2 (3) .
- To set a lower temperature: press the Down button Fig. 2 (4) .
- When pressed once the previously set temperature display value will flash.
- To change the temperature in 1 °F (1 °C) increments:
briefly press the button. - To change the temperature continuously: hold the button down.
- The value is displayed flashing during the setting operation.
- The actual temperature is displayed about 5 seconds after the last press of a button. The temperature slowly adjusts to the new value.
SuperCool

SuperCool is for maximum cooling. This option is for very low temperatures:
- In the fridge compartment
Use SuperCool to quickly cool large amounts of food.
If SuperCool is on, the fan* may come on. The appliance works at maximum refrigerating power. The sound of the refrigeration unit may be temporarily louder as a result.
SuperCool will use more energy than normal operation.
Activating SuperCool
- Briefly press the SuperCool button Fig. 2 (2) .
- The SuperCool symbol Fig. 2 (12) lights up in the display.
- The cooling temperature drops to the coldest value.
- SuperCool is on.
- SuperCool switches off automatically. The appliance continues to work in normal energy-saving mode.
To prematurely switch off SuperCool
- Briefly press the SuperCool button Fig. 2 (2) .
- The SuperCool symbol Fig. 2 (12) goes out in the display.
- SuperCool is switched off.
Egg tray
You can take out and rotate the egg tray. You can use the two parts of the egg tray to mark different use-by dates, for example.
- Use the top part to store e.g. chickens’ eggs.
- Use the bottom part to store quails’ eggs.
Moving the supporting bars
CAUTION
Danger of lacerations!
The storage shelf can shatter if dropped or mishandled.
You could cut yourself on the pieces of broken glass.
- Only remove storage shelves when there is nothing on them.

- Grasp the right and left supporting bars and carefully remove them from above and then insert them in the new position until the mounts engage.

- The partition can be used to divide the pull-out tray.
Insert the partition on the guide racks or simply pull them out from the top.
Storing in the lift-up box

Unopened and securely closed bottles, packages and vegetables can be stored in the lift-up box.
Note
- Do not load the lift-up box with more than 4kg.
Maintenance
Thawing
Defrosting the refrigerator
WARNING
Appliance incorrectly defrosted!
Injuries and damage.
- Do not use mechanical devices or other means to accelerate the defrosting process, other than those recommended by the manufacturer.
- Do not use any electrical heating or steam cleaning equipment, naked flames or defrosting sprays.
- Do not remove ice with sharp objects.
- Do not damage the pipes of the refrigerant circuit.
The fridge compartment defrosts automatically. The defrosted water will evaporate. Water drops or a thin layer of frost or ice can form on the back wall; this is a completely normal part of the machine’s function. - Clean the drain opening regularly so that the condensation water can drain away. (see 6.2 Cleaning the appliance)
Cleaning the appliance
Clean the appliance regularly.
WARNING
Danger of electric shock.
- Unplug refrigerator or disconnect power.
WARNING
Danger of fire
- Do not damage the refrigerant circuit.
WARNING
Risk of injury or damage due to hot steam.
Hot steam can cause scalding/burns and damage to surfaces.
- Do not use steam cleaners.
NOTICE
Incorrect cleaning damages the appliance.
- Do not use concentrated cleaning agents.
- Do not use steel wool or sponges that scour or scratch.
- Do not use caustic or abrasive cleaning materials or those containing sand, chloride, or acids.
- Do not use chemical solvents.
- Do not damage or remove the rating plate on the inside of the appliance. It is vital for the customer service department.
- Do not pull off, kink or damage any cables or other components.
- Do not let cleaning water get into the drain gutter, the ventilation grille and electrical parts.
- Use soft cleaning cloths and a multi-purpose cleaning agent with a neutral pH value.
- Only use food-compatible cleaning and care agents inside the appliance.
- Empty the appliance.
- Disconnect the power plug.

- Clean the plastic surfaces, outside and inside, by hand using lukewarm water and a little dish washing liquid.
- To clean the drain opening: Remove deposits with a thin instrument, e.g. a cotton bud.

- Most of the equipment parts can be dismantled for cleaning: see the respective chapter.

- To remove the rack: lift up at the back as in the picture and pull out forwards.
Note - If the storage compartment can no longer be pulled out as far as it could initially, pull the telescopic rails out fully once. The ball bearing cage on the telescopic rails will then re-align and it will be possible to pull the compartment out fully again.
- Clean the telescopic rails with a damp cloth only. The grease in the tracks is for lubrication purposes and should not be removed.

- To dismantle the rack:lift the supporting bars upward, pull out the retainers. The front and rear supporting bars, as well as the glass base are free.

- To insert the rack: Push the telescopic rails in.
- Put the storage compartment on the telescopic rails and push backwards until it clicks into place.
After cleaning:
- Wipe the appliance and accessories dry.
- Connect the appliance and switch it on again.
When the temperature is sufficiently cold: - put the food back in the appliance.
Customer service
First check whether you can remedy the fault yourself.
(see 7 Troubleshooting.) . If this is not the case, please contact Customer Service.
WARNING
Risk of injury from repairs by non-professionals.
- Repairs and work on the appliance and the power supply cable not described in the Manual (see 6 Maintenance) should only be carried out by a qualified service provider.
- Read the appliance designation
Fig. 37 (1) , service no. Fig. 37 (2) and serial no. Fig. 37 (3) from the rating plate. The rating plate is located inside the appliance on the left-hand side.
- Notify a qualified service provider, specifying the fault, appliance designation Fig. 37 (1) , service no. Fig. 37 (2) and serial Fig. 37 (3) no.
- This will help us to provide you with a faster and more accurate service.
- Keep the appliance closed until the Customer Service engineer arrives.
- The food will stay cool longer.
- Disconnect the power plug (do not pull on the power cord to do this) or switch off the fuse.
Appliance Information
Make a note of this information when the appliance is installed:
Type Designation: _____________________
Service Number: _____________________
Appliance / Serial Number: _____________________
Date of purchase: _____________________
Where purchased:
Troubleshooting.
Your appliance is designed and manufactured for reliable operation and a long lifespan. If a malfunction nonetheless occurs during operation, please determine if the malfunction is due to an operating error. If a service call determines operator error, you will be charged for the costs incurred, even during the warranty period. You may be able to rectify the following problems yourself:
| Defect | Cause | Remedy |
| The appliance does not work. | The appliance is not switched on. | ► Switch on the appliance. |
| The power plug is not properly inserted in the wall socket. | ► Check the power plug. | |
| The fuse in the wall socket is not OK. | ► Check the fuse. | |
| Power failure | ► Keep the appliance closed. ► Protect the food: place dry ice on top of the food or use an alternate freezer, if the power failure persists for some time. ► Do not re-freeze defrosted food. | |
| The compressor runs for a long time. | When less refrigeration is required, the speed-controlled compressor switches to a low speed. Although the running time is increased as a result, energy is saved. | ► This is normal in energy-saving models. |
| SuperCool function is activated. | ► The compressor runs long to rapidly cool food. This is normal. | |
| An LED at the lower rear of the appliance (near the compressor) flashes regularly every 5 seconds*. | There is a fault. | ► Contact the customer service department (see 6 Maintenance) . |
| Noises are too loud. | The different speed levels of speed- controlled* compressors can cause them to generate various noises during operation. | ► These noises are normal. |
| A gurgling sound | This sound comes from the refrig- erant flowing in the refrigeration circuit. | ► The sound is normal. |
| A faint clicking sound | The sound always occurs when the refrigeration unit (the motor) auto- matically switches on or off. | ► The sound is normal. |
| A hum. It is briefly a little louder when the refrigeration unit (the motor) switches on. | The refrigeration increases automat- ically when the SuperCool function is activated, fresh food has just been placed in the appliance or the door has been left open for a while. | ► The sound is normal. |
| The ambient temperature is too high. | ► Solution: (see 1.3 Range of appliance use) | |
| A low hum | The sound occurs as a result of fan air flow. | ► The sound is normal. |
| Vibration noise | The appliance is not standing firmly on the floor. As a result, objects and adjoining units are set into vibration by the running refrigeration unit. | ► Check the installation and realign the appliance if necessary. ► Move bottles and containers apart. |
| Defect | Cause | Remedy |
| The temperature display indi- cates: F0 to F9. | There is a fault. | ► Contact the customer service department (see 6 Maintenance) . |
| DEMO lights up in the tempera- ture display. | The demo mode is activated. | ► Contact the customer service department (see 6 Maintenance) . |
| The outside surfaces of the appliance are hot*. | The heat of the refrigerant circuit is used to prevent condensate from forming. | ► This is normal. |
| The temperature is not cold enough. | The door of the appliance is not closed properly. | ► Close the appliance door. |
| Insufficient ventilation. | ► Clear and clean the ventilation grille. | |
| The ambient temperature is too high. | ► Solution: (see 1.3 Range of appliance use) | |
| The appliance was opened too frequently or for too long. | ► Wait to see whether the required temperature resets itself by itself. If not, contact the customer service department (see 6 Maintenance) . | |
| The temperature is incorrectly set. | ► Set to a colder temperature and check after 24 hours | |
| The appliance is too near to a heat source (stove, heater etc). | ► Change location of appliance or the heat source. | |
| The appliance was not properly installed in the recess. | ► Make sure the appliance was installed correctly and the door closes properly. | |
| The interior light does not turn on. | The appliance is not switched on. | ► Switch on the appliance. |
| The door was open for longer than 15 min. | ► The interior light automatically switches itself off if the door remains open for approx. 15 min. | |
| The LED interior light is faulty or the cover is damaged: | WARNING Risk of injury from electrical shock. Live parts are under the cover. ► The LED interior light should only be replaced or repaired by the Customer Service department or by engineers trained to do so.
WARNING Risk of injury from LED lamp! The light intensity of the LED lighting corresponds to risk group RG 2. If the cover is faulty: ► Do not gaze directly at this lighting unit with optical lenses while very close to the light source. This can cause damage to your eyes. | |
| The door seal is defective or should be | The door seal is interchangeable. You can replace it without the use of any special tools. | ► Contact the customer service department (see 6 Maintenance) : |
| Defect | Cause | Remedy |
| replaced for other reasons. | ||
| The appliance is iced up or condensation is building. | The door seal may have slipped out of its groove. | ► Check the door seal is well placed in the groove. |
| Grinding noise when opening or closing the door. | The position of the door is not correctly adjusted. | ► Correctly adjust the position of the door. (see 4.4 Adjust the fit of the door seal) |
Putting appliance out of service
Vacation Tips
Short vacations: If you will be away for less than four weeks
- Use all perishables.
Long vacations: If you will be away for a month or more - Remove all food from the appliance.
- Turn OFF the appliance.
- Clean the appliance (see 6.2 Cleaning the appliance) .
- Leave the door open to prevent unpleasant odors.
- This will also keep mold from building up.
8.2 Switching the device off
- Press and hold the On/Off button Fig. 2 (1) until the display becomes dark. Release the button.
- If the appliance cannot be switched off, the Child Safety function is still activated (see 5.2 Child-proof lock) .
Decommissioning
- Empty the appliance.
- Switch off the appliance (see 8 Putting appliance out of service) .
- Pull out the power plug.
- Clean the appliance (see 6.2 Cleaning the appliance) .
- Leave the door open to prevent bad smells.
Disposing of the appliance
Follow the local regulations for the disposal of appliances.
Old appliances can be dangerous. Contact the local refuse collection department for additional information.
DANGER
There is a risk of suffocation.
Children playing can shut themselves in and suffocate.
- Take the door(s) off.
- Remove the drawers.
- Leave the storage shelves in the appliance so that children cannot easily climb into the appliance.
WARNING
Danger of electric shock.
- Cut off the plug from the power cord and discard.
- Cut off the power cord from the discarded appliance.
Dispose of separately from the appliance.
Ensure during and after disposal that the appliance isn’t stored in the vicinity of gasoline or other flammable vapors and liquids.
When disposing of the appliance, ensure that the refrigeration circuit is not damaged to prevent uncontrolled escape of the refrigerant it contains (data on type plate) and oil.
For Service in the U.S.:
Liebherr Service Center
Toll Free: 1-866-LIEBHER or 1-866-543-2437
[email protected]
PlusOne Solutions, Inc.
3501 Quadrangle Blvd, Suite 120
Orlando, FL 32817
For Service in Canada:
Liebherr Service Center
Toll Free: 1-888-LIEBHER or 1-888-543-2437
www.euro-parts.ca
EURO-PARTS CANADA
39822 Belgrave Road
Belgrave, Ontario, N0G 1E0
Phone: (519) 357-3320
Fax: (519) 357-1326
References
Richtig einräumen. Länger genießen. | Liebherr
Euro-Parts Canada | After Sales Service for Residential Appliance Brands
Welcome to Liebherr Appliances | Liebherr
P65Warnings.ca.gov
Kosher Certificates | Kosher Certification | Star-K
Sabbath Mode Appliances | Star-K
Richtig einräumen. Länger genießen. | Liebherr















































