SIGNATURE HARDWARE 440739 Worthington Understand Wall Lamp Wall Applique

Product Information
The WORTHINGTON SKU: 944740 is an electric fixture that requires professional installation. It is designed to be installed on a sink or countertop and features a circular strap for secure mounting. The fixture includes a glass shade and socket for holding a light bulb (not provided). The maximum wattage capacity recommended on the socket should not be exceeded.
Cleaning the fixture should be done with a soft cloth while the glass can be cleaned with mild soap. Abrasive materials such as scouring pads or powders, steel wool, or abrasive paper should not be used to clean the fixture.
If you have any product or installation questions, please call customer service at 1-800-221-3379 or check out the Help Center at www.signaturehardware.com for further information or warranty details.
Product Usage Instructions
- Consult a professional if you are unfamiliar with installing electric fixtures.
- Ensure that you have gathered all the required materials needed for installation.
- Observe all local plumbing and building codes when installing.
- Unpack and inspect the product for shipping damage.
- Thread the mounting screws into the matching holes in the circular strap.
- Secure the circular strap to the outlet box with outlet box screws.
- After wires are connected, tuck them carefully inside the outlet box.
- Raise the front plate allowing for the mounting screws to protrude through the holes on the front plate and secure with the ball nuts.
- Place the glass and shade over the socket and secure with the retaining ring.
- Install a light bulb (not provided) but do not exceed the maximum wattage capacity recommended on the socket.
Note: If you have electrical questions, consult your local electrical code for approved grounding methods.
BEFORE YOU BEGIN
We recommend consulting a professional if you are unfamiliar with installing electric fixtures. Signature Hardware accepts no liability for any damage to the faucet, plumbing, sink, counter top, or for personal injury during installation.Observe all local plumbing and building codes. Unpack and inspect the product for shipping damage. If any damage is found, contact our Customer Relations team via live chat at www.signaturehardware.com or by emailing [email protected].
GETTING STARTED
Ensure that you have gathered all the required materials that are needed for the installation.
ADDITIONAL QUESTIONS?
Still need help? Check out our Help Center at www.signaturehardware.com for product and warranty information, or contact us through live chat or by emailing [email protected].
FOR YOUR SAFETY
WARNING: Be sure the electricity to the wires you are working on is shut off, either the fuse is removed or the circuit breaker is shut off. You don’t need special tools to install this fixture. Be sure to follow the steps in the order given. Under no circumstances should a fixture be hung on house electrical wires, nor should a swag type fixture be installed on a ceiling which contains a radiant type heating system. Read instructions carefully. If you are unclear as to how to proceed, consult a qualified electrician.
CARE INSTRUCTIONS
To clean, wipe fixture with a soft cloth. Clean glass with a mild soap. Do not use abrasive materials such as scouring pads or powders, steel wool or abrasive paper.
TOOLS AND MATERIALS:

INSTALLATION

- Thread the mounting screws (A) into the matching holes in the circular strap (B).
- Secure circular strap (B) to the outlet box with outlet box screws (C).
- Connect the white wire from the fixture to the white wire from the outlet box and the black wire from the fixture to the black wire from the outlet box. Cover the two wire connections using the two provided wire connectors. Wrap the two wire connections with electrical tape for a more secure connection. Attach the grounding wire connections with electrical tape for a more secure connection. Connect the copper ground wires from the fixture and from the outlet box to the ground screw on the circular strap.
Note: If you have electrical questions, consult your local electrical code for approved grounding methods. - After wires are connected, tuck them carefully inside outlet box. Raise the front plate (D) allowing for the mounting screws (A) to protrude through the holes on front plate (D), and secure with the ball nuts (E).

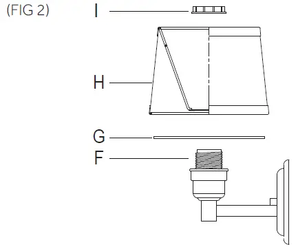
- Place the glass (G) and the shade (H) over the socket (F) and secure with the retaining ring (I).
- Install light bulb (Not provided). Please do not exceed the maximum wattage capacity recommended on the socket.
1.855.715.1800
signaturehardware.com



















