
DIGITAL CAMERAS
Quick Start Guide
Polar cam
Nebula pro cam
Nebula nano cam
Nebula micro cam

Introduction
Caddx digital camera series supports up to 720p video output.
Compatible with Vista ard Air unit modules that can be mounted on racing drones and used wth DJI FPV goggles.
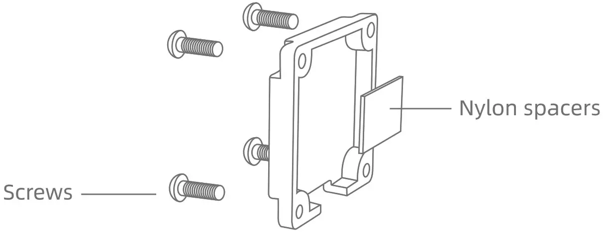
Remove the back cover screws.
Install coaxial cable.
- Back cover
- Screw
- Coaxial cable

Polar camera supports menu board adjustment, this function needs self-soldering, please be CAREFUL not to damage the camera structure during welding.
- Remove the screws of the back cover.

- Solder the menu wire and the gnd wire.
Install the back cover. connect the OSD menu board.

- Left/Right button
Control the increase or decrease of saturation. - Up/Down button
Control the increase or decrease of brightness. - Middle button
Short press to save, long press for 3 seconds to restore factory settings.
* Menu board needs to be purchased separately
Camera parameters
| Model | Polar cam |
| Weight | 9g |
| Dimensions | 19×19 x24 mm |
| Image ratio | 16:09 |
| Min. Latency | 720p 60fps < 32ms |
| Sensor | 1/1.8″ CMOS Aperture: F/1.6 Shutter: Rolling shutter Min. Illumination: 0.00003Lux !so: 100-25600 |
| FOV | 162°(D);138°(H);75°(V) |
| Model | Nebula pro |
| Weight | 6 g |
| Dimensions | 19×19 x20 mm |
| Image ratio | 16:9/4:3 |
| Min. Latency | 720p 120fps < 28ms 720p 60fps < 32ms |
| Sensor | 1/3.2″ CMOS Shutter: Rolling shutter! so: 100-25600 |
| FOX | 150° (D);122° (H);93° (V) |
| Model | Nebula nano |
| Weight | 3.5 g |
| Dimensions | 14 x 14 X21 mm |
| Image ratio | 16:09 |
| Min. Latency | 720p 60fps < 32ms |
| Sensor | 1/3.2″ CMOS Shutter: Rolling shutter Iso: 100-25600 |
| FOX | 138° (D);122° (H);75° (V) |
| Model | Nebula micro |
| Weight | 5.8 g |
| Dimensions | 19 x19 x20 mm |
| Image ratio | 16:09 |
| Min. Latency | 720p 60fps < 32ms |
| Sensor | 1/3.2″ CMOS Shutter: Rolling shutter Iso: 100-25600 |
| FOX | 138° (D);122° (H) ;75° (V) |
Support
Contact:[email protected]

Caddxfpv official website
This content is subject to change.
Download the latest version from
https://www.caddxfpv.com




















