FPV AIR UNIT
Quick Start Guide
Caddx air unit

Disclaimer
Congratulations on purchasing your new CADDXFPV product. The information in this document affects your safety and your legal rights and responsibilities. Read this entire document carefully to ensure proper configuration before use. Failure to read and follow instructions warnings in this document may result in serious injury to yourself or others, damage to your CADDXFPV product, or damage to other objects in the vicinity. This document and all other collateral documents are subject to change at the sole discretion of CADDXFPU.
Visit www.caddxfpv.com for the latest information on this product.
By using this product, you hereby signify that you have read this disclaimer and warning carefully and that you understand and agree to abide by the terms and conditions herein. You agree that you are solely responsible for your own conduct while using this product, and for any consequences thereof. You agree to use this product only for purposes that are proper and in accordance with all applicable laws, rules, and regulations, and all terms, precautions, practices, policies, and guidelines CADDXFPV has made and may make available.
CADDXFPV accepts no liability for damage, injury, or any legal responsibility incurred directly or indirectly from the use of this product. The user shall observe safe and lawful practices including, but not limited to, those set forth in this document.
Notwithstanding the above, your statutory rights under applicable national legislation are not affected by this disclaimer.
Introduction
The CADDXFPVAir Unit is an advanced video transmission module that supports a 5.8 GHz digital video signal and 720p 120fps image transmission, with a transmission range of up to 4 km and a minimum end-to-end latency within 28 ms’. The air unit can be mounted on a racing drone and used with DJI FPV Goggles or a remote controller to transmit video, control signals, and flight controller information wirelessly.

- MMCXAntenna Ports Link Button
- 3-in-1 Port Linking Status Indicator
- USB-C Port Camera
- microSD Card Slot
- Link Button
- 3-in-1 Port Linking Status Indicator
- Camera
*The end-to-end latency is the total time from camera input to screen display. The device is able to reach its minimum latency and maximum transmission distance (FCC) in a wide-open area with no electromagnetic interference.
Connection
Refer to the illustration below to mount and connect the air unit to a racing drone.

3-in-1 Cable (Power, DJI HDL, UART)
RED: Power (7.4-11.6V)
BLACK: PowerGND
WHITE: UART RX (Connects to Flight Controller OSDTX.0-3.3V)
GRAY: UART TX (Connects to Flight Controller OSD RX, 0-3.31)
BROWN: Signal GND
YELLOW: DJI HDL (Connects to Might Controller S.Bus, 0-3.3Y)
Electric soldering iron and soldering tin are required for connection. Make sure that there are no short circuits or open circuits when soldering the cables.- There are up to eight channels for the air unit depending on the region (FCC: eight, CE/SRRC: four, MIC: three). Each channel has a bandwidth of 20 MHz. The public channel is 8, which is the default channel when the equipment is powered The channel can be changed manually to avoid interference from other devices.
The air unit may become hot during or after the operation.
DO NOT touch the air unit before it cools down.- DO NOT use the air unit for an extended period when the temperature is high or there is poor ventilation. Otherwise, the air unit may overheat and enter low-power mode which will affect its performance. If the air unit enters low-power mode, restart it or wait for it to cool down and it will automatically return to normal.
- Keep the antennas of the air unit at least 40 mm apart. Keep the air unit away from metal objects or carbon fiber frames. Make sure to choose a position where the transmission will not be blocked during flight.
Activation
When powered on, connect the air unit to your computer and run DJI ASSISTANT’ 2 for activation.
Download DJI Assistant 2 at https://www.dji.com/fpv/downloads
Linking
The air unit support three linking methods: A, B, and A+B (Must link A before B).

- Power on the air unit and the DJI FPV Goggles.
- Press the link button on the air unit and the goggles.
- The linking status indicator of the air unit turns solid green.
The goggles stop beeping when successfully linked and the video display is normal

- Power on the air unit and the DJI FPV Remote Controller.
- Press the link button on the air unit, and then press the record button, C button, and right dial on the remote controller ‘
- Both the linking status indicators turn solid green when successfully linked.
*When ready to link, the devices will give the following indication:
Air unit: the linking status indicator turns solid red.
Goggles: the goggles beep continually.
Remote controller: the remote controller beeps continually and the status indicator blinks blue.
OSD display settings
After connecting the UART cable to the flight Coritruiter.
take the Betaflight flight controller software setting as an example. Open the corresponding UART port and click save.
- Select telemetered and OSD.click save.

- Select the display content you need on the OSD page (some OSD are not supported, please wait for subsequent updates)

- Select Settings-Display-Custom OSD ON in DJI FPV Goggle
Operating channel
Central frequency(MHZ) | Channel1 | Channel2 | channel3 | Channel4 | Channel5 | Channel6 | Channel7 | Channel8 |
| FCC | 5660 | 5695 | 5735 | 5770 | 5805 | 5878 | 5914 | 5839 |
| CE/SRRC | 5735 | 5770 | 5805 | – | – | – | 5839 | |
| MIC | 5660 | 5700 | – | – | 5745 |
Make sure you fully understand and abide by local laws and regulations before using this product. An amateur radio license may be needed in FCC regions when using channels 1,2,6, or 7, as they are amateur frequency bands. Users who use the amateur frequency bands with a modified or cracked version or without a license may be punished for breaking local laws or regulations.
Specifications
Weight: Air Unit(Cam not included): 31g Antenna: 3.74 g (MMCX straight); 3.9 g (MMCX elbow);
Dimensions:Air Unit: 44 x37.8 x 14.4 mm Coaxial Cable: 110 mm
Operating Frequency:5.725-5.850 GHz
Transmitter Power (EIRP):FCC/SRRC: <30 dBm;CE: <14 dBm
Min. Latency (end-to-end):Low latency Mode (720p 120fps): <28 ms;
High Quality Mode (720p 60fps): <40 ms
Max. Transmission Distance Video Format:FCC/SRRC: 4 km; CE: 0.7 km;
I/O Interface:MP4 (Video format: 1-1264; Audio format: AAC-LC)
Supported Flight Control System:BetaFlight
Operating Temperature Range:0° to 40° C (32° to 104° F)
Input Power:7.4-17.6V
Camera parameters
Model:Caddx cam
Weight:8g
Dimensions:20.7 x 19 x 19mm
Image ratio:16:9/4:3
Min.Latency:720p 120fps < 28ms 720p 60(ps < 32ms
Sensor :1/3.2″ CMOS
Shutter: Rolling shutter !so: 100-25600
FOV :50° (D);122° (M) ;93° (V)
Model:Polar cam
Weight :9 g
Dimensions:24x19x19 mm
Image ratio :16: 9
Min.Latency :720p 60fps < 32ms
Sensor: 1/1.8. CMOS Aperture: F/1.6 Shutter: Rolling shutter !so: 100-25600 Min. Illumination: 0.00003Lux
FOV: 162°(D);138°(H):75°(V)
The polar camera supports menu board adjustment, this function needs self-soldering, please be CAREFUL not to damage the camera structure during welding.
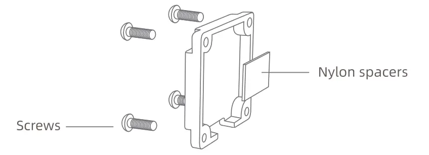
- Remove the screws of the back cover. Remove the nylon spacers.

- Solder the menu wire and the ground wire. Install the back cover. Connect the OSD menu board.
1. Left/Right button
Control the increase or decrease of saturation.
2. Up/Down button
Control the increase or decrease of brightness.
3. Middle button
Short press to save, long press for 3 seconds to restore factory settings.
*Menu board needs to be purchased separately
CADDXFPV Support
Email:[email protected]
https://api.erweicaihong.cn/DMBG
Caddxfpv official website
This content is subject to change.
Download the latest version from https://www.caddxfpv.com/pega/download
After connecting the UART cable to the flight Coritruiter.



1. Left/Right button

















