CADDX Vista Kit Nebula Nano Cam

Introduction
The CADDXFPV Vista is an advanced video transmission module that supports a 5.8GHz digital video signal and 720p 120fps image transmission,with a transmission range of up to 4 km and a minimum end-to -end latency within 28ms”. The vista can be mounted on a racing drone and used with OJI FPV Goggles or a remote controller to transmit video,control signals, and flight controller information wirelessly.

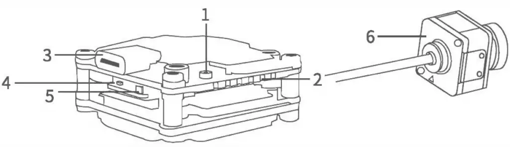
- lPEXAntenna Ports
- 3-in-1 Port
- USB-C Port
- Linking Status Indicator
- Link Button
- Camera
* The end-to-end latency is the total time from camera input to screen display. The device is able to reach its minimum latency and maximum transmission distance (FCC) in a wide open area with no electromagnetic interference.
Connection
Refer to the illustration below to mount and connect the vista to a racing drone.


Activation
When powered on, connected the vista to your computer and run DJI ASSIST ANTTM2 for activation.During the activation and upgrade process,there is a lot of heat.Please avoid direct contact to prevent burns.Overheating may lead to upgrade failure and unable to boot normally.You need to aware of the ambient temperature and use a fan to assist cooling.The warranty service does not support the crash caused by firmware refresh.
Download DJI Assistant2 at https://www.dji.com/fpv/downloads
Linking
The vista support there linking methods:A. B, and A+B
(Must link A before B).

- Power on the vista and the OJI FPV Goggles.
- Press the link button on the vista and the goggles.”
- The linking status indicator of the vista turns solid green. The goggles stop beeping when successfully linked and the video display is normal.

- Power on the vista and the OJI FPV Remote Controller.
- Press the link button on the vista, and then press the record button, C button, and right dial on the remote controller simultaneously.*
- Both the linking status indicators turn solid green when successfully linked.
* When ready to link, the devices will give the following indication: Vista: the linking status indicator turns solid red.
Goggles: the goggles beep continually.
Remote controller: the remote controller beeps continually and the status indicator blinks blue.
OSD Display Settings

- After connecting the UART cable to the flight controller. Take the Betaflight flight controller software setting as an example. Open the corresponding UART port and click save.

- Select telemetered and OSD. clicksave.

- Select the display content you need in the OSD page (some OSD are not supported,please wait for subsequent updates)

- Select Settings-Display-Custom OSD ON in DJI FPV Goggle
Operating Channel

Make sure you fully understand and abide by local laws and regulations before using this product.An amateur radio license may be needed in FCC regions when using channels 1,2, 6,or 7, as they are amateur frequency bands.Users who use the amateur frequency bands with a modified or cracked version or without a license may be punished for breaking local laws or regulations.
Specifications
- Weight – Vista: 18.5 g (Antenna: 2.5g/1.5g )
- Dimensions – Vista: 30X29Xl3.5 mm (Coaxial Cable: 120 mm)
- Operating Frequency – (5.725-5 .85 0 GHz)
- Transmitter Power (EIRP) – FCC/SRRC: <30 dBm; CE;<l4dBm
- Min. Latency (end-to-end) – Low Latency Mode (720p 120fps): <28ms; High Quality Mode (720p 60fps): <40ms
- Max. Transmission Distance – FCC/SRRC: 4 km; CE: 0.7 km;
- 1/0 Interface – USB-C, IPEX, 3-in- l port
- Supported Flight Control System Operating – Beta Flight
- Temperature Range – 0°C to 40°C (32° to 104°F)
- Input Power – 7.4-26.4 V
Camera Parameters
- Model – Polar cam
- Weight – 9g
- Dimensions – 19xl9x24mm
- Image ratio – 16 : 9
- Min. Latency – 720p 60fps < 32ms
- Sensor – 1/1.8″ CMOS Aperture: F/1.6 Shutter: Rolling shutter Iso: 100-25600
- Min. Illumination: 0.00003 Lux
- FOV – 162°(D); l38′(H); 75°M
- Model – Nebula pro
- Weight – 6g
- Dimensions – 19x19x20 mm
- Image ratio – 16:9 / 4:3
- Min. Latency – 720p 120fps < 28ms – 720p 60fps < 32ms
- Sensor – 1/3.2″ CMOS Shutter: Rolling shutter Iso: 100-25600
- FOV – 150° (0); 122° (H); 93° (V)
- Model – DJIcam
- Weight – 8.2 g
- Dimensions – 21.1×20.1×27.4 mm
- Image ratio – 16:9/4:3
- Min. Latency – 720p 120fps < 28ms – 720p 60fps < 32ms
- Sensor – 1/3.2″ CMOS Shutter: Rolling shutter Iso: 100-25600
- FOV – 150° (0); 122° (H); 93° (V)
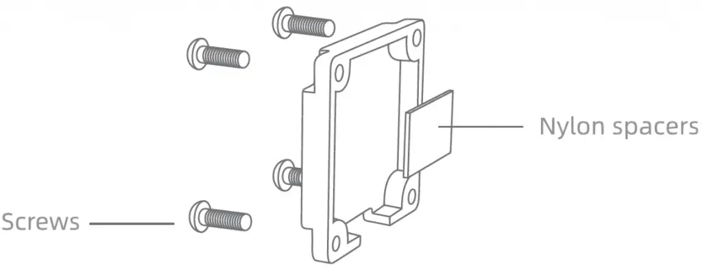
Polar camera supports menu board adjustment, this function needs self-soldering, please be CAREFUL not to damage the camera structure during welding.
- Remove the screws of the back cover. Remove the nylon spacers.

- Solder the menu wire and the gnd wire.
Install the back cover. Connect the OSD menu board.
- Left/Right Button
Control the increase or decrease of saturation. - Up/Down Button
Control the increase or decrease of brightness. - Middle Button
Short press to save, long press for 3 seconds to restore factory settings.
* Menu board needs to be purchased separately.
This content is subject to change.
Down load the latest version from
https://www.caddxfpv.com/pega/download

























