
INSTALLATION MANUAL
TRENDLINE PLUS 70
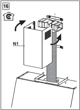
Warning! Before proceeding with installation, read the Recommendations and Suggestions in the User Manual.


































Franke S.p.a.
Via Pignolini, 2
37019 Peschiera del Garda (VR)
www.franke.it
991.0554.232_01 – 180706
D00004908_00















