RU-88079 Tara Starter Set Dimmer Switch
User Guide
RU-88079 Tara Starter Set Dimmer Switch
Tara Starter-Set
The
Tara LED rigid bar is only suitable for installation in dry indoor rooms.
Risk of electric shock!
There is no warranty coverage for any lights installed without observing european safety directives. Switch off voltage before installation. Ensure that the voltage cannot be accidentally turned on again.
Caution!
Only connect the
Tara LED rigid bar to a suitable power supply (12 V DC) (in scope of delivery).
Connect
Tara LED rigid bar in parallel.
Scope of delivery
2 x
Tara, LED rigid bar
4 x mounting clip
4 x screw
1 x end cap
1 x power connector – female
1 x plug power supply – male
1 x Dimmer switch Touch male-female
Technical data
| Power supply | 12 V power supply with constant output voltage |
| Power | 2 x 5 W |
| Current strength | 2 x 0,41 A |
| Beam angle | 90° |
| Quantity LED | 2 x 84 |
| Length | maximum 2 metres per connection |
| Dimensions | 512 x 12,6 x 10 mm |
| Compliant with the applicable european CE directives | |
| Safety class 3 – low voltage protection | |
| Suitable for indoor use only, IP 40 | |
| Luminaires for fire-hazardous places of operation. Temperature of horizontal surfaces during normal operation maximum 90° C. Glass sur faces of fluorescent lamps maximum 150° C. |
Installation instruction:
1. Mounting clip
- Pull a parallel string where the LED rigid bar will be installed (figure 1).
Surface on which the LED rigid bar is installed (inverse, vertical, horizontal or 90° vertically baseline for assembly
- Fix mounting clips on the base line and the distance depend on practical situation (figure 2 + 3).

- After the mounting clip is fixed, snap the groove of he LED rigid bar bottom into the clip (figure 4 + 5).

2. Magnetic holder instruction
Using the magnets on the back, the LED rigid bar can easilybe attached to any magnetic surface.
As soon as the first LED rigid bar is in the correct position, further LED rigid bars can be connected. Connection before the finished installation is not permitted. A maximum of 2 metres
Tara can be realized with one connection.
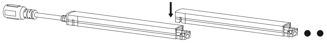
Connecting several LED rigid bars and power supply
- Snap the front plug into wire socket from top down, when connect another LED rigid bar, the end cap need to be removed.

- Snap the front plug of the second strip into the first LED rigid bar, then connected in turn.

- When the last LED rigid bar has been connected, the end cap can be snapped on from the top.

4. As last step, install the Dimmer switch Push between power connector and plug power supply by male and female plugs.
Disposal
Dispose of electrical and electronic equipment in an environmentally friendly manner. Please contact your local council for further information.
This product contains light sources of energy efficiency class F.

Carl-Zeiss-Str. 15 28857 Syke
Tara Starter-Set_BA_88079_08/2021























